Запчасти Komatsu 530-1 КОМПРЕССОР И КРЕПЛЕНИЕ(№-) РАМА И ЧАСТИ КОРПУСА

Схема запчастей Komatsu 530-1 - КОМПРЕССОР И КРЕПЛЕНИЕ(№-) РАМА И ЧАСТИ КОРПУСА
FIT
1:1
100%

Артикул

Название

Примечание

Количество

|1

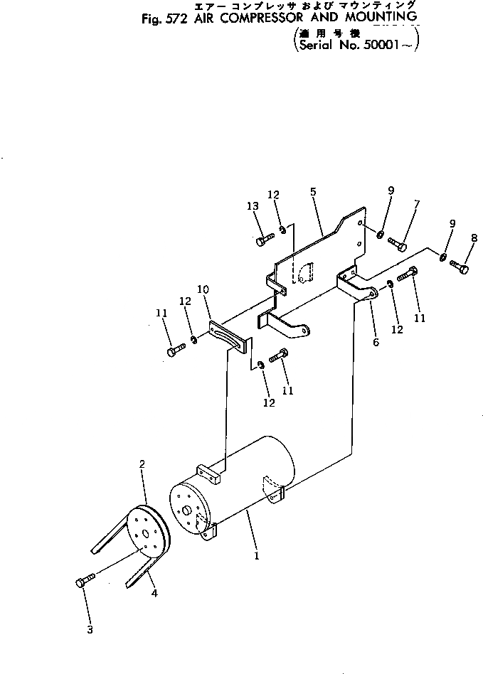
385-10425221

AIR CONDITIONER A.

SN: 50001-UP

1шт.

1

385-10416911

COMPRESSOR ASS'Y

SN: 50001-UP

1шт.

2

6136-31-1490

PULLEY

SN: 50001-UP

1шт.

3

01010-31260

BOLT

SN: 50001-UP

6шт.

4

04120-21739

V-BELT

SN: 50001-UP

1шт.

5

385-10425401

BRACKET

SN: 50001-UP

1шт.

6

385-10425411

SUPPORT

SN: 50001-UP

1шт.

7

01010-31050

BOLT

SN: 50001-UP

2шт.

8

01010-51030

BOLT

SN: 50001-UP

2шт.

9

01643-31032

WASHER

SN: 50001-UP

4шт.

10

385-10425421

PLATE

SN: 50001-UP

1шт.

11

01010-51030

BOLT

SN: 50001-UP

8шт.

12

01602-21030

WASHER

SN: 50001-UP

9шт.

13

01010-50895

BOLT

SN: 50001-UP

2шт.

Выбрано товаров: 0