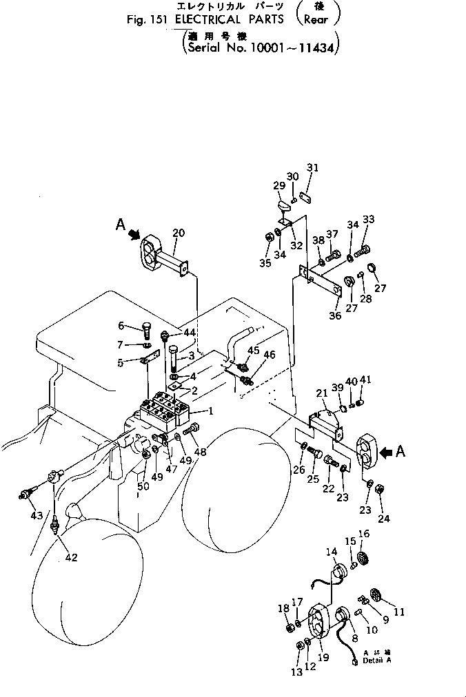
Запчасти Komatsu 530-1 ЭЛЕКТРИКА (ЗАДН.)(№-) КОМПОНЕНТЫ ДВИГАТЕЛЯ И ЭЛЕКТРИКА

Схема запчастей Komatsu 530-1 - ЭЛЕКТРИКА (ЗАДН.)(№-) КОМПОНЕНТЫ ДВИГАТЕЛЯ И ЭЛЕКТРИКА
FIT
1:1
100%

Артикул

Название

Примечание

Количество

1

08000-31215

BATTERY (145F51)

SN: 10001-@

2шт.

2

385-10122531

SUPPORT

SN: 10001-@

2шт.

3

382-020059-1

BOLT

SN: 10001-@

2шт.

4

382-025553-1

WASHER

SN: 10001-@

2шт.

5

385-10122521

ANGLE

SN: 10001-11434

1шт.

6

382-024840-1

BOLT

SN: 10001-11434

2шт.

7

382-025544-1

WASHER

SN: 10001-11434

2шт.

8

385-10051701

LAMP,COMBINATION

SN: 10001-11434

2шт.

9

385-10051711

BULB¤ 6W

SN: 10001-@

2шт.

10

08105-12420

BULB¤ 25W

SN: 10001-@

1шт.

11

385-10051721

LENS

SN: 10001-@

1шт.

12

384-0115707

WASHER

SN: 10001-@

3шт.

13

384-0120361

NUT

SN: 10001-@

3шт.

14

385-10071541

LAMP,TURN SIGNAL

SN: 10001-@

2шт.

15

08105-12420

BULB¤ 25W

SN: 10001-11434

1шт.

16

385-10071551

LENS

SN: 10001-11434

1шт.

17

384-0115707

WASHER

SN: 10001-11434

3шт.

18

382-026303-1

NUT

SN: 10001-11434

3шт.

19

385-10072161

BOX

SN: 10757-11434

2шт.

|19

0

BOX

SN: 10001-10756

2шт.

20

385-10104711

SUPPORT,R.H.

SN: 10001-@

1шт.

21

385-10104732

SUPPORT,L.H.

SN: 11435-@

1шт.

|21

0

SUPPORT,L.H.

SN: 10001-11434

1шт.

22

382-024860-1

BOLT

SN: 10001-@

8шт.

23

382-025536-1

WASHER

SN: 10001-@

16шт.

24

382-025526-1

NUT

SN: 10001-@

8шт.

25

382-024861-1

BOLT

SN: 10001-@

8шт.

26

382-025536-1

WASHER

SN: 10001-@

8шт.

27

380-888143-3

LAMP,WORKING

SN: 10001-@

2шт.

28

08113-02480

BULB¤ 80W

SN: 10001-@

1шт.

29

381-970605-2

LAMP,REVERSE

SN: 10001-@

1шт.

30

08105-12420

BULB¤ 25W

SN: 10001-@

1шт.

31

381-97641-1

LENS

SN: 10001-@

1шт.

32

385-10104751

SUPPORT

SN: 10001-11434

1шт.

33

382-024839-1

BOLT

SN: 10001-11434

2шт.

34

382-025534-1

WASHER

SN: 10001-11434

4шт.

35

382-025522-1

NUT

SN: 10001-11434

2шт.

36

385-10104761

PLATE

SN: 10001-11434

1шт.

37

382-024840-1

BOLT

SN: 10013-@

4шт.

|37

0

BOLT

SN: 10001-10012

4шт.

38

382-025553-1

WASHER

SN: 10013-@

4шт.

|38

0

WASHER

SN: 10001-10012

4шт.

39

381-981393-1

LAMP,NUMBER

SN: 10001-@

1шт.

40

08110-12410

BULB¤ 12W

SN: 10001-@ 11434

1шт.

41

381-976943-1

LENS

SN: 10001-@ 11434

1шт.

42

385-10224411

SWITCH,TORQUE CONVERTER

SN: 10877-@

1шт.

|42

385-11015841

SWITCH,TORQUE CONVERTER

SN: 10001-10876

1шт.

43

385-11015831

SENDER,TORQUE CONVERTER

SN: 10001-11434

1шт.

44

08073-00505

SWITCH

SN: 10001-@

1шт.

45

385-10224401

SWITCH,THERMO

SN: 10877-@

1шт.

|45

385-11228131

SWITCH,THERMO

SN: 10001-10876

1шт.

46

381-121756-2

SENDER,ENGINE WATER

SN: 10684-11434

1шт.

|46

0

SENDER,ENGINE WATER

SN: 10001-10683

1шт.

47

08088-10000

SWITCH,BATTERY RELAY

SN: 10001-@

1шт.

48

382-025528-1

NUT

SN: 10001-@

2шт.

49

382-025533-1

WASHER

SN: 10001-@

4шт.

50

382-025520-1

NUT

SN: 10001-@

2шт.

Выбрано товаров: 0