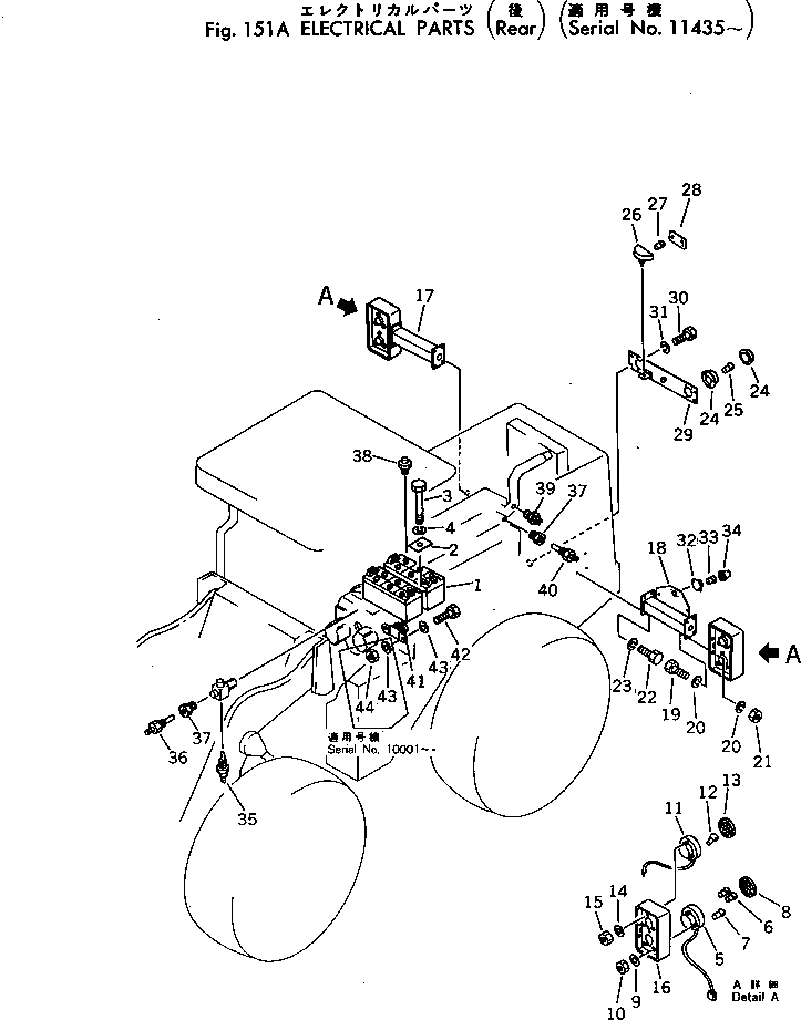
Запчасти Komatsu 530-1 ЭЛЕКТРИКА (ЗАДН.)(№-) КОМПОНЕНТЫ ДВИГАТЕЛЯ И ЭЛЕКТРИКА

Схема запчастей Komatsu 530-1 - ЭЛЕКТРИКА (ЗАДН.)(№-) КОМПОНЕНТЫ ДВИГАТЕЛЯ И ЭЛЕКТРИКА
FIT
1:1
100%

Артикул

Название

Примечание

Количество

1

08000-31215

BATTERY (145F51)

SN: 10001-UP

2шт.

2

385-10122531

SUPPORT

SN: 10001-UP

2шт.

3

382-020059-1

BOLT

SN: 10001-UP

2шт.

4

382-025553-1

WASHER

SN: 10001-UP

2шт.

5

385-10254811

LAMP,COMBINATION

SN: 11435-UP

2шт.

6

385-10051711

BULB¤ 6W

SN: 10001-UP

2шт.

7

08105-12420

BULB¤ 25W

SN: 10001-UP

1шт.

8

385-10051721

LENS

SN: 10001-UP

1шт.

9

384-0115707

WASHER

SN: 10001-UP

3шт.

10

384-0120361

NUT

SN: 10001-UP

3шт.

11

385-10071541

LAMP,TURN SIGNAL

SN: 10001-UP

2шт.

12

08105-12420

BULB¤ 25W

SN: 10001-UP

1шт.

13

385-10071551

LENS

SN: 10001-UP

1шт.

14

384-0115707

WASHER

SN: 10001-UP

3шт.

15

382-026303-1

NUT

SN: 10001-UP

3шт.

16

385-10347761

BOX,L.H.

SN: 11435-UP

1шт.

|16

385-10347771

BOX,R.H.

SN: 11435-UP

1шт.

17

385-10104711

SUPPORT,R.H.

SN: 10001-UP

1шт.

18

385-10104732

SUPPORT,L.H.

SN: 11435-UP

1шт.

19

382-024860-1

BOLT

SN: 10001-UP

8шт.

20

382-025536-1

WASHER

SN: 10001-UP

16шт.

21

382-025526-1

NUT

SN: 10001-UP

8шт.

22

382-024861-1

BOLT

SN: 10001-UP

8шт.

23

382-025536-1

WASHER

SN: 10001-UP

8шт.

24

380-888143-3

LAMP,WORKING

SN: 10001-UP

2шт.

25

08113-02480

BULB¤ 80W

SN: 10001-UP

1шт.

26

381-970605-2

LAMP,REVERSE

SN: 10001-UP

1шт.

27

08105-12420

BULB¤ 25W

SN: 10001-UP

1шт.

28

381-976941-1

LENS

SN: 10001-UP

1шт.

29

385-10319441

PLATE

SN: 11435-UP

1шт.

30

382-024840-1

BOLT

SN: 10013-UP

4шт.

31

382-025553-1

WASHER

SN: 10013-UP

4шт.

32

381-981393-1

LAMP,NUMBER

SN: 10001-UP

1шт.

33

08110-12410

BULB¤ 12W

SN: 10001-UP

1шт.

34

381-976943-1

LENS

SN: 10001-UP

1шт.

35

385-10224411

SWITCH,TORQUE CONVERTER

SN: 10877-UP

1шт.

36

385-10051642

SENSOR,TORQUE CONVERTER

SN: 11435-UP

1шт.

37

380-885320-2

ADAPTER

SN: 11435-UP

2шт.

38

08073-00505

SWITCH

SN: 10001-UP

1шт.

39

385-10224401

SWITCH,THERMO

SN: 10877-UP

1шт.

40

385-10051642

SENSOR,ENGINE WATER

SN: 11435-UP

1шт.

41

08088-10000

SWITCH,BATTERY RELAY

SN: 10001-UP

1шт.

42

382-025228-1

NUT

SN: 10001-UP

2шт.

43

382-025533-1

WASHER

SN: .-UP

2шт.

|43

382-025533-1

WASHER

SN: 10001-.

4шт.

44

382-025520-1

NUT

SN: 10001-.

2шт.

Выбрано товаров: 46