Запчасти Komatsu 530-1 OPEN ROPS (/) (ЗАЩИТН. В СБОРЕ)(№-) ОПЦИОННЫЕ КОМПОНЕНТЫ

Схема запчастей Komatsu 530-1 - OPEN ROPS (/) (ЗАЩИТН. В СБОРЕ)(№-) ОПЦИОННЫЕ КОМПОНЕНТЫ
FIT
1:1
100%

Артикул

Название

Примечание

Количество

|1

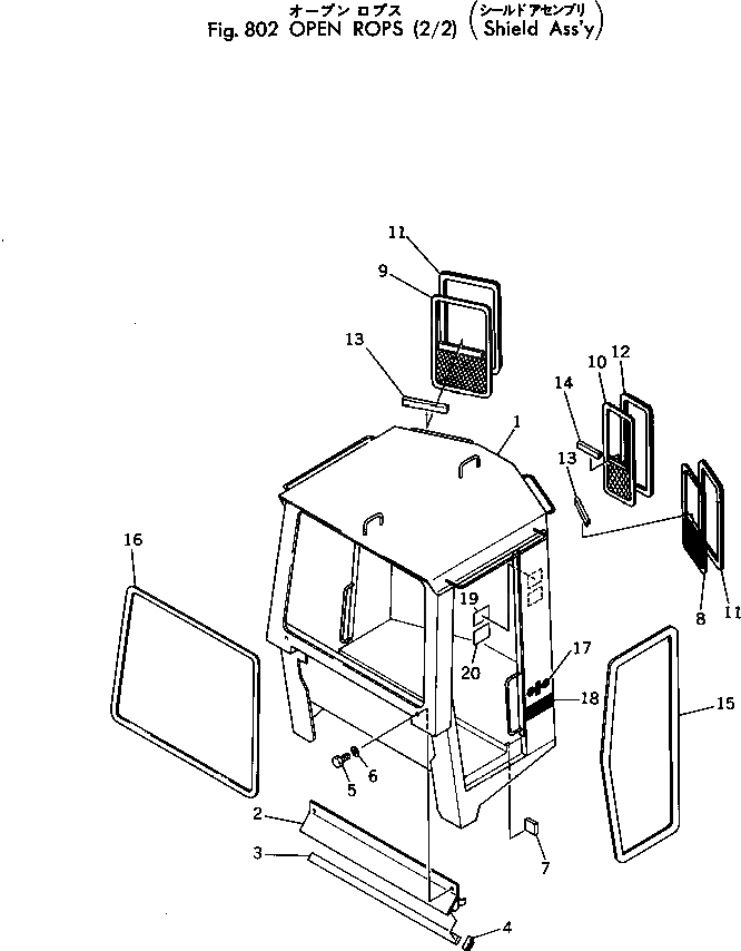
385-10210351

ROPS CAB KIT

SN: 10001-UP

1шт.

1

385-10210021

SHIELD ASS'Y

SN: 10001-UP

1шт.

2

385-10209851

SUPPORT ASS'Y

SN: 10001-UP

1шт.

3

385-11222171

STRIP

SN: 10001-UP

1шт.

4

385-10209861

STRIP

SN: 10001-UP

1шт.

5

382-024839-1

BOLT

SN: .-UP

2шт.

|5

0

BOLT

SN: 10001-.

2шт.

6

382-025534-1

WASHER

SN: 10001-UP

2шт.

7

385-11210431

PAD

SN: 10001-UP

2шт.

8

385-10204651

PROTECTOR,L.H.

SN: 10001-UP

1шт.

9

385-10204661

PROTECTOR,R.H.

SN: 10001-UP

1шт.

10

385-10204671

PROTECTOR,CENTER

SN: 10001-UP

1шт.

11

385-10204751

STRIP

SN: 10001-UP

1шт.

12

385-10204741

STRIP

SN: 10001-UP

1шт.

13

385-11223711

SEAL

SN: 10001-UP

2шт.

14

385-11223721

SEAL

SN: 10001-UP

1шт.

15

385-11223701

SEAL

SN: 10001-UP

2шт.

16

385-11223681

SEAL

SN: 10001-UP

1шт.

17

381-987437-1

PLATE¤ MARK,KOMATSU

SN: 10001-UP

2шт.

18

385-11210771

PLATE¤ STRIPE,BLACK

SN: 10001-UP

4шт.

19

385-10177431

PLATE¤ CAUTION,WARNING

SN: 10001-UP

1шт.

20

385-11050131

PLATE¤ CAUTION,ENGINE IDLING

SN: 10001-UP

1шт.

Выбрано товаров: 22