Запчасти Komatsu 530-1 ТОПЛИВН. БАК.(№-) КОМПОНЕНТЫ ДВИГАТЕЛЯ И ЭЛЕКТРИКА

Схема запчастей Komatsu 530-1 - ТОПЛИВН. БАК.(№-) КОМПОНЕНТЫ ДВИГАТЕЛЯ И ЭЛЕКТРИКА
FIT
1:1
100%

Артикул

Название

Примечание

Количество

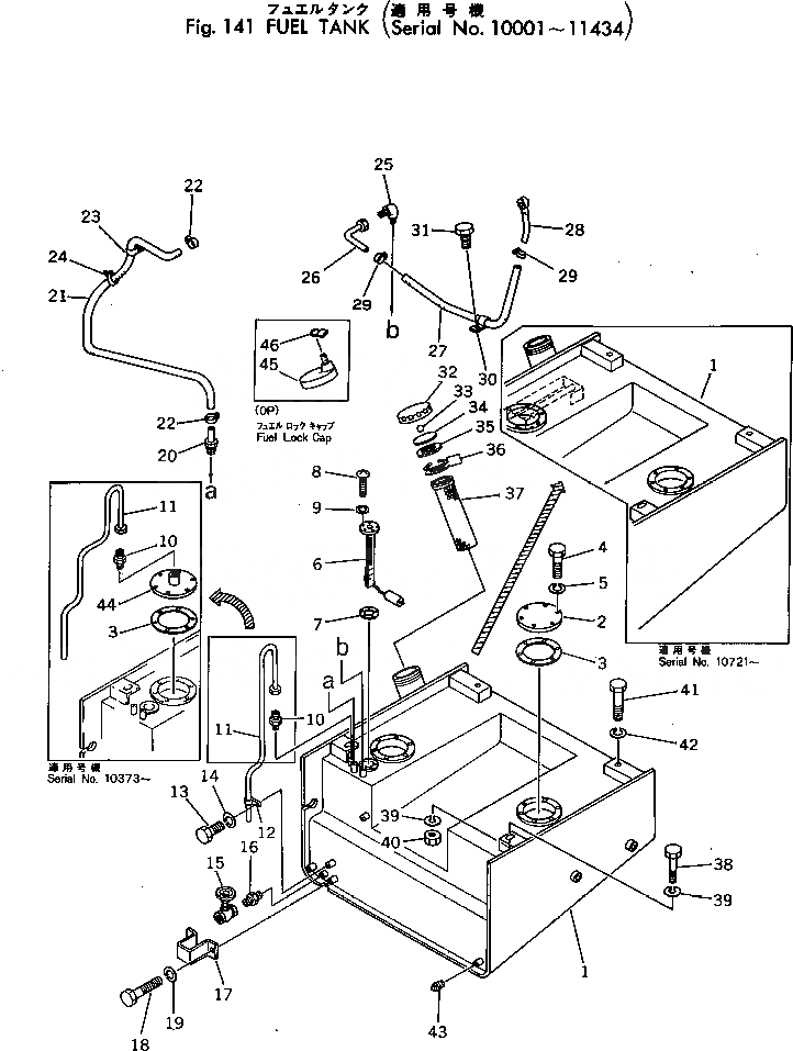
1

385-10242291

TANK,FUEL

SN: 10721-11434

1шт.

|1

385-10234241

TANK,FUEL

SN: 10373-10720

1шт.

|1

385-10122041

TANK,FUEL

SN: 10001-10372

1шт.

2

381-986021-4

COVER

SN: 10373-@

1шт.

|2

381-986021-4

COVER

SN: .-10372

2шт.

|2

0

COVER

SN: 10001-.

2шт.

3

381-986022-2

GASKET

SN: 10001-@

2шт.

4

382-024840-1

BOLT

SN: 10001-@

12шт.

5

382-025544-1

WASHER

SN: 10001-@

12шт.

6

385-10329061

SENDER,FUEL LEVEL

SN: 11249-11434

1шт.

|6

385-11015883

SENDER,FUEL LEVEL

SN: 11105-11248

1шт.

|6

0

SENDER,FUEL LEVEL

SN: 10961-11104

1шт.

|6

0

SENDER,FUEL LEVEL

SN: 10001-10960

1шт.

7

385-10191931

GASKET

SN: 10241-@

1шт.

|7

0

GASKET

SN: 10001-10240

1шт.

8

384-0132908

SCREW

SN: 10001-@

5шт.

9

384-0120391

WASHER

SN: 10001-@

5шт.

10

381-610082-1

ADAPTER

SN: 10373-@

1шт.

|10

384-9402708

CONNECTOR

SN: 10001-10372

1шт.

11

385-10234121

TUBE

SN: 10373-@

1шт.

|11

385-11204771

TUBE

SN: 10001-10372

1шт.

12

382-972555-1

CLAMP

SN: 10001-@

1шт.

13

382-024838-1

BOLT

SN: 10001-@

1шт.

14

382-025534-1

WASHER

SN: 10001-@

1шт.

15

385-10051741

VALVE

SN: 10001-11434

1шт.

16

385-10015421

CONNECTOR

SN: 10001-11434

1шт.

17

385-10003651

COVER

SN: 10001-@

1шт.

18

382-024840-1

BOLT

SN: 10001-@

2шт.

19

382-025534-1

WASHER

SN: 10001-@

2шт.

20

385-10160822

ADAPTER

SN: 10085-@

1шт.

|20

0

ELBOW

SN: 10001-10084

1шт.

21

385-10160811

HOSE

SN: 10001-@

1шт.

22

07281-00137

CLAMP

SN: 10001-@

2шт.

23

381-360713-1

CLAMP

SN: 10011-@

1шт.

|23

0

CLIP

SN: 10001-10010

1шт.

24

381-976197-1

STRAP

SN: 10001-@

1шт.

25

384-9402864

ELBOW

SN: 10001-@

1шт.

26

385-10076601

TUBE

SN: 10001-@

1шт.

27

380-885922-1

HOSE

SN: 10001-@

1шт.

28

380-890209-1

TUBE

SN: 10001-@

1шт.

29

382-274085-1

CLAMP

SN: 10001-@

2шт.

30

381-299566-1

CLAMP

SN: 10001-@

1шт.

31

382-024838-1

BOLT

SN: 10001-@

1шт.

|32

385-11037681

CAP ASS'Y

SN: 10001-@

1шт.

32

381-988178-1

CAP

SN: 10001-@

1шт.

33

382-017012-1

BALL

SN: 10001-@

1шт.

34

381-618689-1

PLATE

SN: 10001-@

1шт.

35

381-618688-1

GASKET

SN: 10001-@

1шт.

36

382-629841-1

RING

SN: 10001-@

2шт.

37

381-944442-1

FILTER

SN: 10001-@

1шт.

38

382-024877-1

BOLT

SN: 10001-@

2шт.

39

382-025556-1

WASHER

SN: 10001-@

4шт.

40

384-9412231

NUT

SN: 10817-@

2шт.

|40

0

NUT

SN: 10001-10816

2шт.

41

382-024874-1

BOLT

SN: 10001-@

2шт.

42

382-025556-1

WASHER

SN: 10001-@

2шт.

43

382-020972-1

PLUG

SN: 10001-11434

1шт.

44

385-10087281

COVER

SN: 10373-@

1шт.

|45

385-10385061

CAP (OP)

SN: 10001-@

1шт.

45

385-10089551

CAP (OP)

SN: 10001-@

1шт.

46

09460-00000

LOCK (OP)

SN: 10001-@

1шт.

Выбрано товаров: 61