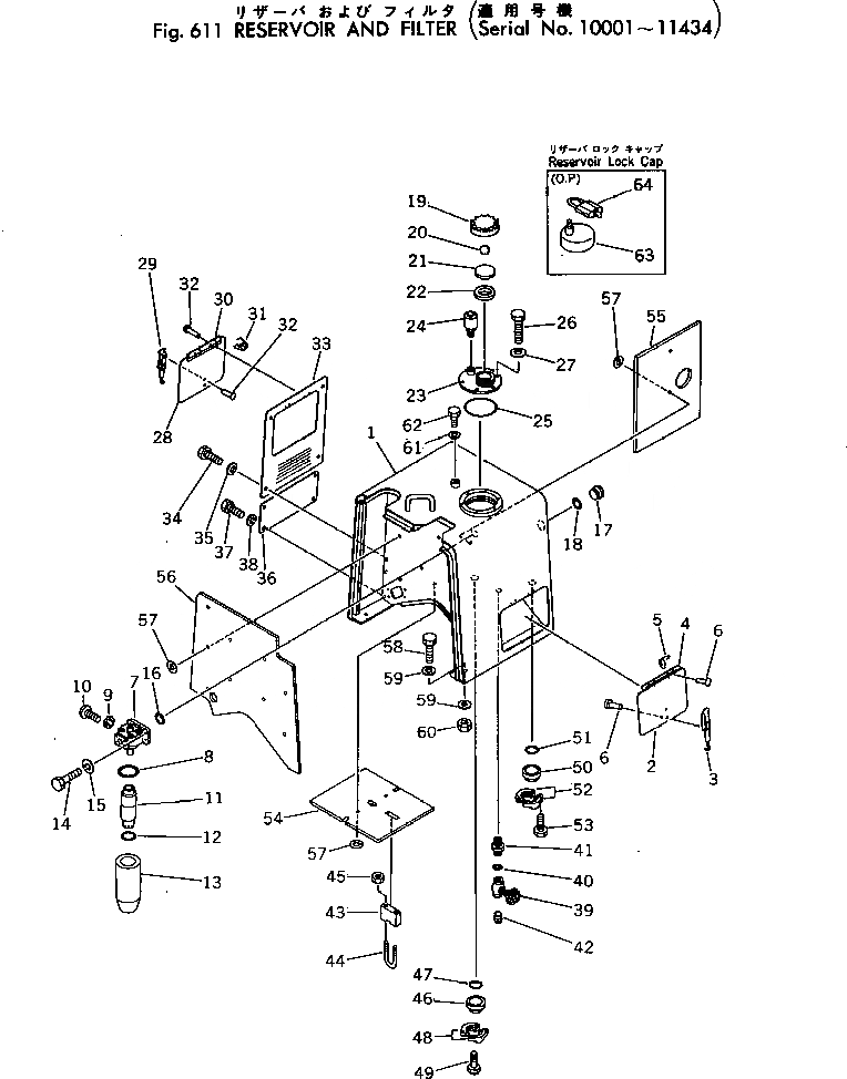
Запчасти Komatsu 530B-1 РЕЗЕРВУАР И ФИЛЬТР.(№-) УПРАВЛ-Е РАБОЧИМ ОБОРУДОВАНИЕМ

Схема запчастей Komatsu 530B-1 - РЕЗЕРВУАР И ФИЛЬТР.(№-) УПРАВЛ-Е РАБОЧИМ ОБОРУДОВАНИЕМ
FIT
1:1
100%

Артикул

Название

Примечание

Количество

1

385-10103095

PANEL ASS'Y

SN: 11081-11434

1шт.

|1

0

PANEL ASS'Y

SN: 10310-11080

1шт.

|1

0

PANEL ASS'Y

SN: 10181-10300

1шт.

|1

0

PANEL ASS'Y

SN: 10037-10180

1шт.

|1

0

PANEL ASS'Y

SN: 10001-10036

1шт.

2

385-11014502

PANEL

SN: 10001-11434

1шт.

3

380-142433-1

LATCH

SN: 10001-11434

1шт.

4

385-11016012

HINGE

SN: 10001-@

1шт.

5

381-925997-1

SPRING

SN: 10001-@

2шт.

6

384-0102676

RIVET

SN: 10697-11434

6шт.

|6

384-0102676

RIVET

SN: 10001-10696

10шт.

|7

385-11024952

FILTER ASS'Y

SN: 10001-11434

1шт.

7

385-11053401

HEAD ASS'Y

SN: 10001-11434

1шт.

8

381-940388-1

O-RING

SN: 10001-@

1шт.

9

385-11097061

INDICATOR

SN: 10001-11434

1шт.

10

381-940179-2

SCREW

SN: 10001-11434

2шт.

11

385-11053422

CAGE ASS'Y

SN: 10001-@

1шт.

12

381-876077-1

O-RING

SN: 10001-@

1шт.

13

385-11066432

ELEMENT

SN: 10001-@

1шт.

14

380-140483H

BOLT

SN: 10001-@

4шт.

15

382-025534-1

WASHER

SN: 10001-@

4шт.

16

381-876074-1

O-RING

SN: 10001-@

1шт.

17

381-933022-1

GAUGE

SN: 10001-@

1шт.

18

382-384942-1

O-RING

SN: 10001-@

1шт.

|19

385-11037681

CAP ASS'Y

SN: 10001-@

1шт.

19

381-988178-1

CAP

SN: 10001-@

1шт.

20

382-017012-1

BALL

SN: .-@

1шт.

|20

0

BALL

SN: 10001-.

1шт.

21

381-618689-1

PLATE

SN: 10001-@

1шт.

22

381-618688-1

GASKET

SN: 10001-@

1шт.

23

381-937608-2

NECK

SN: 10001-@

1шт.

24

381-985272-1

BREATHER

SN: 10001-@

1шт.

25

382-022401-1

O-RING

SN: 10001-@

1шт.

26

382-024840-1

BOLT

SN: 10001-@

6шт.

27

382-025534-1

WASHER

SN: 10001-@

6шт.

|28

385-10155361

DOOR ASS'Y

SN: 10001-11434

1шт.

28

385-10155381

PANEL

SN: 10001-11434

1шт.

29

380-142433-1

LATCH

SN: 10001-11434

1шт.

30

385-11016012

HINGE

SN: 10001-11434

1шт.

31

381-925997-1

SPRING

SN: 10001-11434

1шт.

32

384-0102676

RIVET

SN: 10001-11434

10шт.

33

0

DOOR

SN: 10001-11434

1шт.

34

382-024840-1

BOLT

SN: 10001-11434

5шт.

35

382-025544-1

WASHER

SN: 10001-11434

5шт.

36

385-10155341

COVER

SN: 10001-@

1шт.

37

382-024840-1

BOLT

SN: 10001-@

4шт.

38

382-025544-1

WASHER

SN: 10001-@

4шт.

39

385-10051171

VALVE

SN: 10001-@

1шт.

40

381-876108-1

O-RING

SN: 10001-11434

1шт.

41

384-9402711

CONNECTOR

SN: 10001-11434

1шт.

42

382-020969-1

PLUG

SN: 10001-@

1шт.

43

385-11061571

STRIP

SN: 10001-@

1шт.

44

385-11061561

U-BOLT

SN: 10001-@

1шт.

45

384-9413979

NUT

SN: 10001-@

2шт.

46

381-603517-1

FLANGE

SN: 10001-@

1шт.

47

381-939747-1

O-RING

SN: 10001-@

1шт.

48

381-877949-2

FLANGE

SN: 10001-@

2шт.

49

382-024840-1

BOLT

SN: 10001-@

4шт.

50

381-656658-1

PLUG

SN: 10001-@

1шт.

51

381-876072-1

O-RING

SN: 10001-@

1шт.

52

382-290045-1

FLANGE

SN: 10001-@

2шт.

53

382-024849-1

BOLT

SN: 10001-@

4шт.

54

385-11055782

SHEET

SN: 10001-10696

1шт.

55

385-11055791

SHEET

SN: 10001-@

1шт.

56

385-10123542

SHEET

SN: .-10696

1шт.

|56

0

SHEET

SN: 10001-.

1шт.

57

381-932532-1

NUT

SN: 10697-@

2шт.

|57

381-932532-1

NUT

SN: 10001-10696

13шт.

58

382-024865-1

BOLT

SN: 10001-@

4шт.

59

382-025555-1

WASHER

SN: 10001-@

8шт.

60

384-9412230

NUT

SN: 10001-@

4шт.

61

382-025538-1

WASHER

SN: 10026-@

1шт.

62

382-024884-1

BOLT

SN: 10026-@

1шт.

|63

385-10385061

CAP

SN: 10001-@

1шт.

63

385-10089551

CAP

SN: 10001-@

1шт.

64

09460-00000

LOCK

SN: 10001-@

1шт.

Выбрано товаров: 76