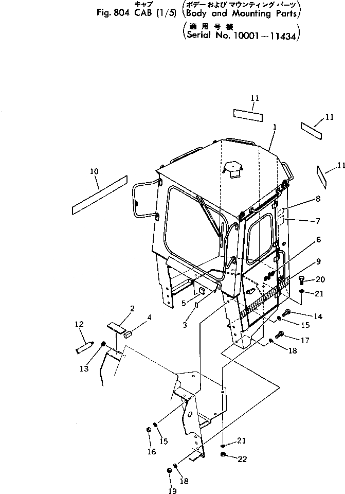
Запчасти Komatsu 530B-1 КАБИНА (/) (КУЗОВ И ЭЛЕМЕНТЫ КРЕПЛЕНИЯ)(№-) ОПЦИОННЫЕ КОМПОНЕНТЫ

Схема запчастей Komatsu 530B-1 - КАБИНА (/) (КУЗОВ И ЭЛЕМЕНТЫ КРЕПЛЕНИЯ)(№-) ОПЦИОННЫЕ КОМПОНЕНТЫ
FIT
1:1
100%

Артикул

Название

Примечание

Количество

|1

385-10194521

CAB KIT

SN: 10001-11434

1шт.

1

385-10216051

CAB ASS'Y

SN: 10001-11434

1шт.

2

385-10217701

SEAL

SN: 10001-11434

2шт.

3

385-10217711

SEAL

SN: 10001-11434

2шт.

4

385-10217721

SEAL

SN: 10001-11434

2шт.

5

385-10217731

RUBBER

SN: 10001-11434

2шт.

6

381-987437-1

PLATE¤ MARK,KOMATSU

SN: 10001-11434

2шт.

7

385-10177431

PLATE¤ CAUTION,WARNING

SN: 10001-11434

1шт.

8

385-11050131

PLATE¤ CAUTION,ENGINE IDLING

SN: 10001-11434

1шт.

9

385-11210791

PLATE¤ STRIPE

SN: 10001-11434

1шт.

10

385-11210751

PLATE¤ STRIPE

SN: 10001-11434

1шт.

11

385-11210771

PLATE¤ STRIPE

SN: 10001-11434

3шт.

12

385-10150771

ADHESIVE

SN: 10001-11434

1шт.

13

08037-01008

GROMMET

SN: 10001-11434

1шт.

14

382-025741-1

BOLT

SN: 10001-11434

4шт.

15

382-025540-1

WASHER

SN: 10001-11434

6шт.

16

382-025531-1

NUT

SN: 10001-11434

4шт.

17

382-024890-1

BOLT

SN: 10001-11434

6шт.

18

382-025557-1

WASHER

SN: 10001-11434

12шт.

19

382-025529-1

NUT

SN: 10001-11434

6шт.

20

380-140483H

BOLT

SN: 10001-11434

9шт.

21

382-025553-1

WASHER

SN: 10001-11434

18шт.

22

382-025522-1

NUT

SN: 10001-11434

9шт.

Выбрано товаров: 23