Запчасти Komatsu 530B-1 МНОГОЦЕЛЕВ. КОВШ (/) (КОВШ POSITION ИНДИКАТОР)(№-) ОПЦИОННЫЕ КОМПОНЕНТЫ

Схема запчастей Komatsu 530B-1 - МНОГОЦЕЛЕВ. КОВШ (/) (КОВШ POSITION ИНДИКАТОР)(№-) ОПЦИОННЫЕ КОМПОНЕНТЫ
FIT
1:1
100%

Артикул

Название

Примечание

Количество

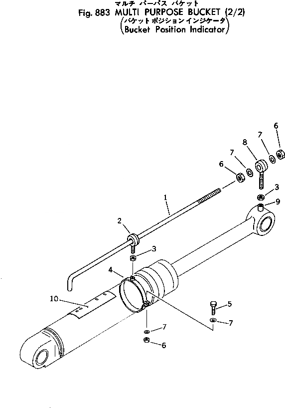
|1

385-10222361

BUCKET KIT

SN: 10001-UP

1шт.

|1

385-10222381

INDICATOR KIT

SN: 10001-UP

1шт.

1

381-602241-1

ROD

SN: 10001-UP

1шт.

2

382-285150-1

BOLT

SN: 10001-UP

1шт.

3

382-025922-1

NUT

SN: 10001-UP

2шт.

4

385-10222391

CLAMP

SN: 10001-UP

1шт.

5

382-024841-1

BOLT

SN: 10001-UP

1шт.

6

382-024841-1

BOLT

SN: 10001-UP

1шт.

7

382-025544-1

WASHER

SN: 10001-UP

4шт.

8

380-157359-2

END

SN: 10001-UP

1шт.

9

385-1022411

BOSS

SN: 10001-UP

1шт.

10

385-1022421

PLATE,INDICATOR

SN: 10001-UP

1шт.

Выбрано товаров: 12