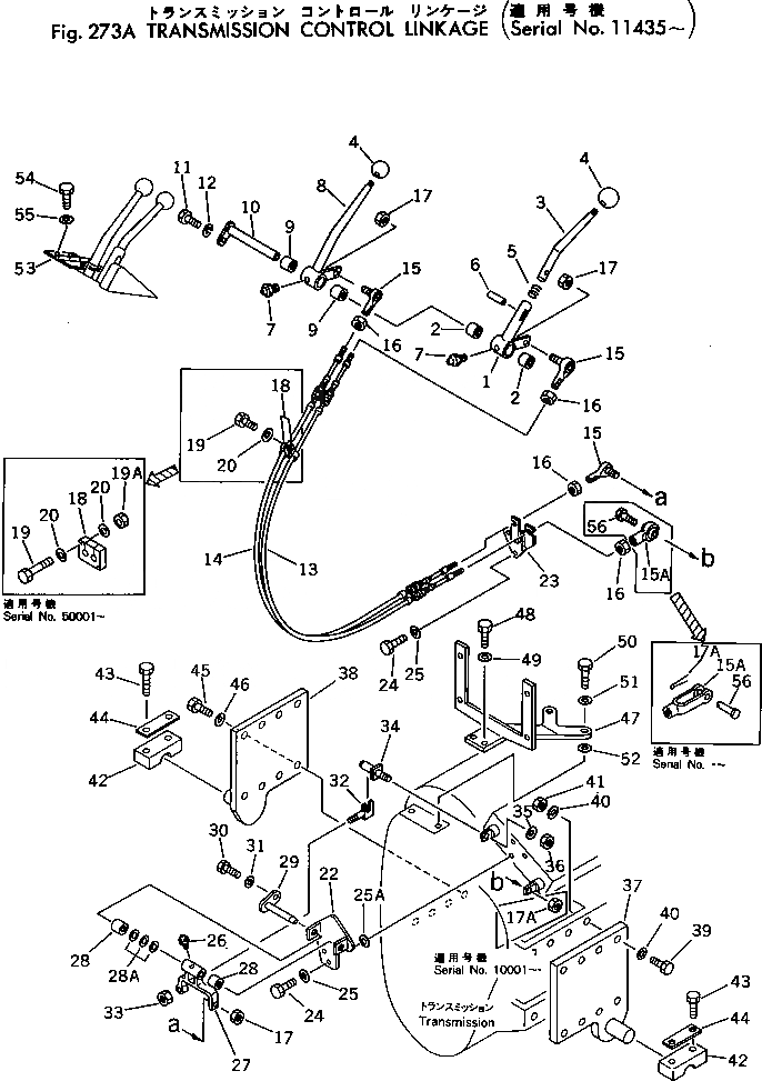
Запчасти Komatsu 530B-1 УПРАВЛ-Е ТРАНСМИССИЕЙ МЕХАНИЗМ(№-) ТРАНСМИССИЯ

Схема запчастей Komatsu 530B-1 - УПРАВЛ-Е ТРАНСМИССИЕЙ МЕХАНИЗМ(№-) ТРАНСМИССИЯ
FIT
1:1
100%

Артикул

Название

Примечание

Количество

|1

385-10104591

BELLCRANK ASS'Y

SN: 10001-UP

1шт.

1

385-10104601

BELLCRANK

SN: 10001-UP

1шт.

2

381-621050-1

BEARING

SN: 10001-UP

2шт.

3

385-10104611

LEVER

SN: 10001-UP

1шт.

4

381-923134-1

KNOB

SN: 10001-UP

2шт.

5

380-885118-3

SPRING

SN: 10001-UP

1шт.

6

380-153964-1

PIN

SN: 10001-UP

1шт.

7

380-118492-1

FITTING

SN: 10001-UP

2шт.

|8

385-10315691

LEVER ASS'Y,FORWARD AND REVERSE

SN: 11435-UP

1шт.

8

385-10315681

LEVER

SN: 11435-UP

1шт.

9

381-621050-1

BEARING

SN: 10001-UP

2шт.

10

385-11014592

PIN

SN: 10001-UP

1шт.

11

382-024839-1

BOLT

SN: 10001-UP

1шт.

12

382-025553-1

WASHER

SN: 10001-UP

1шт.

13

385-10407491

CABLE

SN: 50001-UP

1шт.

|13

385-10191941

CABLE

SN: 10001-49999

1шт.

14

385-10407502

CABLE

SN: .-UP

1шт.

|14

0

CABLE

SN: 50001-.

1шт.

|14

385-10104662

CABLE

SN: 10001-49999

1шт.

15

385-10199691

END

SN: 11435-UP

3шт.

15A

385-11276271

YOKE

SN: .-UP

1шт.

|15A

381-514358-1

END

SN: 10001-.

1шт.

16

382-025521-1

NUT

SN: 11435-UP

4шт.

17

382-027036-1

NUT

SN: 11435-UP

3шт.

17A

384-0103372

PIN

SN: .-UP

1шт.

|17A

384-9413977

NUT

SN: 10001-.

1шт.

18

385-10442522

PAD

SN: .-UP

1шт.

|18

0

PAD

SN: 50001-.

1шт.

|18

380-164944-1

CLAMP

SN: 10001-49999

2шт.

19

380-140483H

BOLT

SN: 50001-UP

2шт.

|19

380-140483H

BOLT

SN: 10001-49999

1шт.

19A

384-9413979

NUT

SN: 50001-UP

2шт.

20

382-025534-1

WASHER

SN: 50001-UP

4шт.

|20

382-025544-1

WASHER

SN: 10001-49999

1шт.

22

385-10348791

SUPPORT

SN: 11435-UP

1шт.

23

385-10349302

SUPPORT

SN: .-UP

1шт.

|23

0

SUPPORT

SN: 11435-.

1шт.

24

382-024841-1

BOLT

SN: 11435-UP

5шт.

25

382-025534-1

WASHER

SN: 11435-UP

5шт.

25A

385-11106431

WASHER

SN: 11435-UP

2шт.

26

384-0126152

FITTING

SN: 11435-UP

1шт.

27

385-10349061

LEVER ASS'Y

SN: 11435-UP

1шт.

28

381-621050-1

BEARING

SN: 11435-UP

2шт.

28A

381-970459-1

SHIM

SN: 10001-UP

3шт.

29

385-11225391

SHAFT

SN: 11435-UP

1шт.

30

382-024839-1

BOLT

SN: 11435-UP

1шт.

31

382-025553-1

WASHER

SN: 11435-UP

1шт.

32

385-10391211

YOKE

SN: 11435-UP

1шт.

|32

0

YOKE

SN: (11435-11591)

1шт.

33

381-989580-1

NUT

SN: 11435-UP

1шт.

34

385-10349411

PIN

SN: 11435-UP

1шт.

35

382-025532-1

WASHER

SN: 11435-UP

1шт.

36

382-025519-1

NUT

SN: 11435-UP

1шт.

37

381-894930-1

SUPPORT,L.H.

SN: 10001-UP

1шт.

38

381-894931-1

SUPPORT,R.H.

SN: 10001-UP

1шт.

39

382-024803-1

BOLT

SN: 11273-UP

7шт.

|39

382-024866-1

BOLT

SN: 10001-11272

7шт.

40

382-025546-1

WASHER

SN: 11273-UP

7шт.

|40

382-025546-1

WASHER

SN: 10001-UP

16шт.

41

384-9412230

NUT

SN: 10001-11272

7шт.

42

380-216618-1

BLOCK

SN: 10001-UP

2шт.

43

382-080290-1

BOLT

SN: 10001-UP

4шт.

44

381-970458-1

WASHER

SN: 10001-UP

2шт.

45

382-024863-1

BOLT

SN: 10001-UP

8шт.

46

382-025546-1

WASHER

SN: 10001-UP

8шт.

47

381-933144-1

SUPPORT

SN: 10001-UP

1шт.

48

382-024862-1

BOLT

SN: 10001-UP

2шт.

49

382-025546-1

WASHER

SN: 10001-UP

2шт.

50

382-024862-1

BOLT

SN: 10001-UP

2шт.

51

382-025546-1

WASHER

SN: 10001-UP

2шт.

52

382-025536-1

WASHER

SN: 10001-UP

2шт.

53

385-10209871

HINGE

SN: 10001-UP

1шт.

54

382-025522-1

NUT

SN: 10001-UP

2шт.

55

382-025542-1

WASHER

SN: 10001-UP

2шт.

56

382-023840-1

PIN

SN: .-UP

1шт.

|56

382-025751-1

BOLT

SN: 10001-.

1шт.

Выбрано товаров: 0