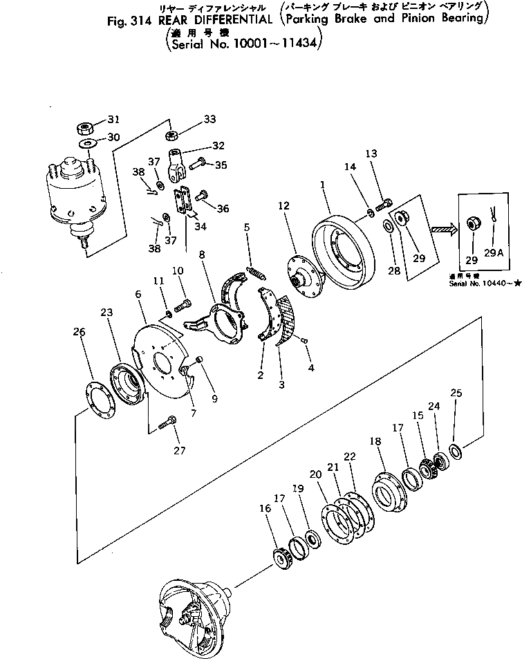
Запчасти Komatsu 530B-1 ЗАДНИЙ ДИФФЕРЕНЦИАЛ (СТОЯНОЧНЫЙ ТОРМОЗ И ШЕСТЕРНЯ ПОДШИПНИК)(№-) ПРИВОДВАЛ¤ ДИФФЕРЕНЦ. И КОЛЕСА

Схема запчастей Komatsu 530B-1 - ЗАДНИЙ ДИФФЕРЕНЦИАЛ (СТОЯНОЧНЫЙ ТОРМОЗ И ШЕСТЕРНЯ ПОДШИПНИК)(№-) ПРИВОДВАЛ¤ ДИФФЕРЕНЦ. И КОЛЕСА
FIT
1:1
100%

Артикул

Название

Примечание

Количество

|1

385-10081571

REAR AXLE ASS'Y

SN: 10001-11434

1шт.

|1

385-10169032

DIFFERENTIAL ASS'Y

SN: 11309-11434

1шт.

|1

0

DIFFERENTIAL ASS'Y

SN: 10001-11308

1шт.

|1

380-215146-1

BRAKE ASS'Y,PARKING

SN: 10001-11434

1шт.

1

380-141126-1

DRUM

SN: 10001-11434

1шт.

|2

381-981816-1

BRAKE ASS'Y

SN: 10001-11434

1шт.

|2

380-141131-1

LINING ASS'Y,SHOE

SN: 10001-11434

2шт.

2

0

SHOE

SN: 10001-11434

1шт.

3

0

LINING (KIT)

SN: 10001-11434

1шт.

4

380-162557-1

RIVET (KIT)

SN: 10001-11434

28шт.

5

382-136376-1

SPRING

SN: 10001-11434

2шт.

6

380-215147-1

PLATE ASS'Y

SN: 10001-11434

1шт.

7

380-173929-1

RIVET KIT (KIT)

SN: 10001-11434

1шт.

8

380-141127-1

LEVER

SN: 10001-11434

1шт.

9

382-138109-1

ROLLER

SN: 10001-11434

1шт.

|10

385-10169042

CARRIER ASS'Y

SN: 11309-11434

1шт.

|10

0

CARRIER ASS'Y

SN: 10001-11308

1шт.

10

382-024853-1

BOLT

SN: 10001-11434

6шт.

11

382-025535-1

WASHER

SN: 10001-11434

6шт.

12

385-11104721

YOKE

SN: 10001-11434

1шт.

13

382-025771-1

BOLT

SN: 10001-11434

8шт.

14

382-025534-1

WASHER

SN: 10001-11434

8шт.

|15

380-137217-1

BEARING ASS'Y

SN: 10001-@

1шт.

15

380-890174-1

CONE,OUTER

SN: 10001-@

1шт.

16

380-890176-1

CONE,INNER

SN: 10001-@

1шт.

|17

380-890436-1

CAGE ASS'Y

SN: 10001-@

1шт.

17

380-890175-1

CUP

SN: 10001-@

2шт.

18

0

CAGE

SN: 10001-@

1шт.

19

380-127067-1

SPACER¤ 5.56MM

SN: 10001-@

-2шт.

|19

380-127068-1

SPACER¤ 5.59MM

SN: 10001-@

-2шт.

|19

380-127069-1

SPACER¤ 5.61MM

SN: 10001-@

-2шт.

|19

380-127070-1

SPACER¤ 5.64MM

SN: 10001-@

-2шт.

|19

380-127071-1

SPACER¤ 5.66MM

SN: 10001-@

-2шт.

|19

380-127072-1

SPACER¤ 5.69MM

SN: 10001-@

-2шт.

|19

380-127073-1

SPACER¤ 5.84MM

SN: 10001-@

-2шт.

|19

380-127074-1

SPACER¤ 5.99MM

SN: 10001-@

-2шт.

|19

380-127075-1

SPACER¤ 6.15MM

SN: 10001-@

-2шт.

|19

380-127076-1

SPACER¤ 6.30MM

SN: 10001-@

-2шт.

|19

380-127077-1

SPACER¤ 6.45MM

SN: 10001-@

-2шт.

20

380-127250-1

SHIM¤ 0.05MM

SN: 10001-@

1шт.

21

380-136784-1

SHIM¤ 0.2MM

SN: 10001-@

2шт.

22

380-127251-1

SHIM¤ 0.1MM

SN: 10001-@

3шт.

|23

381-986045-1

COVER ASS'Y

SN: 10001-@

1шт.

23

0

COVER

SN: 10001-@

1шт.

24

385-10179751

SEAL

SN: 10001-@

1шт.

25

381-986035-1

SEAL

SN: 10001-@

1шт.

26

380-127078-1

GASKET

SN: 10001-@

1шт.

27

382-024851-1

BOLT

SN: 10001-@

2шт.

28

380-127079-1

WASHER

SN: 10001-@

1шт.

29

380-104078-1

NUT

SN: 10517-@

1шт.

|29

0

NUT

SN: 10001-10516

1шт.

|$$52

(380-104078-1{384-0103388)}

-1шт.

29A

384-0103388

PIN

SN: 10517-@

1шт.

30

382-025556-1

WASHER

SN: 10001-@

2шт.

31

382-025528-1

NUT

SN: 10001-@

2шт.

32

385-10213501

CLEVIS

SN: 10619-@

1шт.

|32

0

CLEVIS

SN: 10001-10618

1шт.

33

382-025950-1

NUT

SN: 10001-@

1шт.

34

385-11223461

BAR

SN: 10001-11434

2шт.

35

382-016617-1

PIN

SN: 10001-@

1шт.

36

382-022320-1

PIN

SN: 10001-@

1шт.

37

382-025534-1

WASHER

SN: 10001-@

2шт.

38

384-0103374

PIN

SN: 10001-@

2шт.

Выбрано товаров: 63