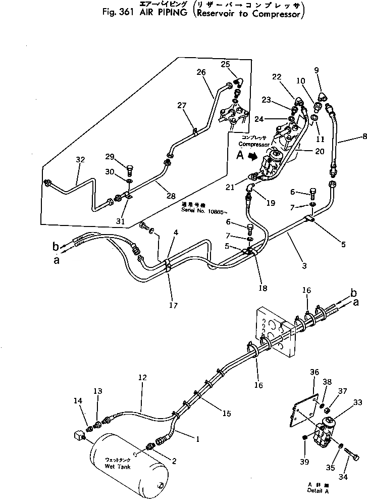
Запчасти Komatsu 530B-1 ВОЗДУХОВОД (РЕЗЕРВУАР - КОМПРЕССОР)(№-) ПРИВОДВАЛ¤ ДИФФЕРЕНЦ. И КОЛЕСА

Схема запчастей Komatsu 530B-1 - ВОЗДУХОВОД (РЕЗЕРВУАР - КОМПРЕССОР)(№-) ПРИВОДВАЛ¤ ДИФФЕРЕНЦ. И КОЛЕСА
FIT
1:1
100%

Артикул

Название

Примечание

Количество

1

385-10404441

HOSE

SN: 50001-UP

1шт.

|1

385-10160741

HOSE

SN: 10001-49999

1шт.

2

384-9402710

CONNECTOR

SN: 10001-UP

1шт.

3

385-10262231

TUBE

SN: 10865-49999

1шт.

|3

385-10122311

TUBE

SN: 10001-10864

1шт.

4

381-299615-1

CLAMP

SN: 10001-UP

1шт.

5

382-129083-1

CLAMP

SN: 10001-UP

2шт.

6

382-024839-1

BOLT

SN: 10001-UP

2шт.

|6

382-024839-1

BOLT

SN: 10865-UP

1шт.

7

382-025534-1

WASHER

SN: 10001-UP

2шт.

8

385-10160732

HOSE

SN: 10001-10864

1шт.

9

384-9402866

ELBOW

SN: 10865-49999

1шт.

|9

380-175081-1

ELBOW

SN: 10001-10864

1шт.

10

381-898700-1

ADAPTER

SN: 10001-UP

1шт.

11

381-897433-1

GASKET

SN: 10001-UP

1шт.

12

385-10404461

HOSE

SN: 50001-UP

1шт.

|12

385-10215601

HOSE

SN: 10001-49999

1шт.

13

380-889156-1

ADAPTER

SN: 10001-UP

1шт.

14

380-117378-1

BUSHING

SN: 10001-UP

1шт.

15

381-935522-1

STRAP

SN: .-UP

5шт.

|15

0

STRAP

SN: 10001-.

5шт.

16

381-976197-1

STRAP

SN: 10001-UP

5шт.

17

381-299407-1

CLAMP

SN: 10001-UP

1шт.

18

381-299614-1

CLAMP

SN: 10001-UP

1шт.

19

381-897689-1

ELBOW

SN: 10001-UP

1шт.

20

385-10215611

HOSE

SN: 10001-UP

1шт.

21

381-897689-1

ELBOW

SN: 10001-UP

1шт.

22

381-897689-1

ELBOW

SN: 10001-UP

1шт.

23

385-10122281

CONNECTOR

SN: 10001-UP

1шт.

24

381-897294-1

WASHER

SN: 10001-UP

1шт.

25

384-9402866

ELBOW

SN: 10865-UP

1шт.

26

385-10262221

TUBE

SN: 10865-UP

1шт.

27

381-299615-1

CLAMP

SN: 10865-UP

1шт.

28

381-982839-1

HOSE

SN: 10865-UP

1шт.

29

382-024839-1

BOLT

SN: 10865-UP

1шт.

30

382-025534-1

WASHER

SN: 10865-UP

1шт.

31

381-299416-1

CLAMP

SN: 10865-UP

1шт.

32

385-10262231

TUBE

SN: 10865-UP

1шт.

33

381-971936-2

GOVERNOR ASS'Y

SN: 10865-UP

1шт.

34

382-025236-1

BOLT

SN: 10865-UP

2шт.

35

382-025533-1

WASHER

SN: 10865-UP

2шт.

36

385-10122291

BRACKET

SN: 10865-UP

1шт.

37

01580-00806

NUT

SN: 10865-UP

2шт.

38

382-025533-1

WASHER

SN: 10865-UP

2шт.

39

384-0444687

PLUG

SN: 10865-UP

2шт.

Выбрано товаров: 45