Запчасти Komatsu 530B-1 ПОЛ И ПЛАТФОРМА(№-) РАМА И ЧАСТИ КОРПУСА

Схема запчастей Komatsu 530B-1 - ПОЛ И ПЛАТФОРМА(№-) РАМА И ЧАСТИ КОРПУСА
FIT
1:1
100%

Артикул

Название

Примечание

Количество

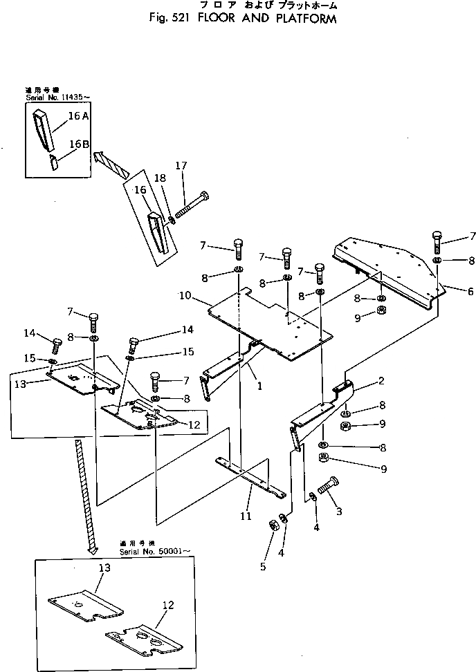
1

385-10440611

SUPPORT,R.H.

SN: 50001-UP

1шт.

|1

381-944147-1

SUPPORT,R.H.

SN: 10001-49999

1шт.

2

381-944146-1

SUPPORT,L.H.

SN: 10001-UP

1шт.

3

382-024876-1

BOLT

SN: 10001-UP

4шт.

4

382-025556-1

WASHER

SN: 10001-UP

8шт.

5

384-9212231

NUT

SN: 10001-UP

4шт.

6

385-10442451

PLATFORM

SN: 50001-UP

1шт.

|6

381-944269-2

PLATFORM

SN: 10001-49999

1шт.

7

380-140483H

BOLT

SN: 10001-UP

13шт.

8

382-025553-1

WASHER

SN: 10001-UP

20шт.

9

382-025522-1

NUT

SN: 10001-UP

7шт.

10

385-10425263

PLATE,REAR

SN: 50001-UP

1шт.

|10

385-10319901

PLATE,REAR

SN: 11435-49999

1шт.

|10

385-10105971

PLATE,REAR

SN: 10001-11434

1шт.

11

385-10319891

SUPPORT

SN: 11435-UP

1шт.

|11

381-899541-1

SUPPORT

SN: 10001-11434

1шт.

12

385-10442471

PLATE ASS'Y,FLOOR

SN: 50001-UP

1шт.

|12

385-10317771

PLATE ASS'Y,FLOOR

SN: 11435-49999

1шт.

|12

385-10314141

PLATE ASS'Y,FLOOR

SN: 11165-11434

1шт.

|12

0

PLATE ASS'Y,FLOOR

SN: 10433-11164

1шт.

|12

0

PLATE ASS'Y,FLOOR

SN: 10011-10432

1шт.

|12

0

PLATE ASS'Y,FLOOR

SN: 10001-10010

1шт.

13

385-10442492

PLATE,FLOOR

SN: 50001-UP

1шт.

|13

385-10108002

PLATE,FLOOR

SN: 10829-49999

1шт.

|13

0

PLATE,FLOOR

SN: 10001-10828

1шт.

14

382-024863-1

BOLT

SN: 10001-UP

4шт.

15

382-025555-1

WASHER

SN: 10001-UP

4шт.

16

385-10380461

PROTECTOR ASS'Y

SN: 11435-UP

1шт.

|16

381-875902-1

PROTECTOR ASS'Y

SN: 10001-11434

1шт.

16A

385-10350471

PROTECTOR

SN: 11435-UP

1шт.

16B

385-10380471

SHEET

SN: 11435-UP

1шт.

17

382-025480-1

BOLT

SN: 10001-UP

2шт.

18

382-025542-1

WASHER

SN: 10001-UP

2шт.

Выбрано товаров: 33