Запчасти Komatsu 540-1 СТРЕЛА ПОЗИЦИОНЕР(№79-) УПРАВЛ-Е РАБОЧИМ ОБОРУДОВАНИЕМ

Схема запчастей Komatsu 540-1 - СТРЕЛА ПОЗИЦИОНЕР(№79-) УПРАВЛ-Е РАБОЧИМ ОБОРУДОВАНИЕМ
FIT
1:1
100%

Артикул

Название

Примечание

Количество

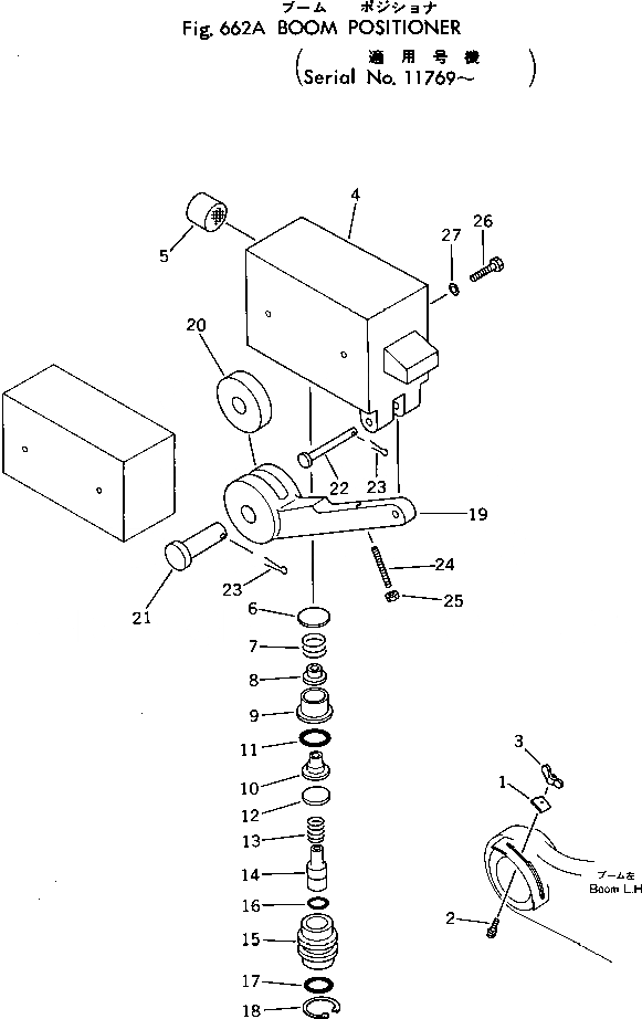
1

381-934113-1

SUPPORT

SN: 10001-UP

1шт.

2

382-598796-1

BOLT

SN: 10001-UP

1шт.

3

384-0126177

NUT

SN: 10001-UP

1шт.

|4

385-10391171

VALVE ASS'Y

SN: 11769-UP

1шт.

4

0

BODY

SN: 11769-UP

1шт.

5

385-10361201

STRAINER

SN: 11769-UP

1шт.

6

385-10361271

VALVE ASS'Y,SUPPLY

SN: 11769-UP

1шт.

6

0

SPRING

SN: 11769-UP

1шт.

7

0

VALVE

SN: 11769-UP

1шт.

8

0

VALVE

SN: 11769-UP

1шт.

9

0

SPACER

SN: 11769-UP

1шт.

10

385-10361211

SEAT,INLET

SN: 11769-UP

1шт.

11

385-10361281

O-RING

SN: 11769-UP

1шт.

12

385-10361311

GUIDE

SN: 11769-UP

1шт.

13

385-10361221

SPRING

SN: 11768-UP

1шт.

14

385-10361231

PLUNGER

SN: 11769-UP

1шт.

15

385-10361241

GUIDE

SN: 11769-UP

1шт.

16

385-10361291

O-RING

SN: 11769-UP

1шт.

17

385-10361301

O-RING

SN: 11769-UP

1шт.

18

385-10361251

RING

SN: 11769-UP

1шт.

19

385-10391181

LEVER

SN: 11769-UP

1шт.

20

385-10337301

ROLLER

SN: 11769-UP

11шт.

21

385-10337281

PIN

SN: 11769-UP

1шт.

22

385-10337271

PIN

SN: 11769-UP

1шт.

23

385-10337311

PIN

SN: 11769-UP

2шт.

24

385-10391201

SCREW

SN: 11769-UP

1шт.

25

385-10391191

NUT

SN: 11769-UP

1шт.

26

382-025491-1

BOLT

SN: 10001-UP

2шт.

27

382-025532-1

WASHER

SN: 10001-UP

2шт.

Выбрано товаров: 29