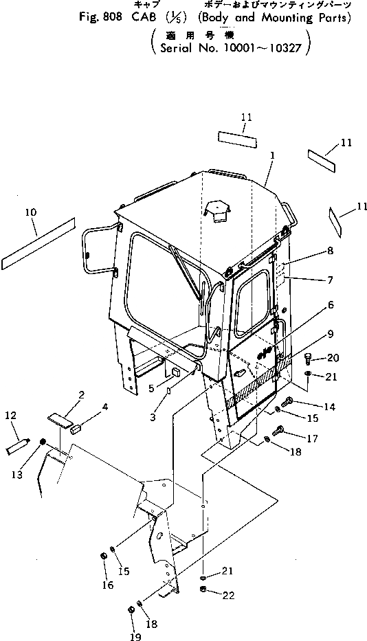
Запчасти Komatsu 540-1 КАБИНА (/) (КУЗОВ И ЭЛЕМЕНТЫ КРЕПЛЕНИЯ)(№-7) ОПЦИОННЫЕ КОМПОНЕНТЫ

Схема запчастей Komatsu 540-1 - КАБИНА (/) (КУЗОВ И ЭЛЕМЕНТЫ КРЕПЛЕНИЯ)(№-7) ОПЦИОННЫЕ КОМПОНЕНТЫ
FIT
1:1
100%

Артикул

Название

Примечание

Количество

|1

385-10236561

CAB KIT

SN: 10001-10327

1шт.

|1

385-10236731

CAB ASS'Y

SN: 10001-10327

1шт.

1

0

..CAB

SN: 10001-10327

1шт.

2

385-10217701

..SEAL

SN: 10001-10327

2шт.

3

385-10217711

..SEAL

SN: 10001-10327

2шт.

4

385-10217721

..SEAL

SN: 10001-10327

2шт.

5

385-10217731

..RUBBER

SN: 10001-10327

2шт.

6

381-987437-1

..PLATE¤ MARK,KOMATSU

SN: 10001-10327

2шт.

7

385-10177431

..PLATE¤ CAUTION

SN: 10001-10327

1шт.

8

385-11050131

..PLATE¤ CAUTION

SN: 10001-10327

1шт.

9

385-11210791

..PLATE¤ STRIPE

SN: 10001-10327

1шт.

10

385-11210751

..PLATE¤ STRIPE

SN: 10001-10327

1шт.

11

385-11210771

..PLATE¤ STRIPE

SN: 10001-10327

3шт.

12

385-10150771

.ADHESIVE

SN: 10001-10327

1шт.

13

08037-01008

.GROMMET

SN: 10001-10327

1шт.

14

382-025741-1

.BOLT

SN: 10001-10327

4шт.

15

380-025540-1

.WASHER

SN: 10001-10327

6шт.

16

382-025531-1

.NUT

SN: 10001-10327

4шт.

17

382-024890-1

.BOLT

SN: 10001-10327

6шт.

18

382-025557-1

.WASHER

SN: 10001-10327

12шт.

19

382-025529-1

.NUT

SN: 10001-10327

6шт.

20

380-140483H

.BOLT

SN: 10001-10327

9шт.

21

382-025553-1

.WASHER

SN: 10001-10327

18шт.

22

382-025522-1

.NUT

SN: 10001-10327

9шт.

Выбрано товаров: 24