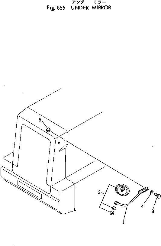
Запчасти Komatsu 540-1 НИЖН. ЗЕРКАЛО(№-) ОПЦИОННЫЕ КОМПОНЕНТЫ

Схема запчастей Komatsu 540-1 - НИЖН. ЗЕРКАЛО(№-) ОПЦИОННЫЕ КОМПОНЕНТЫ
FIT
1:1
100%

Артикул

Название

Примечание

Количество

1

385-10311461

STAY

SN: 10001-UP

1шт.

2

385-10313261

MIRROR

SN: 10001-UP

1шт.

3

382-024840-1

BOLT

SN: 10001-UP

2шт.

4

382-025544-1

WASHER

SN: 10001-UP

2шт.

5

381-981447-1

NUT (WELDED)

SN: 10001-UP

2шт.

Выбрано товаров: 5