Запчасти Komatsu 540-1 СОЕДИНИТ. УСТР-ВО С ГИДРОЛИНИЯ (/) (MAIL МАЧТАER)(№-) ОПЦИОННЫЕ КОМПОНЕНТЫ

Схема запчастей Komatsu 540-1 - СОЕДИНИТ. УСТР-ВО С ГИДРОЛИНИЯ (/) (MAIL МАЧТАER)(№-) ОПЦИОННЫЕ КОМПОНЕНТЫ
FIT
1:1
100%

Артикул

Название

Примечание

Количество

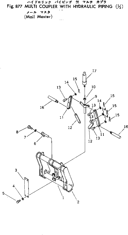
|1

385-10287051

MULTI COUPLER KIT,WITH HYDRAULIC PIPING

SN: 10001-UP

1шт.

|1

385-10287061

MAIL MASTER ASS'Y

SN: 10001-UP

1шт.

1

385-10286841

FRAME ASS'Y,MOUNT

SN: 10001-UP

1шт.

2

385-10286901

PLATE

SN: 10001-UP

4шт.

3

385-10287561

PLATE

SN: 10001-UP

1шт.

4

382-024860-1

BOLT

SN: 10001-UP

4шт.

5

382-025555-1

WASHER

SN: 10001-UP

4шт.

6

385-10287531

PIN

SN: 10001-UP

1шт.

7

381-932278-1

WASHER

SN: 10001-UP

1шт.

8

382-024859-1

BOLT

SN: 10001-UP

1шт.

9

385-10189851

YOKE

SN: 10001-UP

1шт.

10

385-10210841

NUT

SN: 10001-UP

1шт.

11

385-10213841

LINK,MAIN

SN: 10001-UP

2шт.

12

385-10189891

LINK,SUB

SN: 10001-UP

2шт.

13

385-10213861

PIN

SN: 10001-UP

8шт.

14

382-025538-1

WASHER

SN: 10001-UP

8шт.

15

384-0103397

PIN

SN: 10001-UP

8шт.

16

385-10232571

PIN

SN: 10001-UP

2шт.

17

385-10202951

LOCK CYLINDER A.

SN: 10001-UP

1шт.

Выбрано товаров: 19