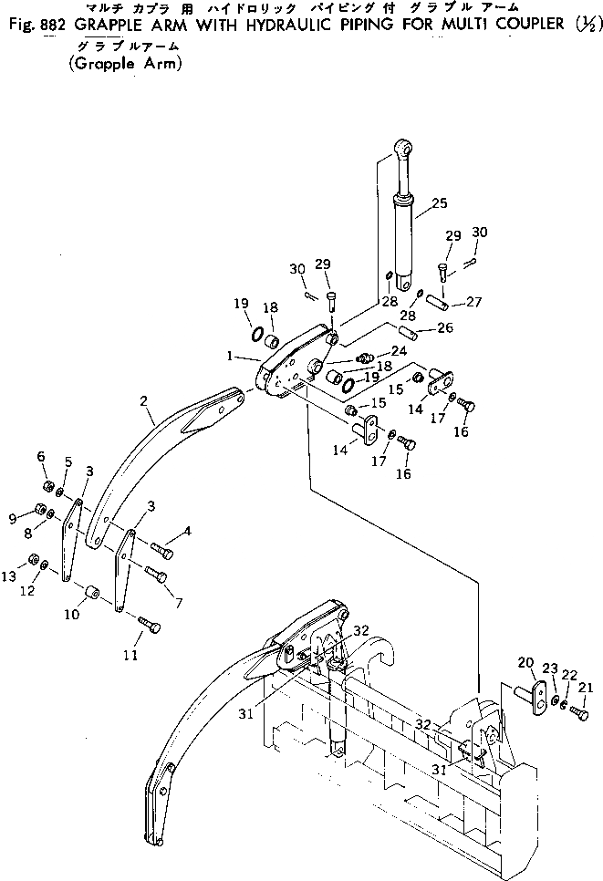
Запчасти Komatsu 540-1 ЗАХВАТ РУКОЯТЬ (ДЛЯ СОЕДИНИТ. УСТР-ВО) (/)(№-) ОПЦИОННЫЕ КОМПОНЕНТЫ

Схема запчастей Komatsu 540-1 - ЗАХВАТ РУКОЯТЬ (ДЛЯ СОЕДИНИТ. УСТР-ВО) (/)(№-) ОПЦИОННЫЕ КОМПОНЕНТЫ
FIT
1:1
100%

Артикул

Название

Примечание

Количество

|1

385-10302101

GRAPPLE ARM KIT,(FOR MULTI COUPLER)

SN: 10001-UP

1шт.

1

381-971063-1

ARM

SN: 10001-UP

2шт.

2

381-971064-1

ARM

SN: 10001-UP

2шт.

3

381-971062-1

HOLDER,EXTENSION

SN: 10001-UP

4шт.

4

382-024896-1

BOLT

SN: 10001-UP

2шт.

5

382-025557-1

WASHER

SN: 10001-UP

2шт.

6

382-025529-1

NUT

SN: 10001-UP

2шт.

7

382-026720-1

BOLT

SN: 10001-UP

2шт.

8

382-025556-1

WASHER

SN: 10001-UP

2шт.

9

382-025531-1

NUT

SN: 10001-UP

2шт.

10

381-970875-1

SPACER

SN: 10001-UP

2шт.

11

382-024869-1

BOLT

SN: 10001-UP

2шт.

12

382-025555-1

WASHER

SN: 10001-UP

2шт.

13

382-025526-1

NUT

SN: 10001-UP

2шт.

14

381-898223-2

PIN

SN: 10001-UP

4шт.

15

380-144062-1

SPACER

SN: 10001-UP

4шт.

16

382-025809-1

BOLT

SN: 10001-UP

4шт.

17

381-932278-1

WASHER

SN: 10001-UP

4шт.

18

380-172195-1

BUSHING

SN: 10001-UP

4шт.

19

380-199934-1

RING

SN: 10001-UP

4шт.

20

381-970701-1

PIN

SN: 10001-UP

2шт.

21

382-025851-1

BOLT

SN: 10001-UP

2шт.

22

384-0131140

WASHER

SN: 10001-UP

2шт.

23

382-025556-1

WASHER

SN: 10001-UP

2шт.

24

384-0109461

FITTING

SN: 10001-UP

2шт.

25

381-983359-2

CYLINDER ASS'Y

SN: 10001-UP

2шт.

26

380-889614-1

PIN

SN: 10001-UP

2шт.

27

381-970989-2

PIN

SN: 10001-UP

2шт.

28

380-160529-1

RING

SN: 10001-UP

4шт.

29

380-215860-1

PIN

SN: 10001-UP

4шт.

30

380-0108630

PIN

SN: 10001-UP

4шт.

31

380-N03713-1

PLATE (WELDED)

SN: 10001-UP

2шт.

32

380-N03714-1

PLATE (WELDED)

SN: 10001-UP

2шт.

Выбрано товаров: 33