Запчасти Komatsu 540-1 ЧАСТИ ДЛЯ ROAD REGULATION(№-) ОПЦИОННЫЕ КОМПОНЕНТЫ

Схема запчастей Komatsu 540-1 - ЧАСТИ ДЛЯ ROAD REGULATION(№-) ОПЦИОННЫЕ КОМПОНЕНТЫ
FIT
1:1
100%

Артикул

Название

Примечание

Количество

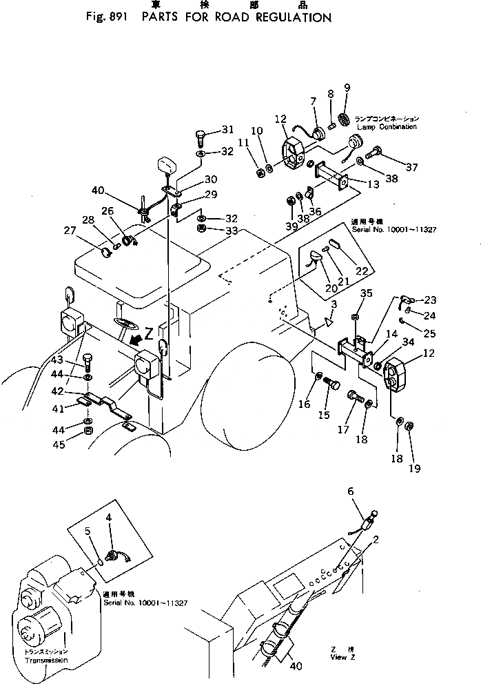
1

385-10242301

PARTS KIT,VEHICLE INSPECTION

SN: 10001-UP

1шт.

2

385-10211791

PLATE¤ CAUTION

SN: 10001-UP

1шт.

3

381-897895-1

PLATE¤ MARK

SN: 10001-UP

1шт.

4

385-10210442

SWITCH,BACK LAMP

SN: .-11327

1шт.

|4

0

SWITCH,BACK LAMP

SN: 10001-.

1шт.

5

07002-01623

O-RING

SN: 10001-11327

1шт.

6

08061-30050

SWITCH,PARKING LAMP

SN: 10001-UP

1шт.

7

385-10071541

LAMP,TURN SIGNAL

SN: 10001-UP

2шт.

8

08105-12420

BULB¤ 25W

SN: 10001-UP

1шт.

9

385-10071551

LENS

SN: 10001-UP

1шт.

10

384-0115707

WASHER

SN: 10001-UP

3шт.

11

382-026303-1

NUT

SN: 10001-UP

3шт.

12

385-10072161

BOX

SN: 10001-UP

2шт.

13

385-10174141

SUPPORT,R.H.

SN: 10001-UP

1шт.

14

385-10174151

SUPPORT,L.H.

SN: 10001-UP

1шт.

15

382-024861-1

BOLT

SN: 10001-UP

8шт.

16

382-025536-1

WASHER

SN: 10001-UP

8шт.

17

382-024860-1

BOLT

SN: 10001-UP

8шт.

18

382-025536-1

WASHER

SN: 10001-UP

16шт.

19

382-025526-1

NUT

SN: 10001-UP

8шт.

20

381-970605-1

LAMP,BACK LAMP

SN: 10001-11327

1шт.

21

08105-12420

BULB¤ 25W

SN: 10001-11327

1шт.

22

381-976941-1

LENS

SN: 10001-11327

1шт.

23

381-981393-1

LAMP,LICENSE

SN: 10001-UP

1шт.

24

08110-12410

BULB¤ 12W

SN: 10001-UP

1шт.

25

381-976943-1

LENS

SN: 10001-UP

1шт.

26

381-981114-2

LAMP,PARKING

SN: 10001-UP

2шт.

27

381-981113-1

LENS

SN: 10001-UP

1шт.

28

08102-02403

BULB¤ 3W

SN: 10001-UP

1шт.

29

381-981117-1

BRACKET

SN: 10001-UP

2шт.

30

381-983063-1

PLATE

SN: 10001-UP

2шт.

31

382-024862-1

BOLT

SN: 10001-UP

2шт.

32

382-025555-1

WASHER

SN: 10001-UP

4шт.

33

382-025526-1

NUT

SN: 10001-UP

2шт.

34

08037-03614

GROMMET

SN: 10001-UP

2шт.

35

08037-01008

GROMMET

SN: 10001-UP

1шт.

36

385-10005701

CLIP

SN: 10001-UP

2шт.

37

382-024839-1

BOLT

SN: 10001-UP

2шт.

38

382-025534-1

WASHER

SN: 10001-UP

4шт.

39

382-025522-1

NUT

SN: 10001-UP

2шт.

40

381-976196-1

STRAP

SN: 10001-UP

4шт.

41

385-10195661

PLATE

SN: 10001-UP

2шт.

42

385-10195671

GUARD

SN: 10001-UP

1шт.

43

382-024863-1

BOLT

SN: 10001-UP

2шт.

44

382-025555-1

WASHER

SN: 10001-UP

4шт.

45

382-025526-1

NUT

SN: 10001-UP

2шт.

Выбрано товаров: 46