Запчасти Komatsu 540-1 ТРАНСМИССИЯ (КОЖУХ И ТРУБКА)(№-) ТРАНСМИССИЯ

Схема запчастей Komatsu 540-1 - ТРАНСМИССИЯ (КОЖУХ И ТРУБКА)(№-) ТРАНСМИССИЯ
FIT
1:1
100%

Артикул

Название

Примечание

Количество

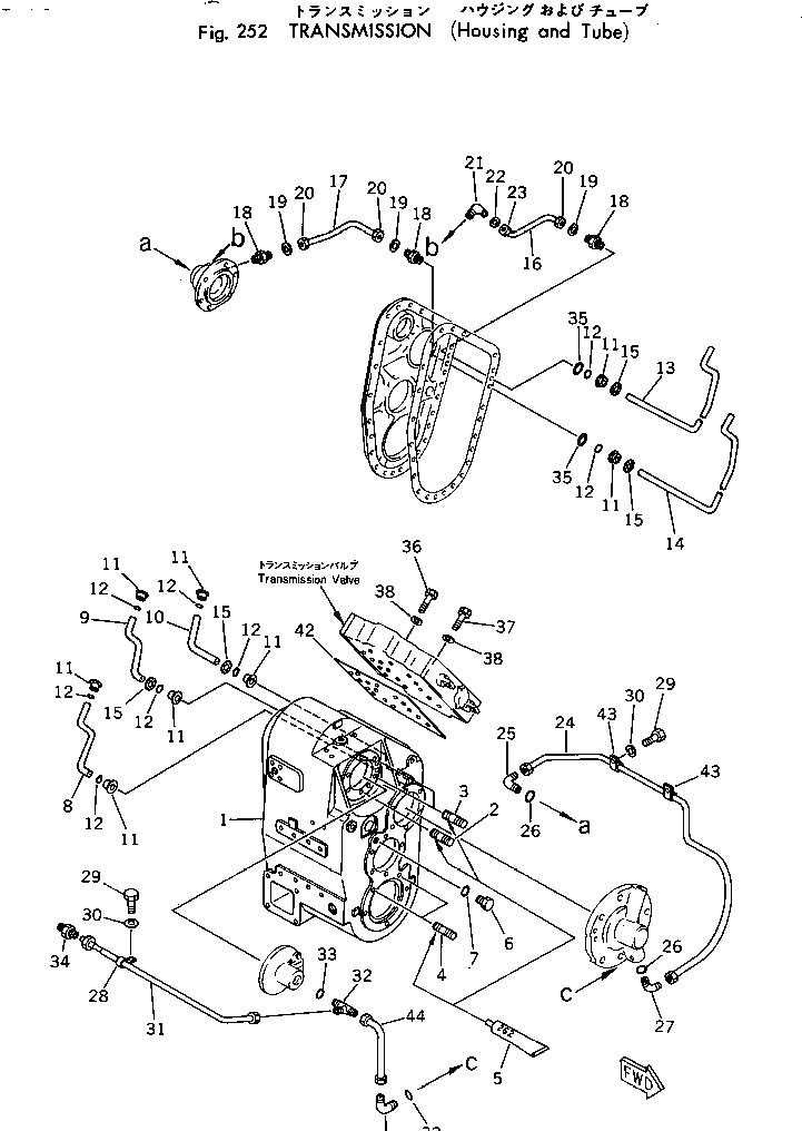
|1

385-10310012

TRANSMISSION ASS'Y

SN: 50030-UP

1шт.

|1

0

TRANSMISSION ASS'Y

SN: 10328-50029

1шт.

|1

385-10235181

TRANSMISSION ASS'Y

SN: 10001-10327

1шт.

|1

385-10315571

HOUSING ASS'Y

SN: 10328-UP

1шт.

|1

385-10235091

HOUSING ASS'Y

SN: 10001-10327

1шт.

2

385-11105832

STUD

SN: 10001-UP

1шт.

3

385-11105821

STUD

SN: 10001-UP

2шт.

4

385-11105811

STUD

SN: 10001-UP

2шт.

5

385-10017861

LOCKTITE¤ 262

SN: 10001-UP

1шт.

6

384-0445090

PLUG

SN: 10001-UP

1шт.

7

385-10106271

WASHER

SN: 10001-UP

1шт.

8

385-11104811

TUBE,REVERSE

SN: 10001-UP

1шт.

9

385-11104791

TUBE,FORWARD

SN: 10001-UP

1шт.

10

385-11104801

TUBE,1ST

SN: 10001-UP

1шт.

|11

380-199158-1

BUSHING ASS'Y

SN: 10001-UP

8шт.

11

380-125509-1

BUSHING

SN: 10001-UP

8шт.

12

382-355967

O-RING

SN: 10001-UP

8шт.

13

385-11104831

TUBE,2ND

SN: 10001-UP

1шт.

14

385-11104821

TUBE,3RD

SN: 10001-UP

1шт.

15

380-146898-1

WASHER

SN: 10001-UP

4шт.

16

385-10078841

TUBE,3RD

SN: 10001-UP

1шт.

17

380-143052-1

TUBE,2ND

SN: 10001-UP

1шт.

|18

380-129553-1

ADAPTER ASS'Y

SN: 10001-UP

3шт.

18

380-885347-1

ADAPTER

SN: 10001-UP

3шт.

19

380-885348-1

SEAL

SN: 10001-UP

3шт.

20

380-885349-1

NUT

SN: 10001-UP

3шт.

|21

380-129554-1

ELBOW ASS'Y

SN: 10001-UP

1шт.

21

380-885351-1

ELBOW

SN: 10001-UP

1шт.

22

380-885348-1

SEAL

SN: 10001-UP

1шт.

23

380-885349-1

NUT

SN: 10001-UP

1шт.

24

385-11105502

TUBE

SN: 10001-UP

1шт.

25

384-9410978

ELBOW

SN: 10001-UP

1шт.

26

382-364885-1

O-RING

SN: 10001-UP

2шт.

27

384-9410878

ELBOW

SN: 10001-UP

1шт.

28

381-299566-1

CLAMP

SN: 10001-UP

1шт.

29

382-024839

BOLT

SN: 10001-UP

3шт.

30

382-025534-1

WASHER

SN: 10001-UP

3шт.

31

385-11104871

TUBE

SN: 10001-UP

1шт.

32

384-9411133

TEE

SN: 10001-UP

1шт.

33

382-368269-1

O-RING

SN: 10001-UP

2шт.

34

384-9402789

CONNECTOR

SN: 10001-UP

1шт.

35

382-352221-1

O-RING

SN: 10001-UP

2шт.

36

382-025500-1

BOLT

SN: 10001-UP

11шт.

37

382-025784

BOLT

SN: 10001-UP

4шт.

38

382-025534-1

WASHER

SN: 10001-UP

15шт.

42

381-715418-1

GASKET

SN: 10001-UP

1шт.

43

382-129083-1

CLAMP

SN: 10001-UP

2шт.

44

385-11104781

TUBE

SN: 10001-UP

1шт.

45

384-9410979

ELBOW

SN: 10001-UP

1шт.

Выбрано товаров: 49