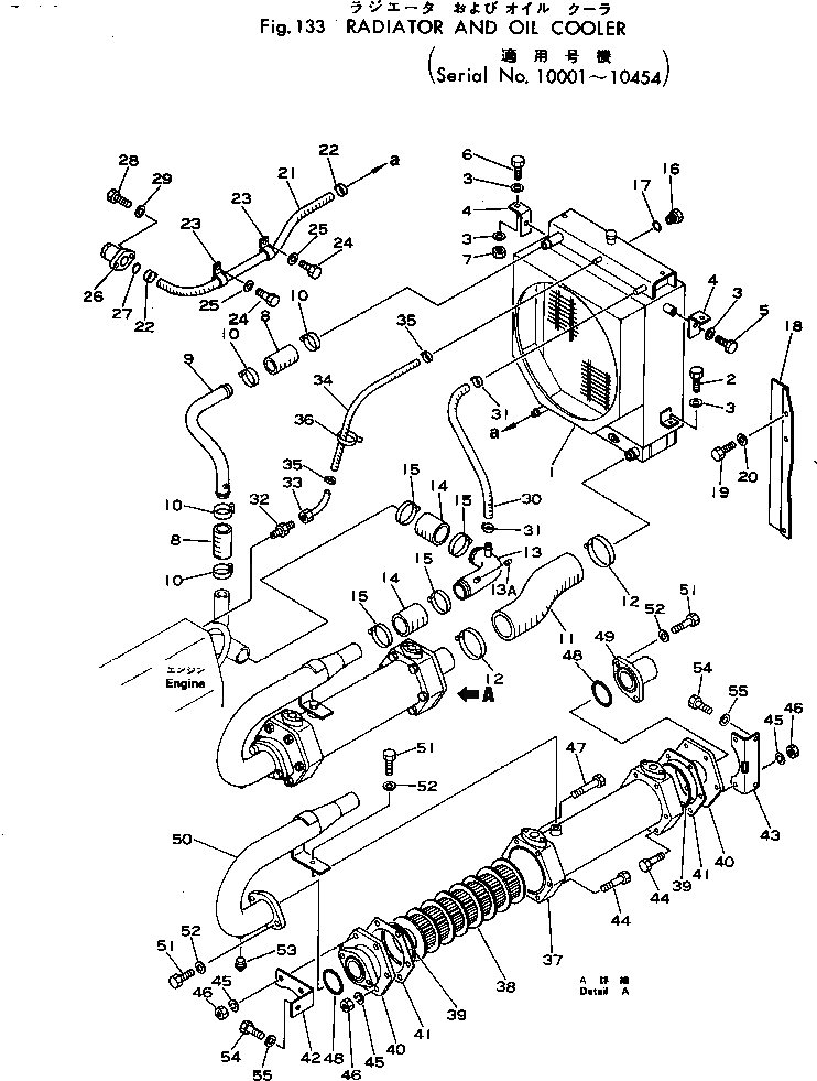
Запчасти Komatsu 540-1 РАДИАТОР И МАСЛООХЛАДИТЕЛЬ(№-) КОМПОНЕНТЫ ДВИГАТЕЛЯ И ЭЛЕКТРИКА

Схема запчастей Komatsu 540-1 - РАДИАТОР И МАСЛООХЛАДИТЕЛЬ(№-) КОМПОНЕНТЫ ДВИГАТЕЛЯ И ЭЛЕКТРИКА
FIT
1:1
100%

Артикул

Название

Примечание

Количество

1

385-10244103

RADIATOR ASS'Y

SN: .-@

1шт.

|1

0

RADIATOR ASS'Y

SN: 10001-.

1шт.

2

382-024861-1

BOLT

SN: 10001-@

2шт.

3

382-025555-1

WASHER

SN: 10001-@

8шт.

4

385-11244901

ANGLE

SN: 10001-@

2шт.

5

382-025274-1

BOLT

SN: 10001-@

2шт.

6

382-024862-1

BOLT

SN: 10001-@

2шт.

7

382-025526-1

NUT

SN: 10001-@

2шт.

8

385-10172741

HOSE

SN: 10001-@

2шт.

9

385-10172752

TUBE

SN: 10001-@

1шт.

10

384-30651361

CLAMP

SN: .-@

4шт.

|10

0

CLAMP

SN: 10001-.

4шт.

11

385-10172762

HOSE

SN: 10001-@

1шт.

12

380-894005-1

CLAMP

SN: .-@

2шт.

|12

0

CLAMP

SN: 10001-.

2шт.

13

385-10172772

TUBE

SN: 10001-@

1шт.

13A

384-0445686

PLUG

SN: 10001-@

1шт.

14

385-10172741

HOSE

SN: 10001-@

2шт.

15

384-30691361

CLAMP

SN: .-@

4шт.

|15

0

CLAMP

SN: 10001-.

4шт.

16

385-11105491

GAUGE

SN: 10001-@

1шт.

17

382-307915-1

O-RING

SN: 10001-@

1шт.

18

385-10172801

BAFFLE

SN: 10001-@

2шт.

19

382-024840-1

BOLT

SN: 10001-@

6шт.

20

382-025544-1

WASHER

SN: 10001-@

6шт.

21

385-10172991

HOSE

SN: 10001-@

1шт.

22

07281-10359

CLAMP

SN: ..-@

2шт.

|22

0

CLAMP

SN: .-..

2шт.

|22

0

CLAMP

SN: 10001-.

2шт.

23

381-892033-1

CLIP

SN: 10001-@

2шт.

24

382-024839-1

BOLT

SN: 10001-@

2шт.

25

382-025544-1

WASHER

SN: 10001-@

2шт.

26

385-10100921

VALVE ASS'Y

SN: 10001-@

1шт.

27

07000-63028

O-RING

SN: 10001-@

1шт.

28

382-024840-1

BOLT

SN: 10001-@

2шт.

29

382-025544-1

WASHER

SN: 10001-@

2шт.

30

380-174008-1

HOSE

SN: 10001-@

1шт.

31

07281-10359

CLAMP

SN: ..-@

2шт.

|31

0

CLAMP

SN: .-..

2шт.

|31

0

CLAMP

SN: 10001-.

2шт.

32

384-9402706

CONNECTOR

SN: 10001-@

1шт.

33

381-983121-1

TUBE

SN: 10001-@

1шт.

34

385-10160072

HOSE

SN: 10001-@

1шт.

35

385-11052691

CLAMP

SN: 10001-@

2шт.

36

381-976196-1

STRAP

SN: 10001-@

1шт.

|37

389-10172712

OIL COOLER ASS'Y

SN: 10455-@

1шт.

|37

0

OIL COOLER ASS'Y

SN: 10001-10454

1шт.

37

385-10099421

BODY

SN: 10001-10454

1шт.

38

385-10099371

ELEMENT

SN: 10001-@

1шт.

39

385-10099381

O-RING

SN: 10001-@

2шт.

40

385-10099331

COVER

SN: 10001-10454

2шт.

41

385-10099341

GASKET

SN: 10001-@

2шт.

42

385-10099361

STAY

SN: 10001-10454

1шт.

43

385-10099351

STAY

SN: 10001-10454

1шт.

44

382-275804-1

BOLT

SN: 10001-10454

8шт.

45

384-0131099

WASHER

SN: 10001-@

13шт.

46

382-025522-1

NUT

SN: 10001-10454

12шт.

47

382-025500-1

BOLT

SN: 10001-10454

4шт.

48

381-876080-1

O-RING

SN: 10001-@

2шт.

49

385-10245391

PLUNGER

SN: 10001-10454

1шт.

50

385-10245401

TUBE

SN: 10001-10454

1шт.

51

382-024860-1

BOLT

SN: 10001-10454

5шт.

52

382-025555-1

WASHER

SN: 10001-10454

5шт.

53

07042-20108

PLUG

SN: 10001-@

1шт.

54

382-024840-1

BOLT

SN: 10001-@

3шт.

55

382-025544-1

WASHER

SN: 10001-@

3шт.

Выбрано товаров: 66