Запчасти Komatsu 540-1 ПОЛ И ПЛАТФОРМА(№-) РАМА И ЧАСТИ КОРПУСА

Схема запчастей Komatsu 540-1 - ПОЛ И ПЛАТФОРМА(№-) РАМА И ЧАСТИ КОРПУСА
FIT
1:1
100%

Артикул

Название

Примечание

Количество

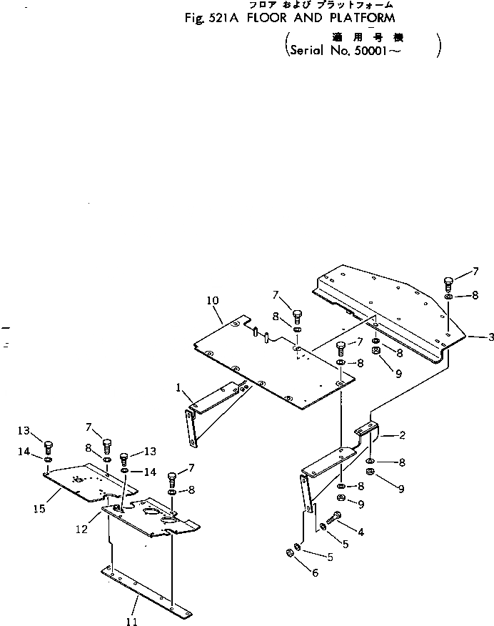
1

385-10440611

SUPPORT,R.H.

SN: 50001-UP

1шт.

2

381-944146-1

SUPPORT,L.H.

SN: 10001-UP

1шт.

3

385-10442451

PLATFORM

SN: 50001-UP

1шт.

4

382-024876-1

BOLT

SN: 10001-UP

4шт.

5

382-025556-1

WASHER

SN: 10001-UP

8шт.

6

384-9412231

NUT

SN: 10001-UP

4шт.

7

380-140483H

BOLT

SN: 10001-UP

13шт.

8

382-025553-1

WASHER

SN: 10001-UP

20шт.

9

382-025522-1

NUT

SN: 10001-UP

7шт.

10

385-10440603

PLATE,REAR

SN: 50001-UP

1шт.

11

385-10328422

SUPPORT

SN: 10328-UP

1шт.

12

385-10442471

PLATE ASS'Y,L.H.

SN: 50001-UP

1шт.

13

382-024863-1

BOLT

SN: 10001-UP

4шт.

14

382-025555-1

WASHER

SN: 10001-UP

4шт.

15

385-10442492

PLATE,R.H.

SN: 50001-UP

1шт.

Выбрано товаров: 15