Запчасти Komatsu 540-1 РАДИАТОР И МАСЛООХЛАДИТЕЛЬ(№-) КОМПОНЕНТЫ ДВИГАТЕЛЯ И ЭЛЕКТРИКА

Схема запчастей Komatsu 540-1 - РАДИАТОР И МАСЛООХЛАДИТЕЛЬ(№-) КОМПОНЕНТЫ ДВИГАТЕЛЯ И ЭЛЕКТРИКА
FIT
1:1
100%

Артикул

Название

Примечание

Количество

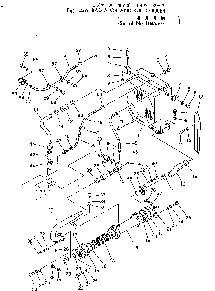
1

385-10244103

RADIATOR ASS'Y

SN: .-UP

1шт.

|1

0

RADIATOR ASS'Y

SN: 10001-.

1шт.

2

385-11105491

GAUGE

SN: 10001-UP

1шт.

3

382-307915-1

O-RING

SN: 10001-UP

1шт.

4

385-11244901

ANGLE

SN: 10001-UP

2шт.

5

382-025274-1

BOLT

SN: 10001-UP

2шт.

6

382-024862-1

BOLT

SN: 10001-UP

2шт.

7

382-024861-1

BOLT

SN: 10001-UP

2шт.

8

382-025555-1

WASHER

SN: 10001-UP

8шт.

9

382-025526-1

NUT

SN: 10001-UP

2шт.

10

385-10172801

BAFFLE

SN: 10001-UP

2шт.

11

382-024840-1

BOLT

SN: 10001-UP

6шт.

12

382-025544-1

WASHER

SN: 10001-UP

6шт.

13

385-10172762

HOSE

SN: 10001-UP

1шт.

14

380-894005-1

CLAMP

SN: .-UP

2шт.

|14

382-391671-1

CLAMP

SN: 10001-.

2шт.

|15

385-10172712

OIL COOLER ASS'Y

SN: 10455-UP

1шт.

15

385-10386041

SHELL

SN: 10455-UP

1шт.

16

385-10099371

ELEMENT

SN: 10001-UP

1шт.

17

385-10386051

COVER

SN: 10455-UP

2шт.

18

385-10099381

O-RING

SN: 10001-UP

2шт.

19

385-10099341

GASKET

SN: 10001-UP

2шт.

20

385-10386061

STAY

SN: 10455-UP

1шт.

21

385-10386071

STAY

SN: 10455-UP

1шт.

22

382-024841-1

BOLT

SN: 10455-UP

8шт.

23

382-024842-1

BOLT

SN: 10455-UP

4шт.

24

384-0131099

WASHER

SN: 10001-UP

12шт.

25

382-025553-1

WASHER

SN: 10455-UP

12шт.

26

385-10386081

TUBE

SN: 10455-UP

1шт.

27

385-10386091

TUBE

SN: 10455-UP

1шт.

28

07042-20108

PLUG

SN: 10001-UP

1шт.

29

381-876080-1

O-RING

SN: 10001-UP

2шт.

30

382-024862-1

BOLT

SN: 10455-UP

4шт.

31

384-0131101

WASHER

SN: 10455-UP

4шт.

32

382-025534-1

WASHER

SN: 10455-UP

4шт.

33

382-024840-1

BOLT

SN: 10455-UP

12шт.

34

384-0131099

WASHER

SN: 10455-UP

1шт.

35

382-025553-1

WASHER

SN: 10001-UP

1шт.

36

382-024840-1

BOLT

SN: 10001-UP

3шт.

37

382-025544-1

WASHER

SN: 10001-UP

3шт.

38

385-10172741

HOSE

SN: 10001-UP

2шт.

39

384-30651361

CLAMP

SN: .-UP

4шт.

|39

0

CLAMP

SN: 10001-.

4шт.

40

385-10172772

TUBE

SN: 10001-UP

1шт.

41

384-0445686

PLUG

SN: 10001-UP

1шт.

42

385-10172741

HOSE

SN: 10001-UP

2шт.

43

385-10172752

TUBE

SN: 10001-UP

1шт.

44

07281-00809

CLAMP

SN: ..-UP

4шт.

|44

0

CLAMP

SN: .-..

4шт.

|44

0

CLAMP

SN: 10001-.

4шт.

45

380-174008-1

HOSE

SN: 10001-UP

1шт.

46

07281-10359

CLAMP

SN: ..-UP

2шт.

47

384-9402706

CONNECTOR

SN: 10001-UP

1шт.

48

381-983121-1

TUBE

SN: 10001-UP

1шт.

49

385-10160072

HOSE

SN: 10001-UP

1шт.

50

385-11052691

CLAMP

SN: 10001-UP

2шт.

51

385-10172991

HOSE

SN: 10001-UP

1шт.

52

07281-10359

CLAMP

SN: ..-UP

2шт.

53

385-10100921

VALVE ASS'Y

SN: 10001-UP

1шт.

54

07000-63028

O-RING

SN: 10001-UP

1шт.

55

382-024840-1

BOLT

SN: 10001-UP

2шт.

56

382-025544-1

WASHER

SN: 10001-UP

2шт.

57

381-892033-1

CLIP

SN: 10001-UP

2шт.

58

382-024839-1

BOLT

SN: 10001-UP

2шт.

59

382-025544-1

WASHER

SN: 10001-UP

2шт.

60

381-976196

STRAP

SN: 10001-UP

1шт.

Выбрано товаров: 66