Запчасти Komatsu 540B-1 ПАНЕЛЬ ПРИБОРОВ(№-) КОМПОНЕНТЫ ДВИГАТЕЛЯ И ЭЛЕКТРИКА

Схема запчастей Komatsu 540B-1 - ПАНЕЛЬ ПРИБОРОВ(№-) КОМПОНЕНТЫ ДВИГАТЕЛЯ И ЭЛЕКТРИКА
FIT
1:1
100%

Артикул

Название

Примечание

Количество

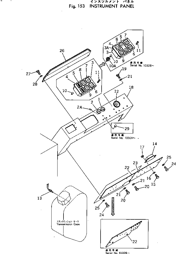
1

385-10159972

GAUGE,AIR PRESSURE

SN: 10331-UP

1шт.

|1

0

GAUGE,AIR PRESSURE

SN: 10001-10330

1шт.

2

385-10294301

METER,SERVICE

SN: 50001-UP

1шт.

|2

385-11047951

METER,SERVICE

SN: 10001-49999

1шт.

2A

385-10384861

SOCKET ASS'Y

SN: 50001-UP

1шт.

3

385-10227223

GAUGE CLUSTER

SN: 50104-UP

1шт.

|3

0

GAUGE CLUSTER

SN: 10328-50104

1шт.

|3

385-11015851

GAUGE CLUSTER

SN: 10001-10327

1шт.

3A

385-10227461

GASKET

SN: 10328-UP

1шт.

4

385-10227451

BEZEL

SN: 10328-UP

1шт.

|4

385-11040791

LENS

SN: 10001-10327

1шт.

5

385-10340851

LENS

SN: 10328-UP

1шт.

|5

385-11040801

LENS

SN: 10001-10327

1шт.

6

385-10227501

VOLTMETER

SN: 10328-UP

1шт.

|6

385-11040811

VOLTMETER

SN: 10001-10327

1шт.

7

385-10227491

GAUGE,FUEL

SN: 10328-UP

1шт.

|7

385-11040821

GAUGE,FUEL

SN: 10001-10327

1шт.

8

385-10227471

GAUGE,ENGINE WATER TEMPERATURE

SN: 10328-UP

1шт.

|8

385-11040831

GAUGE,ENGINE WATER TEMPERATURE

SN: 10001-10327

1шт.

9

385-10227481

GAUGE,TORQUE CONVERTER OIL TEMP.

SN: 10328-UP

1шт.

|9

385-11040841

GAUGE,TORQUE CONVERTER OIL TEMP.

SN: 10001-10327

1шт.

10

385-10227511

BULB,PILOT LAMP

SN: 10328-UP

8шт.

|10

382-027727-1

BULB,PILOT LAMP

SN: 10001-10327

8шт.

10A

385-10340861

SOCKET

SN: 10328-UP

8шт.

11

384-0133578

SCREW

SN: 10001-UP

4шт.

12

385-10104801

SPEEDOMETER

SN: 10001-UP

1шт.

13

385-10104811

SENSOR,PICK-UP

SN: 10001-UP

1шт.

14

385-10159961

DIVIDER UNIT

SN: 10001-UP

1шт.

15

382-025752-1

BOLT

SN: 10001-UP

2шт.

16

382-025532-1

WASHER

SN: 10001-UP

2шт.

17

382-025519-1

NUT

SN: 10001-UP

2шт.

18

385-10104921

PANEL

SN: 10001-UP

1шт.

19

380-140483H

BOLT

SN: 10001-UP

4шт.

20

382-024840-1

BOLT

SN: 10001-UP

2шт.

21

382-025544-1

WASHER

SN: 10001-UP

6шт.

22

385-10336071

SUPPORT

SN: 10328-UP

1шт.

|22

385-11206651

SUPPORT

SN: 10001-10327

1шт.

23

385-10104952

BAR

SN: 10001-UP

1шт.

24

382-025222-1

BOLT

SN: 10001-UP

6шт.

25

382-025542-1

WASHER

SN: 10001-UP

6шт.

26

385-10162581

COVER

SN: 10001-UP

1шт.

27

382-025222-1

BOLT

SN: 10001-UP

3шт.

28

382-025532-1

WASHER

SN: 10001-UP

3шт.

29

384-0432615

PLUG

SN: 10001-UP

1шт.

Выбрано товаров: 0