Запчасти Komatsu 540B-1 КАБИНА (/7) (КУЗОВ И ЭЛЕМЕНТЫ КРЕПЛЕНИЯ)(№8-9999) ОПЦИОННЫЕ КОМПОНЕНТЫ

Схема запчастей Komatsu 540B-1 - КАБИНА (/7) (КУЗОВ И ЭЛЕМЕНТЫ КРЕПЛЕНИЯ)(№8-9999) ОПЦИОННЫЕ КОМПОНЕНТЫ
FIT
1:1
100%

Артикул

Название

Примечание

Количество

|1

385-10370151

CAB KIT

SN: 10328-49999

1шт.

|1

385-10370161

CAB ASS'Y

SN: 10328-49999

1шт.

1

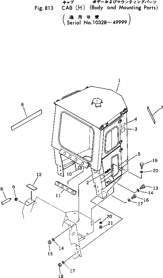
0

CAB

SN: 10328-49999

1шт.

2

381-987437-1

PLATE¤ MARK,KOMATSU

SN: 10328-49999

2шт.

3

385-10177431

PLATE¤ CAUTION,WARNING

SN: 10328-49999

1шт.

4

385-11050131

PLATE¤ CAUTION,ENGINE IDLING

SN: 10328-49999

1шт.

5

385-11210791

PLATE¤ STRIPE

SN: 10328-49999

1шт.

6

385-11210751

PLATE¤ STRIPE

SN: 10328-49999

1шт.

7

385-11210771

PLATE¤ STRIPE

SN: 10328-49999

3шт.

8

385-10150771

ADHESIVE

SN: 10328-49999

1шт.

9

08037-01008

GROMMET

SN: 10328-49999

1шт.

10

385-10217731

RUBBER

SN: 10328-49999

2шт.

11

385-10348871

SEAL,FRONT

SN: 10328-49999

1шт.

12

385-10336411

SEAL,FRONT

SN: 10328-49999

2шт.

13

382-025741-1

BOLT

SN: 10328-49999

4шт.

14

382-025540-1

WASHER

SN: 10328-49999

6шт.

15

382-025531-1

NUT

SN: 10328-49999

4шт.

16

382-024890-1

BOLT

SN: 10328-49999

6шт.

17

382-025557-1

WASHER

SN: 10328-49999

12шт.

18

382-025529-1

NUT

SN: 10328-49999

6шт.

19

380-140483H

BOLT

SN: 10328-49999

9шт.

20

382-025553-1

WASHER

SN: 10328-49999

18шт.

21

382-025522-1

NUT

SN: 10328-49999

9шт.

Выбрано товаров: 23