Запчасти Komatsu 540B-1 3-Х СЕКЦИОНН. КОНТРОЛЬН. КЛАПАН (/) (КУЗОВ)(№-) ОПЦИОННЫЕ КОМПОНЕНТЫ

Схема запчастей Komatsu 540B-1 - 3-Х СЕКЦИОНН. КОНТРОЛЬН. КЛАПАН (/) (КУЗОВ)(№-) ОПЦИОННЫЕ КОМПОНЕНТЫ
FIT
1:1
100%

Артикул

Название

Примечание

Количество

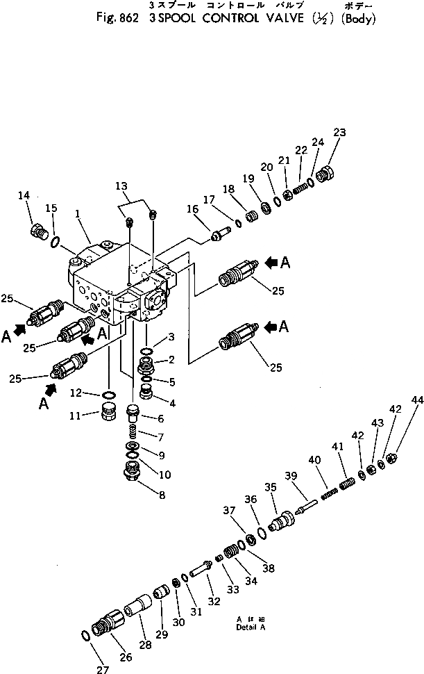
|1

385-10253162

VALVE ASS'Y

SN: .-UP

1шт.

|1

0

VALVE ASS'Y

SN: 10001-.

1шт.

1

0

HOUSING

SN: 10001-UP

1шт.

2

385-11075211

PLUG

SN: 10001-UP

1шт.

3

381-876108-1

O-RING

SN: 10001-UP

1шт.

4

384-9410356

PLUG

SN: 10001-UP

1шт.

5

382-027564-1

O-RING

SN: 10001-UP

1шт.

6

385-11023391

POPPET

SN: 10001-UP

2шт.

7

380-144604-1

SPRING

SN: 10001-UP

2шт.

8

385-11023401

PLUG

SN: 10001-UP

2шт.

9

389-208933-2

RING

SN: 10001-UP

2шт.

10

381-876070-1

O-RING

SN: 10001-UP

2шт.

11

380-148603-1

PLUG

SN: 10001-UP

1шт.

12

381-876108-1

O-RING

SN: 10001-UP

1шт.

13

384-0444660

PLUG

SN: 10001-UP

2шт.

14

385-11023541

PLUG

SN: 10001-UP

1шт.

15

381-877691-1

O-RING

SN: 10001-UP

1шт.

|16

380-202104-2

CHECK VALVE ASS'Y

SN: 10001-UP

1шт.

16

0

POPPET

SN: 10001-UP

1шт.

17

0

O-RING

SN: 10001-UP

1шт.

18

0

SPACER

SN: 10001-UP

1шт.

19

380-198368-2

RING

SN: 10001-UP

1шт.

20

381-876067-1

O-RING

SN: 10001-UP

1шт.

21

0

NUT

SN: 10001-UP

1шт.

22

380-212557-1

SPRING

SN: 10001-UP

1шт.

23

0

PLUG

SN: 10001-UP

1шт.

24

381-876110-1

O-RING

SN: 10001-UP

1шт.

25

385-10191921

RELIEF VALVE ASS'Y,(231KG/CM2)

SN: 10001-UP

4шт.

26

385-11026141

PLUG

SN: 10001-UP

1шт.

27

381-876110-1

O-RING

SN: 10001-UP

1шт.

28

385-11026121

POPPET

SN: 10001-UP

1шт.

29

381-615171-1

POPPET

SN: 10001-UP

1шт.

30

381-889224-1

RING

SN: 10001-UP

1шт.

31

382-336191-1

O-RING

SN: 10001-UP

1шт.

32

385-11026171

PISTON

SN: 10001-UP

1шт.

33

381-939255-1

SPRING

SN: 10001-UP

1шт.

34

385-11026151

SPRING

SN: 10001-UP

1шт.

35

385-11026131

PLUG

SN: 10001-UP

1шт.

36

381-876110-1

O-RING

SN: 10001-UP

1шт.

37

380-198368-2

RING

SN: 10001-UP

1шт.

38

381-876067-1

O-RING

SN: 10001-UP

1шт.

39

381-613996-1

POPPET

SN: 10001-UP

1шт.

40

381-615001-1

SPRING

SN: 10001-UP

1шт.

41

381-613998-1

SCREW

SN: 10001-UP

1шт.

42

382-347391-1

WASHER

SN: 10001-UP

2шт.

43

384-0114494

NUT

SN: 10001-UP

1шт.

44

384-0131486

NUT

SN: 10001-UP

1шт.

45

385-11023551

RELIEF VALVE ASS'Y,(193KG/CM2)

SN: 10001-UP

1шт.

Выбрано товаров: 48