Запчасти Komatsu 540B-1 УПРАВЛ-Е ДВИГАТЕЛЕМ МЕХАНИЗМ(№-9999) КОМПОНЕНТЫ ДВИГАТЕЛЯ И ЭЛЕКТРИКА

Схема запчастей Komatsu 540B-1 - УПРАВЛ-Е ДВИГАТЕЛЕМ МЕХАНИЗМ(№-9999) КОМПОНЕНТЫ ДВИГАТЕЛЯ И ЭЛЕКТРИКА
FIT
1:1
100%

Артикул

Название

Примечание

Количество

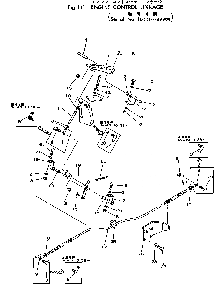
|1

385-10385601

PEDAL ASS'Y

SN: 10503-@

1шт.

|1

0

PEDAL ASS'Y

SN: 10458-10502

1шт.

|1

0

PEDAL ASS'Y

SN: 10001-10457

1шт.

1

385-10375511

PEDAL

SN: 10503-@

1шт.

|1

0

PEDAL ASS'Y

SN: 10001-10502

1шт.

2

381-975746-2

HINGE

SN: 10458-@

1шт.

|2

0

HINGE

SN: 10001-10457

1шт.

3

382-370686-1

BUSHING

SN: 10001-@

2шт.

4

380-178171-1

PIN

SN: 10001-@

1шт.

5

380-143606-1

PIN

SN: 10001-@

1шт.

6

382-025483-1

BOLT

SN: 10136-@

6шт.

|6

382-025483-1

BOLT

SN: 10001-10135

9шт.

7

382-025542-1

WASHER

SN: 10001-@

4шт.

8

382-025519-1

NUT

SN: 10001-@

6шт.

9

385-10199681

END

SN: 10136-@

4шт.

|9

381-899392-1

END

SN: 10001-10135

4шт.

10

382-025930-1

NUT

SN: 10001-@

4шт.

11

385-11047761

STUD

SN: 10001-49999

1шт.

12

381-936977-1

ROD

SN: 10001-@

1шт.

13

382-025543-1

WASHER

SN: 10001-@

1шт.

14

382-025520-1

NUT

SN: 10001-@

1шт.

15

382-027122-1

NUT

SN: 10136-@

3шт.

|15

382-026110-1

NUT

SN: 10001-10135

3шт.

16

385-10122101

LEVER

SN: 10001-@

1шт.

17

385-10103451

BEARING ASS'Y,L.H.

SN: 10001-@

1шт.

18

380-887916-1

BUSHING

SN: 10001-@

1шт.

19

385-10103461

BEARING ASS'Y,R.H.

SN: 10001-@

1шт.

20

380-887916-1

BUSHING

SN: 10001-@

1шт.

21

382-025532-1

WASHER

SN: 10001-@

8шт.

22

385-10396061

CABLE

SN: 50001-@

1шт.

|22

381-980617-3

CABLE

SN: 10001-49999

1шт.

23

381-980657-1

BOLT

SN: 10001-10135

1шт.

24

385-10163691

NUT

SN: 10001-@

1шт.

25

380-119059-1

SPRING

SN: 10001-@

1шт.

26

385-10239381

SUPPORT

SN: 10001-@

1шт.

27

385-10135561

BOLT

SN: 10001-@

2шт.

28

385-10127291

WASHER

SN: 10001-@

2шт.

29

385-11049351

GROMMET

SN: 10001-@

1шт.

30

382-025532-1

WASHER

SN: 10001-@

1шт.

Выбрано товаров: 0