Запчасти Komatsu 540B-1 УПРАВЛ-Е ДВИГАТЕЛЕМ МЕХАНИЗМ КОМПОНЕНТЫ ДВИГАТЕЛЯ И ЭЛЕКТРИКА

Схема запчастей Komatsu 540B-1 - УПРАВЛ-Е ДВИГАТЕЛЕМ МЕХАНИЗМ КОМПОНЕНТЫ ДВИГАТЕЛЯ И ЭЛЕКТРИКА
FIT
1:1
100%

Артикул

Название

Примечание

Количество

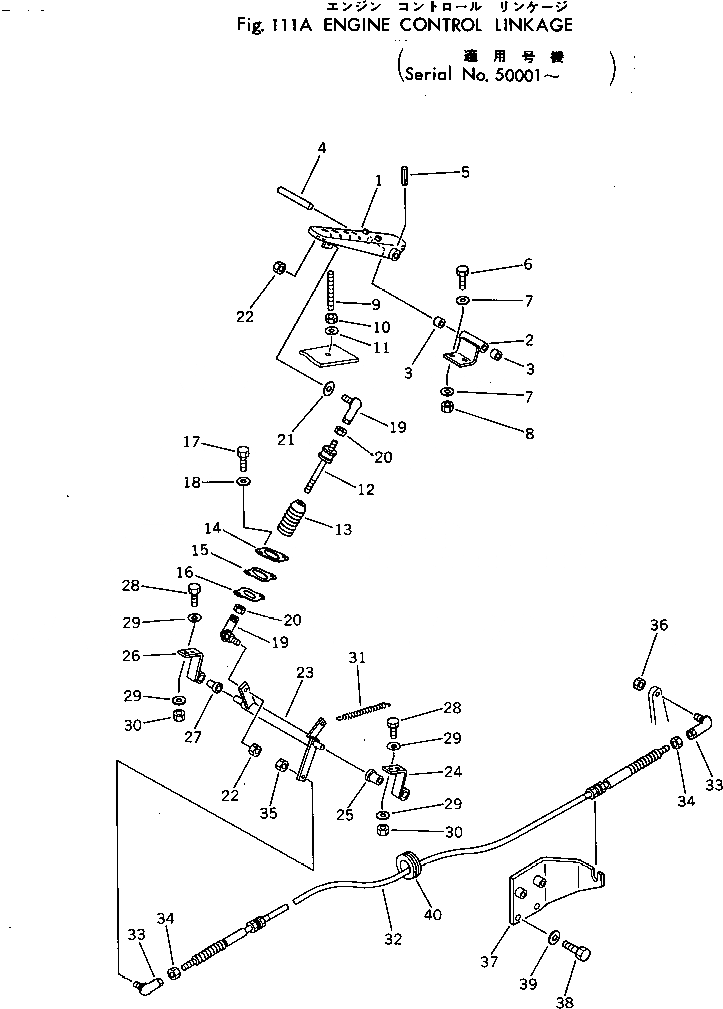
|1

385-10385601

PEDAL ASS'Y

SN: 10503-UP

1шт.

1

385-10375511

PEDAL

SN: 10503-UP

1шт.

2

381-975746-2

HINGE

SN: 10458-UP

1шт.

3

382-370686-1

BUSHING

SN: 10001-UP

2шт.

4

380-178171-1

PIN

SN: 10001-UP

1шт.

5

380-143606-1

PIN

SN: 10001-UP

1шт.

6

382-025483-1

BOLT

SN: 10136-UP

2шт.

7

382-025542-1

WASHER

SN: 10001-UP

4шт.

8

382-025519-1

NUT

SN: 10001-UP

2шт.

9

381-936977-1

ROD

SN: 10001-UP

1шт.

10

382-025543-1

WASHER

SN: 10001-UP

1шт.

11

382-025520-1

NUT

SN: 10001-UP

1шт.

12

385-10385421

ROD

SN: 50001-UP

1шт.

13

385-10234991

BOOT

SN: 50001-UP

1шт.

14

385-10371001

PLATE

SN: 50001-UP

1шт.

15

385-10235001

GASKET

SN: 50001-UP

1шт.

16

385-10267953

PLATE

SN: 50001-UP

1шт.

17

382-024839-1

BOLT

SN: 50001-UP

2шт.

18

382-025534-1

WASHER

SN: 50001-UP

2шт.

19

385-10199681

END

SN: 10136-UP

2шт.

20

382-025930-1

NUT

SN: 10001-UP

2шт.

21

382-025532-1

WASHER

SN: 10136-UP

1шт.

22

382-027122-1

NUT

SN: 10136-UP

2шт.

23

385-10122101

LEVER

SN: 10001-UP

1шт.

24

385-10103451

BEARING ASS'Y,L.H.

SN: 10001-UP

1шт.

25

380-887916-1

BUSHING

SN: 10001-UP

1шт.

26

385-10103461

BEARING ASS'Y,R.H.

SN: 10001-UP

1шт.

27

380-887916-1

BUSHING

SN: 10001-UP

1шт.

28

382-025423-1

BOLT

SN: 10136-UP

4шт.

29

382-025532-1

WASHER

SN: 10001-UP

8шт.

30

382-025519-1

NUT

SN: 10136-UP

4шт.

31

380-119059-1

SPRING

SN: 10001-UP

1шт.

32

385-10396061

CABLE

SN: 50001-UP

1шт.

33

385-10199681

END

SN: 10136-UP

2шт.

34

382-025930-1

NUT

SN: 10001-UP

2шт.

35

382-027122-1

NUT

SN: 10136-UP

1шт.

36

385-10163691

NUT

SN: 10001-UP

1шт.

37

385-10239381

SUPPORT

SN: 10001-UP

1шт.

38

385-10135561

BOLT

SN: 10001-UP

2шт.

39

385-10127291

WASHER

SN: 10001-UP

2шт.

40

385-11049351

GROMMET

SN: 10001-UP

1шт.

Выбрано товаров: 0