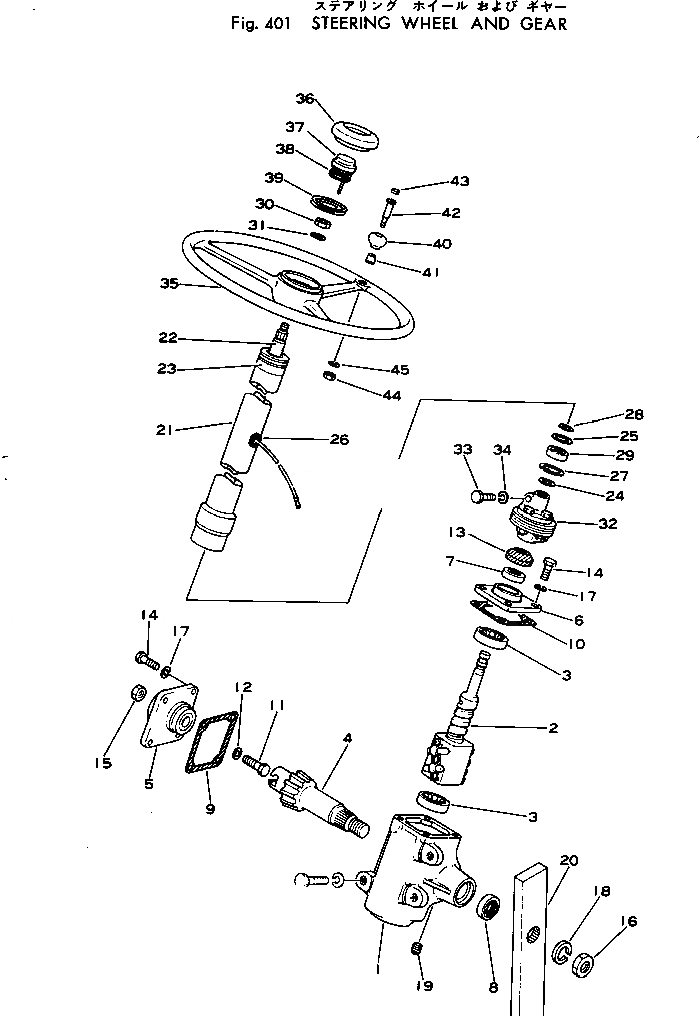
Запчасти Komatsu 540B-1 РУЛЕВОЕ КОЛЕСО И ПРИВОД(№-) РУЛЕВ. УПРАВЛЕНИЕ И СИСТЕМА УПРАВЛЕНИЯ

Схема запчастей Komatsu 540B-1 - РУЛЕВОЕ КОЛЕСО И ПРИВОД(№-) РУЛЕВ. УПРАВЛЕНИЕ И СИСТЕМА УПРАВЛЕНИЯ
FIT
1:1
100%

Артикул

Название

Примечание

Количество

|1

385-10230591

STEERING GEAR ASS'Y

SN: 10001-UP

1шт.

|1

385-11037491

GEAR ASS'Y

SN: 10001-UP

1шт.

1

385-11052421

CASE ASS'Y

SN: 10001-UP

1шт.

2

385-11052261

BALL NUT ASS'Y

SN: 10001-UP

1шт.

3

380-890244-1

BEARING

SN: 10001-UP

2шт.

4

385-11052271

SHAFT

SN: 10001-UP

1шт.

5

380-890256-1

COVER ASS'Y,SIDE

SN: 10001-UP

1шт.

6

385-11052281

COVER,REAR

SN: 10001-UP

1шт.

7

381-987402-1

SEAL

SN: 10001-UP

1шт.

8

385-11052291

SEAL

SN: 10001-UP

1шт.

9

380-890250-1

PACKING

SN: 10001-UP

1шт.

10

385-11052301

SHIM

SN: 10001-UP

-2шт.

11

385-11052311

SCREW

SN: 10001-UP

1шт.

12

380-890246-1

SHIM

SN: 10001-UP

-2шт.

13

381-987445-1

COVER,DUST

SN: 10001-UP

1шт.

14

381-897526-1

BOLT

SN: 10001-UP

8шт.

15

385-11052321

NUT

SN: 10001-UP

1шт.

16

384-0219754

NUT

SN: 10001-UP

1шт.

17

01601-01025

WASHER

SN: 10001-UP

8шт.

18

384-0131143

WASHER

SN: 10001-UP

1шт.

19

07042-00108

PLUG

SN: 10001-UP

2шт.

20

385-10230601

ARM,PITMAN

SN: 10001-UP

1шт.

|21

385-11037481

STEERING COLUMN A.

SN: 10001-UP

1шт.

|21

385-11052331

COLUMN ASS'Y

SN: 10001-UP

1шт.

21

385-11052341

COLUMN ASS'Y

SN: 10001-UP

1шт.

22

385-11052351

SHAFT

SN: 10001-UP

1шт.

23

385-11052361

BUSHING

SN: 10001-UP

1шт.

24

381-987405-1

SHIM

SN: 10001-UP

-2шт.

25

381-987404-1

SHIM

SN: 10001-UP

-2шт.

26

380-886821-1

GROMMET

SN: 10001-UP

1шт.

27

04065-04018

RING

SN: 10001-UP

1шт.

28

04064-01710

RING

SN: 10001-UP

2шт.

29

381-987406-1

BEARING

SN: 10001-UP

1шт.

30

382-025922-1

NUT

SN: 10001-UP

1шт.

31

382-025536-1

WASHER

SN: 10001-UP

1шт.

32

385-11052391

COUPLING ASS'Y

SN: 10001-UP

1шт.

33

385-11052401

BOLT

SN: 10001-UP

2шт.

34

385-11052411

WASHER

SN: 10001-UP

2шт.

|35

385-11037862

STEERING WHEEL ASS'Y

SN: 50003-UP

1шт.

|35

0

STEERING WHEEL ASS'Y

SN: 10001-50002

1шт.

35

385-11050881

WHEEL

SN: 10001-UP

1шт.

36

385-11050891

BUTTON,HORN

SN: 10001-UP

1шт.

|37

385-11050611

CONTACT ASS'Y

SN: 10001-UP

1шт.

37

0

CUP,CONTACT

SN: 10001-UP

1шт.

38

0

SPRING,HORN

SN: 10001-UP

1шт.

39

385-11050921

SPRING

SN: 10001-UP

1шт.

40

385-11050931

GRIP

SN: 10001-UP

1шт.

41

385-11050941

BUSHING

SN: 10001-UP

1шт.

42

385-11050951

SHAFT

SN: 10001-UP

1шт.

43

362-43-15170

CAP

SN: 10001-UP

1шт.

44

382-025522-1

NUT

SN: 10001-UP

1шт.

45

384-0103321

WASHER

SN: 10001-UP

1шт.

Выбрано товаров: 52