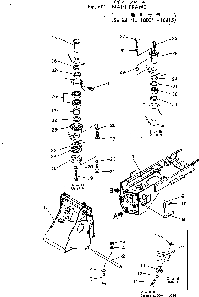
Запчасти Komatsu 540B-1 ОСНОВН. РАМА(№-) РАМА И ЧАСТИ КОРПУСА

Схема запчастей Komatsu 540B-1 - ОСНОВН. РАМА(№-) РАМА И ЧАСТИ КОРПУСА
FIT
1:1
100%

Артикул

Название

Примечание

Количество

|1

385-10327104

FRAME ASS'Y,FRONT

SN: 10416-@

1шт.

|1

0

FRAME ASS'Y,FRONT

SN: 10397-10415

1шт.

|1

0

FRAME ASS'Y,FRONT

SN: 10328-10396

1шт.

|1

385-10310861

FRAME ASS'Y,FRONT

SN: 10262-10327

1шт.

|1

385-10172702

FRAME ASS'Y,FRONT

SN: 10178-10261

1шт.

|1

0

FRAME ASS'Y,FRONT

SN: 10001-10177

1шт.

1

0

FRAME

SN: 10001-@

1шт.

2

385-11231821

SHAFT

SN: 10001-@

1шт.

3

382-024870-1

BOLT

SN: 10001-10415

1шт.

4

382-025546-1

WASHER

SN: 10001-10415

2шт.

5

384-9412230

NUT

SN: 10001-10415

1шт.

6

384-0109461

FITTING

SN: 10001-@

1шт.

7

385-10327111

FRAME,REAR

SN: 10328-@

1шт.

|7

385-10173412

FRAME,REAR

SN: 10262-10327

1шт.

|7

0

FRAME,REAR

SN: 10001-10261

1шт.

8

385-11064321

BAR

SN: 10001-@

1шт.

9

381-988985-2

PIN

SN: 10409-@

2шт.

|9

0

PIN

SN: 10001-10408

2шт.

10

381-897849-1

PIN

SN: 10001-@

2шт.

11

380-216293-2

BUMPER

SN: 10001-10261

2шт.

12

382-024864-1

BOLT

SN: 10001-10261

2шт.

13

382-025546-1

WASHER

SN: 10001-10261

2шт.

14

384-9412230

NUT

SN: 10001-10261

2шт.

15

385-10173611

SHAFT

SN: 10001-@

1шт.

16

385-10173693

SPACER

SN: .-@

1шт.

|16

0

SPACER

SN: 10001-.

1шт.

17

385-10173703

SPACER

SN: 10001-@

1шт.

18

385-10173711

SUPPORT

SN: 10001-@

1шт.

19

382-024866-1

BOLT

SN: 10001-@

3шт.

20

382-025536-1

WASHER

SN: 10001-@

16шт.

21

382-024863-1

BOLT

SN: 10001-@

6шт.

22

385-10173721

SHIM¤ 0.5MM

SN: 10001-@

6шт.

23

385-10173731

SHIM¤ 0.1MM

SN: 10001-@

5шт.

24

385-10373201

WASHER

SN: 10416-@

1шт.

|24

0

SEAL

SN: 10001-10415

1шт.

25

385-10173741

BEARING ASS'Y

SN: 10001-@

1шт.

26

385-10173751

RETAINER

SN: 10001-@

1шт.

27

382-024862-1

BOLT

SN: 10001-@

7шт.

28

385-10173782

PIN

SN: 10001-@

1шт.

|28

0

PIN

SN: (10001-10399)

1шт.

29

381-941546-1

BUSHING

SN: 10001-@

1шт.

30

385-10173811

BEARING ASS'Y

SN: 10001-@

1шт.

31

04077-00110

RING

SN: 10001-@

2шт.

32

385-10412311

ROD

SN: .-@

2шт.

|32

0

ROD

SN: 10001-.

2шт.

33

384-0109462

FITTING

SN: 10001-@

1шт.

Выбрано товаров: 46