Запчасти Komatsu 560B-1 КОНДИЦ. ВОЗДУХА РАМА И ЧАСТИ КОРПУСА

Схема запчастей Komatsu 560B-1 - КОНДИЦ. ВОЗДУХА РАМА И ЧАСТИ КОРПУСА
FIT
1:1
100%

Артикул

Название

Примечание

Количество

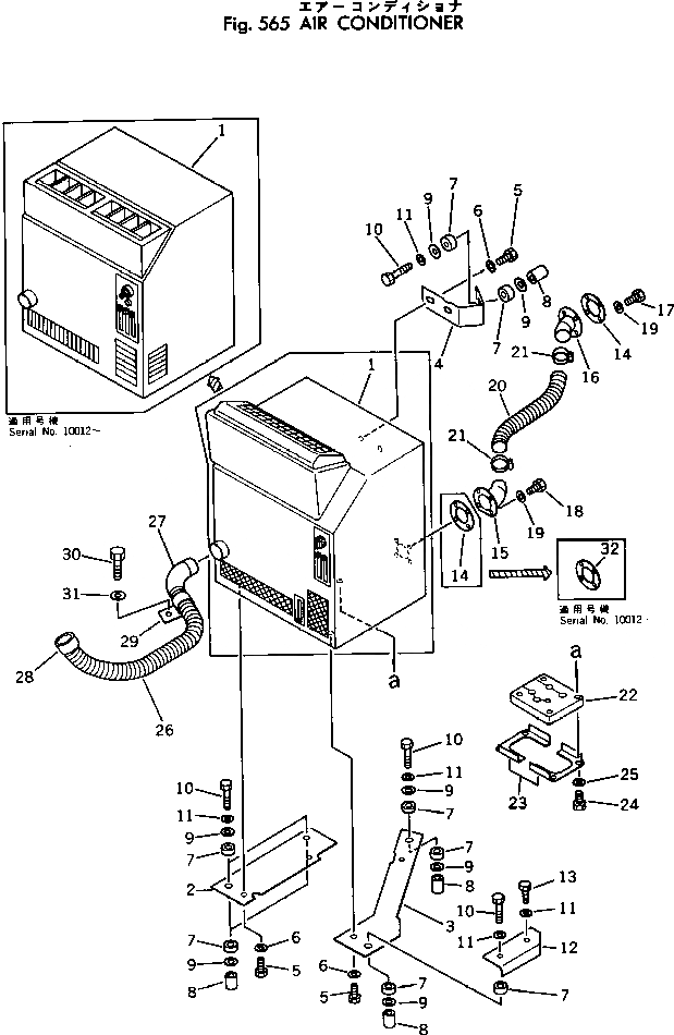
1

385-10416931

CONDITIONER ASS'Y

SN: 10012-UP

1шт.

|1

385-10377331

CONDITIONER ASS'Y

SN: 10001-10011

1шт.

2

385-10337972

PLATE

SN: 10001-UP

1шт.

3

385-10337962

PLATE

SN: 10001-UP

1шт.

4

385-10359721

SUPPORT

SN: 10001-UP

1шт.

5

01010-30820

BOLT

SN: 10001-UP

6шт.

6

01643-30823

WASHER

SN: 10001-UP

6шт.

7

385-10230091

CUSHION

SN: 10001-UP

10шт.

8

385-10338081

SPACER

SN: 10001-UP

5шт.

9

385-10337901

PLATE

SN: 10001-UP

9шт.

10

01010-30860

BOLT

SN: 10001-UP

5шт.

11

01643-30823

WASHER

SN: 10001-UP

6шт.

12

385-10337911

COVER

SN: 10001-UP

1шт.

13

01010-30820

BOLT

SN: 10001-UP

1шт.

14

385-10338001

SEAL

SN: 10012-UP

1шт.

|14

385-10338001

SEAL

SN: 10001-10011

2шт.

15

385-10337991

FLANGE

SN: 10001-UP

1шт.

16

385-10350911

FLANGE

SN: 10001-UP

1шт.

17

01010-30625

BOLT

SN: 10001-UP

4шт.

18

01010-30620

BOLT

SN: 10001-UP

4шт.

19

01643-30623

WASHER

SN: 10001-UP

8шт.

20

385-10338011

HOSE

SN: 10001-UP

1шт.

21

385-10235661

CLAMP

SN: 10001-UP

2шт.

22

385-10338341

SEAL

SN: 10001-UP

1шт.

23

385-10338331

COVER

SN: 10001-UP

2шт.

24

382-025489-1

BOLT

SN: 10001-UP

4шт.

25

382-025551-1

WASHER

SN: 10001-UP

4шт.

|26

385-10378671

HOSE ASS'Y

SN: 10001-UP

1шт.

26

385-10338351

HOSE

SN: 10001-UP

1шт.

27

385-10113741

CONNECTOR

SN: 10001-UP

1шт.

28

385-10113761

CONNECTOR

SN: 10001-UP

1шт.

29

385-10113831

CLAMP

SN: 10001-UP

1шт.

30

382-024839-1

BOLT

SN: 10001-UP

1шт.

31

382-025553-1

WASHER

SN: 10001-UP

1шт.

32

385-10416861

SEAL

SN: 10001-UP

1шт.

Выбрано товаров: 35