Запчасти Komatsu 560B-1 ТОПЛИВОПРОВОД. КОМПОНЕНТЫ ДВИГАТЕЛЯ И ЭЛЕКТРИКА

Схема запчастей Komatsu 560B-1 - ТОПЛИВОПРОВОД. КОМПОНЕНТЫ ДВИГАТЕЛЯ И ЭЛЕКТРИКА
FIT
1:1
100%

Артикул

Название

Примечание

Количество

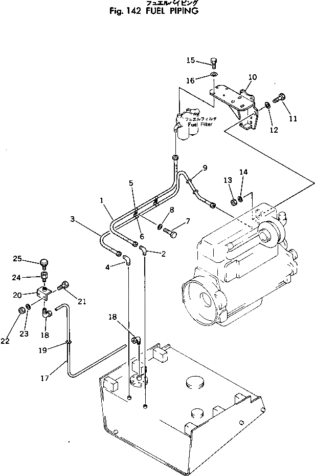
1

02750-24200

HOSE

SN: 10001-UP

1шт.

2

384-0192140

ELBOW

SN: 10001-UP

1шт.

3

02750-23200

HOSE

SN: 10001-UP

1шт.

4

02701-31208

ELBOW

SN: 10001-UP

1шт.

5

382-299567-1

CLAMP

SN: 10001-UP

6шт.

6

382-299566-1

CLAMP

SN: 10001-UP

3шт.

7

382-024840-1

BOLT

SN: 10001-UP

3шт.

8

382-025534-1

WASHER

SN: 10001-UP

3шт.

9

381-976197-1

STRAP

SN: 10001-UP

3шт.

10

385-10416221

SUPPORT

SN: .-UP

1шт.

|10

385-10292364

SUPPORT

SN: 10001-.

1шт.

11

382-024846-1

BOLT

SN: 10001-UP

3шт.

12

382-025553-1

WASHER

SN: 10001-UP

3шт.

13

382-025522-1

NUT

SN: 10001-UP

3шт.

14

382-025544-1

WASHER

SN: 10001-UP

3шт.

15

380-140483H

BOLT

SN: 10001-UP

4шт.

16

382-025544-1

WASHER

SN: 10001-UP

4шт.

17

381-970456-2

TUBE

SN: 10001-UP

1шт.

18

380-175775-1

ELBOW

SN: 10001-UP

2шт.

19

381-976196-1

STRAP

SN: 10001-UP

3шт.

20

385-10087001

SUPPORT

SN: 10001-UP

1шт.

21

380-140483H

BOLT

SN: 10001-UP

2шт.

22

382-025522-1

NUT

SN: 10001-UP

2шт.

23

382-025553-1

WASHER

SN: 10001-UP

2шт.

24

381-897627-1

ADAPTER

SN: 10001-UP

1шт.

25

382-445682-1

BREATHER

SN: 10001-UP

1шт.

Выбрано товаров: 26