Запчасти Komatsu 560B-1 КОЖУХ МОСТА ПРИВОДВАЛ¤ ДИФФЕРЕНЦ. И КОЛЕСА

Схема запчастей Komatsu 560B-1 - КОЖУХ МОСТА ПРИВОДВАЛ¤ ДИФФЕРЕНЦ. И КОЛЕСА
FIT
1:1
100%

Артикул

Название

Примечание

Количество

|1

385-11119281

AXLE ASS'Y,FRONT

SN: 10001-UP

1шт.

|1

385-11119291

AXLE ASS'Y,REAR

SN: 10001-UP

1шт.

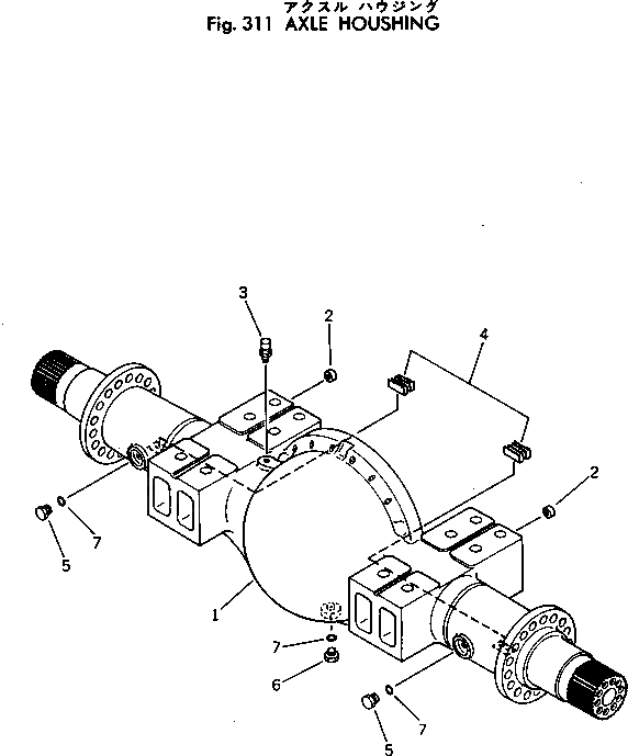
1

385-11119241

HOUSING

SN: 10001-UP

1шт.

2

385-027126-1

BOSS

SN: 10001-UP

2шт.

3

07030-01030

BREATHER

SN: 10001-UP

1шт.

4

385-11096441

MAGNET

SN: 10001-UP

4шт.

5

384-9410361

PLUG

SN: 10001-UP

2шт.

6

380-220150-1

PLUG

SN: 10001-UP

1шт.

7

382-368269-1

O-RING

SN: 10001-UP

3шт.

Выбрано товаров: 9