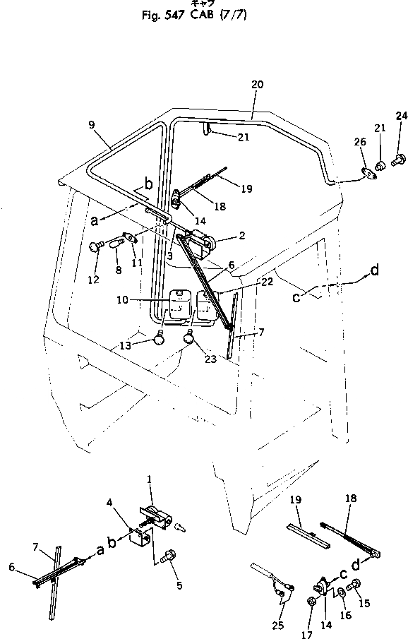
Запчасти Komatsu 560B-1 КАБИНА (7/7) РАМА И ЧАСТИ КОРПУСА

Схема запчастей Komatsu 560B-1 - КАБИНА (7/7) РАМА И ЧАСТИ КОРПУСА
FIT
1:1
100%

Артикул

Название

Примечание

Количество

|1

385-10303611

CAB KIT

SN: 10001-UP

1шт.

|1

385-10313901

CAB ASS'Y

SN: 10001-UP

1шт.

1

385-10084622

MOTOR ASS'Y,R.H.

SN: 10001-UP

1шт.

2

385-10084612

MOTOR ASS'Y,L.H.

SN: 10001-UP

1шт.

3

385-10125741

CABLE

SN: 10001-UP

1шт.

4

385-10309561

BRACKET

SN: 10001-UP

2шт.

5

385-10369571

BOLT

SN: 10001-UP

12шт.

6

385-10125681

ARM

SN: 10001-UP

2шт.

7

385-10236251

BLADE

SN: 10001-UP

2шт.

|8

385-10309621

WASHER ASS'Y

SN: 10001-UP

1шт.

8

385-10309631

NOZZLE

SN: 10001-UP

1шт.

9

385-10309641

HOSE

SN: 10001-UP

1шт.

10

385-10344111

TANK ASS'Y

SN: 10001-UP

1шт.

11

385-10310441

PLATE

SN: 10001-UP

1шт.

12

385-10344461

SCREW

SN: 10001-UP

2шт.

13

385-10344461

SCREW

SN: 10001-UP

2шт.

14

381-972469-1

MOTOR ASS'Y

SN: 10001-UP

2шт.

15

385-10344451

SCREW

SN: 10001-UP

4шт.

16

01641-20508

WASHER

SN: 10001-UP

4шт.

17

01580-10504

NUT

SN: 10001-UP

4шт.

18

380-885550-1

ARM

SN: 10001-UP

2шт.

19

380-885551-1

BLADE

SN: 10001-UP

2шт.

|20

385-10309601

WASHER ASS'Y

SN: 10001-UP

1шт.

20

385-10309611

HOSE

SN: 10001-UP

1шт.

21

385-10370511

NOZZLE

SN: 10001-UP

2шт.

22

385-10344111

TANK ASS'Y

SN: 10001-UP

1шт.

23

385-10344461

SCREW

SN: 10001-UP

2шт.

24

385-10344461

SCREW

SN: 10001-UP

4шт.

25

385-10368331

COVER

SN: 10001-UP

4шт.

26

385-10310441

PLATE

SN: 10001-UP

2шт.

Выбрано товаров: 30