Запчасти Komatsu 560B-1 МАРКИРОВКА РАМА И ЧАСТИ КОРПУСА

Схема запчастей Komatsu 560B-1 - МАРКИРОВКА РАМА И ЧАСТИ КОРПУСА
FIT
1:1
100%

Артикул

Название

Примечание

Количество

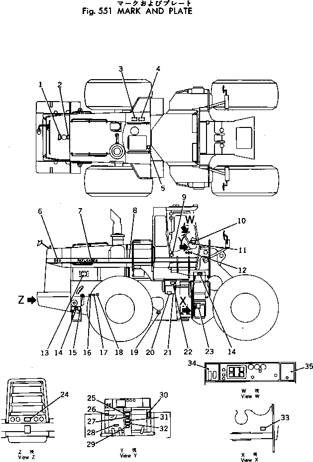
1

381-982695-1

PLATE¤ CAUTION,RADIATOR WATER

SN: 10001-UP

1шт.

2

385-10177451

PLATE¤ SAFETY,RADIATOR CAP

SN: 10001-UP

1шт.

3

385-11050051

PLATE¤ CAUTION,BATTERY CHARGE

SN: 10001-UP

1шт.

4

385-11050141

PLATE¤ CAUTION,BATTERY

SN: 10001-UP

1шт.

5

385-11050101

PLATE¤ CAUTION,RESERVOIR

SN: 10001-UP

1шт.

6

385-10331451

PLATE¤ MARK,560

SN: 10001-UP

2шт.

7

385-10105921

PLATE¤ MARK,PAYLOADER¤ R.H.

SN: 10001-UP

1шт.

|7

385-10105931

PLATE¤ MARK,PAYLOADER¤ L.H.

SN: 10001-UP

1шт.

8

381-895937-1

PLATE¤ STRIPE

SN: 10001-UP

3шт.

9

385-11054761

PLATE¤ STRIPE

SN: 10001-UP

2шт.

10

385-11052452

PLATE¤ NAME,(LIMITED SUPPLY)

SN: 10001-UP

1шт.

|10

380-168753-1

SCREW

SN: 10001-UP

4шт.

11

385-10332881

PLATE¤ DATA

SN: 10001-UP

1шт.

12

381-987437-1

PLATE¤ MARK,SYMBOL

SN: 10001-UP

2шт.

13

381-976861-1

PLATE¤ CAUTION,ALTERNATOR

SN: 10001-UP

1шт.

14

381-976342-1

PLATE¤ CAUTION

SN: 10001-UP

4шт.

15

380-885258-1

PLATE¤ NAME,DIESEL FUEL

SN: 10001-UP

1шт.

16

381-976672-1

PLATE¤ NAME,RADIATOR DRAIN

SN: 10001-UP

1шт.

17

381-976198-1

PLATE¤ NAME,ENGINE OIL DRAIN

SN: 10001-UP

1шт.

18

385-11376231

PLATE¤ NAME,ENGINE BYPASS OIL FILTER DRAIN

SN: 10001-UP

1шт.

19

385-11050121

PLATE¤ CAUTION,TRANSMISSION OIL LEVEL

SN: 10001-UP

1шт.

20

385-10177471

PLATE¤ CAUTION,FRAME LOCK

SN: 10001-UP

1шт.

21

385-10328752

CHART¤ OIL

SN: 10001-UP

1шт.

22

385-10177491

PLATE¤ SAFETY,KEEP OUT

SN: 10001-UP

2шт.

23

385-11337721

PLATE¤ NAME,GREASING

SN: 10001-UP

1шт.

24

385-10330531

PLATE¤ MARK,KI

SN: 10001-UP

1шт.

25

385-10177431

PLATE¤ CAUTION,WARNING

SN: 10001-UP

1шт.

26

380-886877-2

PLATE¤ NAME,WORKING LAMP

SN: 10001-UP

1шт.

27

381-977288-1

PLATE¤ CAUTION,ENGINE OIL PRESSURE

SN: 10001-UP

1шт.

28

385-10259531

PLATE¤ OPERATING,BRAKE PEDAL

SN: 10001-UP

1шт.

29

381-989956-1

PLATE¤ OPERATING,COLD START

SN: 10001-UP

1шт.

30

385-10160711

PLATE¤ OPERATING,HYDRAULIC CONTROL LEVER

SN: 10001-UP

1шт.

31

381-980409-1

PLATE¤ CAUTION,LOW AIR PRESSURE

SN: 10001-UP

1шт.

32

385-10113551

PLATE¤ CAUTION,TORQUE CONVERTER OIL TEMP.

SN: 10001-UP

1шт.

33

380-885263-1

PLATE¤ CAUTION,AIR RESERVOIR

SN: 10001-UP

1шт.

34

385-10316421

PLATE¤ OPERATING,TRANSMISSION CONTROL

SN: 10001-UP

1шт.

35

385-10267572

PLATE¤ OPERATING,PARKING BRAKE

SN: 10001-UP

1шт.

Выбрано товаров: 37