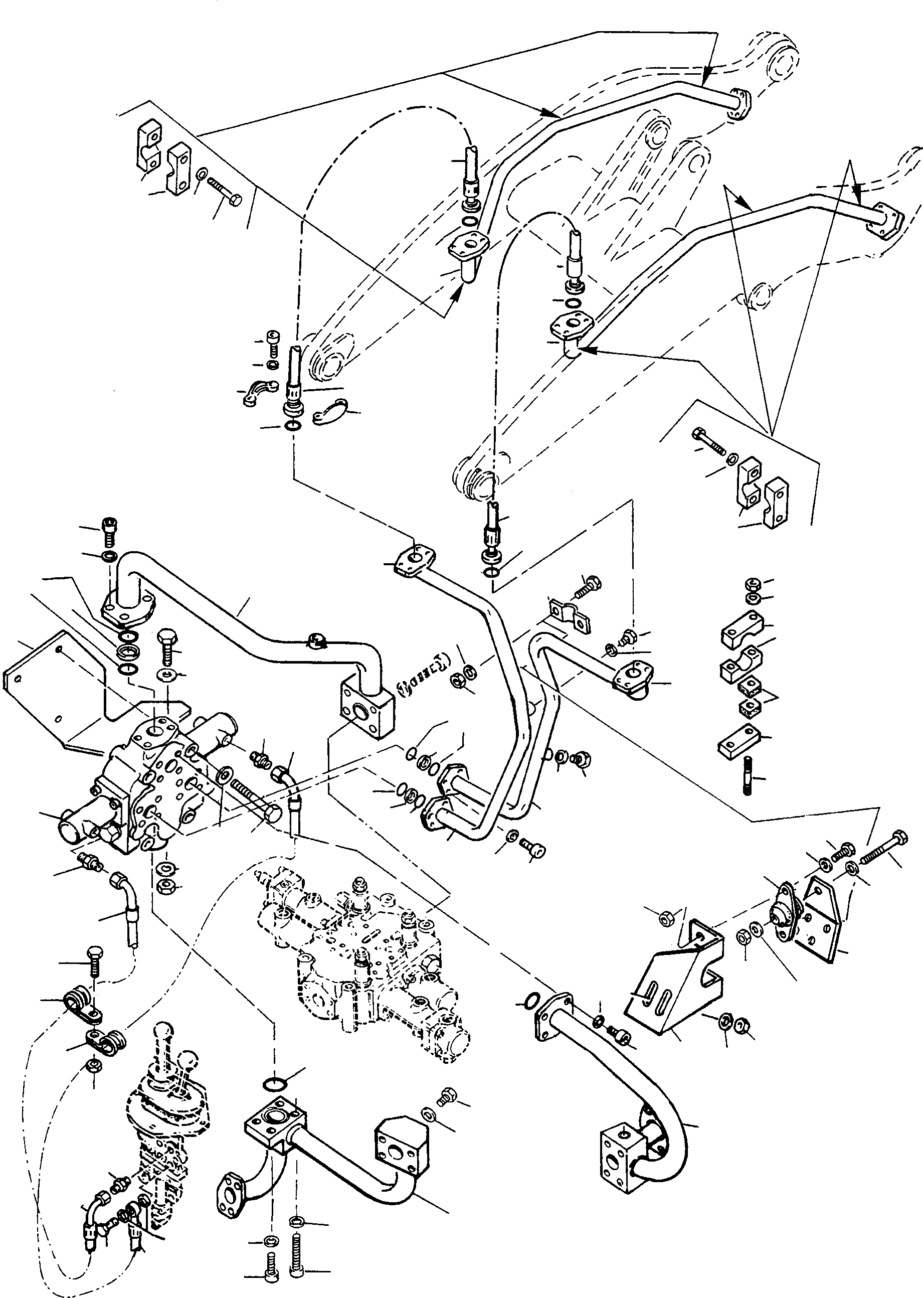
Запчасти Komatsu 60E ДОПОЛН. УПРАВЛЯЮЩ. КЛАПАН С ТРУБЫS, THREE WAYS ГИДРАВЛИКА

Схема запчастей Komatsu 60E - ДОПОЛН. УПРАВЛЯЮЩ. КЛАПАН С ТРУБЫS, THREE WAYS ГИДРАВЛИКА
48
62
18
37
39
46
47
41
39
44
41
42
45
43
39
40
40
41
47
48
39
53
46
41
52
30
10
38
29
50
49
51
16
31
35
1
4
17
5
11
32
34
12
63
64
33
13
36
17
12
16
13
2
11
12
22
9
23
8
10
21
15
6
63
14
26
7
27
24
65
25
70
28
61
27
69
60
20
68
55
19
71
16
59
17
63
65
54
56
56
66
67
64
58
57
FIT
1:1
100%

Артикул

Название

Примечание

Количество

1

4210315M1

BRACKET

DeutschDesc: HALTER

1шт.

2

4210257M91

CONTROL VALVE

DeutschDesc: STEUERVENTIL

1шт.

|$72

CONTROL VALVE

DeutschDesc: STEUERVENTIL

-3шт.

3

NOT USED

DeutschDesc: NICHT VERWENDET

-1шт.

4

390912X1

SCREW

DeutschDesc: SCHRAUBE

2шт.

5

391212X1

PLAIN WASHER

DeutschDesc: UNTERLEGSCHEIBE

2шт.

6

390735X1

PLAIN WASHER

DeutschDesc: UNTERLEGSCHEIBE

2шт.

7

1444330X1

NUT

DeutschDesc: MUTTER

2шт.

8

3002817X1

SCREW

DeutschDesc: SCHRAUBE

3шт.

9

390735X1

PLAIN WASHER

DeutschDesc: UNTERLEGSCHEIBE

3шт.

10

4210423M91

PIPE

DeutschDesc: ROHRLEITUNG

1шт.

11

4210422M91

PIPE

DeutschDesc: ROHRLEITUNG

1шт.

12

1444848X1

O-RING

DeutschDesc: O-RING

4шт.

13

2950918M1

THRUST RING

DeutschDesc: DRUCKRING

2шт.

14

391188X1

SCREW

DeutschDesc: SCHRAUBE

8шт.

15

1443790X1

SPRING WASHER

DeutschDesc: FEDERRING

8шт.

16

2994589M1

PLUG

EnglischBem: REPAIRS AND REPLACES 1444 266 X1

3шт.

17

1444744X1

SEAL

EnglischBem: ONLY FOR 1444 266 X1

3шт.

18

4210313M1

CONSOLE

DeutschDesc: KONSOLE

1шт.

19

391039X1

PLAIN WASHER

DeutschDesc: UNTERLEGSCHEIBE

2шт.

20

1444329X1

NUT

DeutschDesc: MUTTER

2шт.

21

2994696M91

BUFFER

DeutschDesc: PUFFER

1шт.

22

339761X1

SCREW

DeutschDesc: SCHRAUBE

2шт.

23

390972X1

PLAIN WASHER

DeutschDesc: UNTERLEGSCHEIBE

2шт.

24

1444329X1

NUT

DeutschDesc: MUTTER

2шт.

25

4210312M1

BRACKET

DeutschDesc: HALTER

1шт.

26

391673X1

SCREW

DeutschDesc: SCHRAUBE

1шт.

27

391212X1

PLAIN WASHER

DeutschDesc: UNTERLEGSCHEIBE

2шт.

28

1444330X1

NUT

DeutschDesc: MUTTER

1шт.

29

1444645X1

CLIP

DeutschDesc: SCHELLE

2шт.

30

339123X1

SCREW

DeutschDesc: SCHRAUBE

4шт.

31

390972X1

PLAIN WASHER

DeutschDesc: UNTERLEGSCHEIBE

4шт.

32

1444329X1

NUT

DeutschDesc: MUTTER

4шт.

33

4211251M1

PLATE

DeutschDesc: PLATTE

2шт.

34

4201893M1

RUBBER

DeutschDesc: GUMMI

8шт.

35

4210798M1

CLIP

DeutschDesc: SCHELLE

4шт.

36

3005329X1

STUD BOLT

DeutschDesc: STIFTSCHRAUBE

4шт.

37

390597X1

PLAIN WASHER

DeutschDesc: UNTERLEGSCHEIBE

4шт.

38

1444331X1

NUT

DeutschDesc: MUTTER

4шт.

39

2993260X91

HOSE ASSEMBLY

DeutschDesc: SCHLAUCH VOLLST.

2шт.

40

3004943X1

HALF FLANGE

DeutschDesc: HALBFLANSCH

8шт.

41

1444847X1

O-RING

DeutschDesc: O-RING

4шт.

42

1441436X1

SCREW

DeutschDesc: SCHRAUBE

16шт.

43

1443790X1

SPRING WASHER

DeutschDesc: FEDERRING

16шт.

44

4210868M91

PIPE

DeutschDesc: ROHRLEITUNG

1шт.

45

4210869M91

PIPE

DeutschDesc: ROHRLEITUNG

1шт.

46

4210798M1

CLIP

DeutschDesc: SCHELLE

16шт.

47

391561X1

SCREW

DeutschDesc: SCHRAUBE

16шт.

48

1443790X1

SPRING WASHER

DeutschDesc: FEDERRING

16шт.

49

4210366M91

PIPE

DeutschDesc: ROHRLEITUNG

1шт.

50

1444849X1

O-RING

DeutschDesc: O-RING

2шт.

51

2950919M1

THRUST RING

DeutschDesc: DRUCKRING

1шт.

52

1443790X1

SPRING WASHER

DeutschDesc: FEDERRING

4шт.

53

1443717X1

SCREW

DeutschDesc: SCHRAUBE

4шт.

54

4210379M91

PIPE

DeutschDesc: ROHRLEITUNG

1шт.

55

1444848X1

O-RING

DeutschDesc: O-RING

1шт.

56

1443790X1

SPRING WASHER

DeutschDesc: FEDERRING

4шт.

57

1441757X1

SCREW

DeutschDesc: SCHRAUBE

2шт.

58

1444189X1

SCREW

DeutschDesc: SCHRAUBE

2шт.

59

4210589M91

PIPE

DeutschDesc: ROHRLEITUNG

1шт.

60

1444849X1

O-RING

DeutschDesc: O-RING

1шт.

61

1443790X1

SPRING WASHER

DeutschDesc: FEDERRING

4шт.

62

1441436X1

SCREW

DeutschDesc: SCHRAUBE

4шт.

63

3004063X1

STUD

DeutschDesc: STUTZEN

3шт.

64

2995911X91

HOSE ASSEMBLY

DeutschDesc: SCHLAUCH VOLLST.

1шт.

65

2995899X91

HOSE ASSEMBLY

DeutschDesc: SCHLAUCH VOLLST.

1шт.

66

339525X1

SEAL

DeutschDesc: DICHTRING

2шт.

67

2999668M1

BANJO BOLT

DeutschDesc: HOHLSCHRAUBE

1шт.

68

1444661X1

CLIP

DeutschDesc: SCHELLE

1шт.

69

1444658X1

HOLDING CLAMP

DeutschDesc: HALTESCHELLE

1шт.

70

339666X1

SCREW

DeutschDesc: SCHRAUBE

1шт.

71

339030X1

NUT

DeutschDesc: MUTTER

1шт.

Выбрано товаров: 72