Запчасти Komatsu 66C TIMING КОРПУС ШЕСТЕРЕНН. ПЕРЕДАЧИ И КАРТЕР МАХОВИКА ДВИГАТЕЛЬ, АКСЕССУАРЫ И ЭЛЕКТРИЧ. СИСТЕМА

Схема запчастей Komatsu 66C - TIMING КОРПУС ШЕСТЕРЕНН. ПЕРЕДАЧИ И КАРТЕР МАХОВИКА ДВИГАТЕЛЬ, АКСЕССУАРЫ И ЭЛЕКТРИЧ. СИСТЕМА
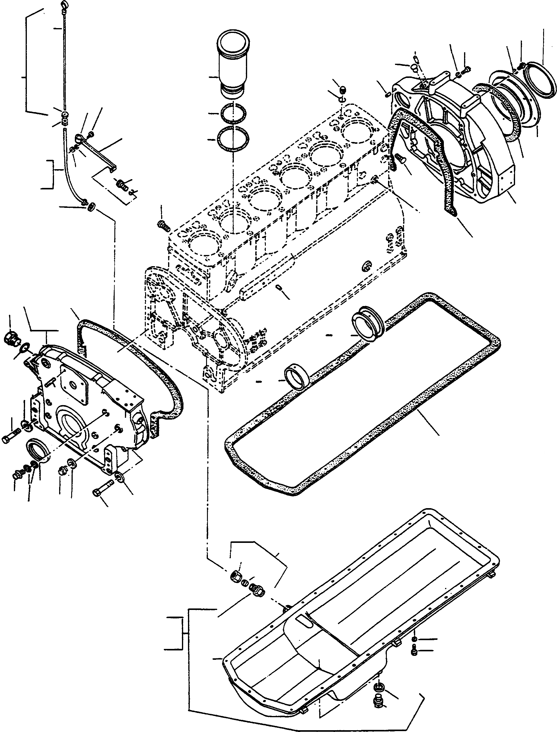
19
56
53
59
1A
24
47A
47B
22
49
26
48
21
23
25
28
27
64
52
29
61
54
60
65
55
66
18
62
20
63
67
57
30
68
30
58
16
17
2
31
69
1
36
32
70
37
41
5
12
4
42
3
10
8
7
9
11
6
47
46
43
51
44
50
45
FIT
1:1
100%

Артикул

Название

Примечание

Количество

1

2872231M1

COVER

EnglischBem: SN: - 10660540

1шт.

1A

3086021M1

COVER

EnglischBem: SN: 10660541 -

1шт.

2

2870925M1

GASKET

DeutschDesc: DICHTUNG

1шт.

3

2998590M2

SEAL

EnglischBem: REPAIRS AND REPLACES 1444 836 X1

1шт.

4

1443651X1

SCREW

DeutschDesc: SCHRAUBE

4шт.

5

1443789X1

SPRING WASHER

DeutschDesc: FEDERRING

4шт.

6

1443650X1

SCREW

DeutschDesc: SCHRAUBE

6шт.

7

1443789X1

SPRING WASHER

DeutschDesc: FEDERRING

6шт.

8

1441511X1

SCREW

EnglischBem: NOT EXISTING FOR REVOLUTION COUNTER SN: - 10660540

1шт.

9

390855X1

SEAL

EnglischBem: NOT EXISTING FOR REVOLUTION COUNTER SN: - 10660540

1шт.

10

339423X1

SCREW

DeutschDesc: SCHRAUBE

1шт.

11

391376X1

SEAL

DeutschDesc: DICHTRING

2шт.

12

1443730X1

STUD BOLT

DeutschDesc: STIFTSCHRAUBE

4шт.

13

NOT USED

DeutschDesc: NICHT VERWENDET

-1шт.

14

NOT USED

DeutschDesc: NICHT VERWENDET

-1шт.

15

NOT USED

DeutschDesc: NICHT VERWENDET

-1шт.

16

2871110M1

HOUSING

DeutschDesc: GEHAEUSE

1шт.

17

2871070M1

GASKET

DeutschDesc: DICHTUNG

1шт.

18

2969529M1

CARRIER

DeutschDesc: TRAEGER

1шт.

19

2999623M3

SEAL

DeutschDesc: DICHTRING

1шт.

20

2992761M1

GASKET

EnglischBem: REPAIRS AND REPLACES 2870935M1

1шт.

21

339123X1

SCREW

DeutschDesc: SCHRAUBE

6шт.

22

1443789X1

SPRING WASHER

DeutschDesc: FEDERRING

6шт.

23

1444093X1

SCREW

DeutschDesc: SCHRAUBE

9шт.

24

1443792X1

SPRING WASHER

DeutschDesc: FEDERRING

9шт.

25

2999793M1

PLUG

DeutschDesc: VERSCHLUSSSTOPFEN

1шт.

26

2868010M1

POINTER

DeutschDesc: ZEIGER

1шт.

27

1444224X1

STUD BOLT

DeutschDesc: STIFTSCHRAUBE

3шт.

28

2976200M1

TUBE

DeutschDesc: ROHR

6шт.

29

2997352M1

SEAL

DeutschDesc: DICHTRING

6шт.

30

1444207X1

SCREW

DeutschDesc: SCHRAUBE

3шт.

31

1444402X1

DOWEL

DeutschDesc: ZYLINDERSTIFT

2шт.

32

2870835M91

LAPPED BEARING

EnglischBem: 105,00 MM

1шт.

33

2870859M91

LAPPED BEARING

EnglischBem: 104,75 MM FOR REPAIRS

1шт.

34

2870860M91

LAPPED BEARING

EnglischBem: 104,50 MM FOR REPAIRS

1шт.

35

2870861M91

LAPPED BEARING

EnglischBem: 104,25 MM FOR REPAIRS

1шт.

36

2870862M91

LAPPED BEARING

EnglischBem: 104,00 MM FOR REPAIRS

1шт.

37

2870836M91

SLIDER BEARING

EnglischBem: 105,00 MM

6шт.

38

2870863M91

SLIDER BEARING

EnglischBem: 104,75 MM FOR REPAIRS

6шт.

39

2870864M91

SLIDER BEARING

EnglischBem: 104,50 MM FOR REPAIRS

6шт.

40

2870865M91

SLIDER BEARING

EnglischBem: 104,25 MM FOR REPAIRS

6шт.

41

2870866M91

SLIDER BEARING

EnglischBem: 104,00 MM FOR REPAIRS

6шт.

42

2992770M1

GASKET

EnglischBem: REPAIRS AND REPLACES 2872191M1

1шт.

43

2872228M91

SUMP

EnglischBem: SN: - 10660393

1шт.

44

3089030M1

SUMP

EnglischBem: SN: 10660394 -

1шт.

45

SUMP

EnglischBem: ORDER 2872 228 M91

1шт.

46

2872210M1

STUD

EnglischBem: SN: - 10660393

1шт.

47

2992601M1

STUD

EnglischBem: SN: 10660394 -

1шт.

47A

339995X1

BOXNUT

DeutschDesc: UEBERWURFMUTTER

1шт.

47B

1443840X1

OLIVE

DeutschDesc: SCHNEIDRING

1шт.

48

1443748X1

PLUG

DeutschDesc: VERSCHLUSSSTOPFEN

2шт.

49

1443848X1

SEAL

DeutschDesc: DICHTRING

2шт.

50

339337X1

SCREW

DeutschDesc: SCHRAUBE

33шт.

51

1443789X1

SPRING WASHER

DeutschDesc: FEDERRING

33шт.

52

2872225M91

OIL DIPSTICK

DeutschDesc: OELMESSSTAB

1шт.

53

OIL DIPSTICK

EnglischBem: ORDER 2872 225 M91

1шт.

54

2871668M1

SEAL

DeutschDesc: DICHTRING

1шт.

55

1443845X1

NUT

EnglischBem: SN: - 10660393

1шт.

56

2872224M91

TUBE

EnglischBem: SN: - 10660393

1шт.

57

3089032M1

TUBE

EnglischBem: SN: 10660394 -

1шт.

58

391312X1

SEAL

EnglischBem: SN: - 10660393

1шт.

59

2872213M1

CLIP

EnglischBem: SN: - 10660393

1шт.

60

3079523M1

CLIP

EnglischBem: SN: 10660394 -

1шт.

61

339560X1

SCREW

DeutschDesc: SCHRAUBE

1шт.

62

1443791X1

SPRING WASHER

DeutschDesc: FEDERRING

1шт.

63

339030X1

NUT

DeutschDesc: MUTTER

1шт.

64

3093482M1

LINER

EnglischBem: REPAIRS AND REPLACES 2970 908 M1

6шт.

65

2997353M1

O-RING

DeutschDesc: O-RING

12шт.

66

2869916M2

SEAL

DeutschDesc: DICHTRING

12шт.

67

339123X1

SCREW

DeutschDesc: SCHRAUBE

1шт.

68

1443789X1

SPRING WASHER

DeutschDesc: FEDERRING

1шт.

69

3002098X1

SCREW

EnglischBem: SN: 10660541 -

1шт.

70

1442936X1

SEAL

EnglischBem: SN: 10660541 -

1шт.

Выбрано товаров: 73