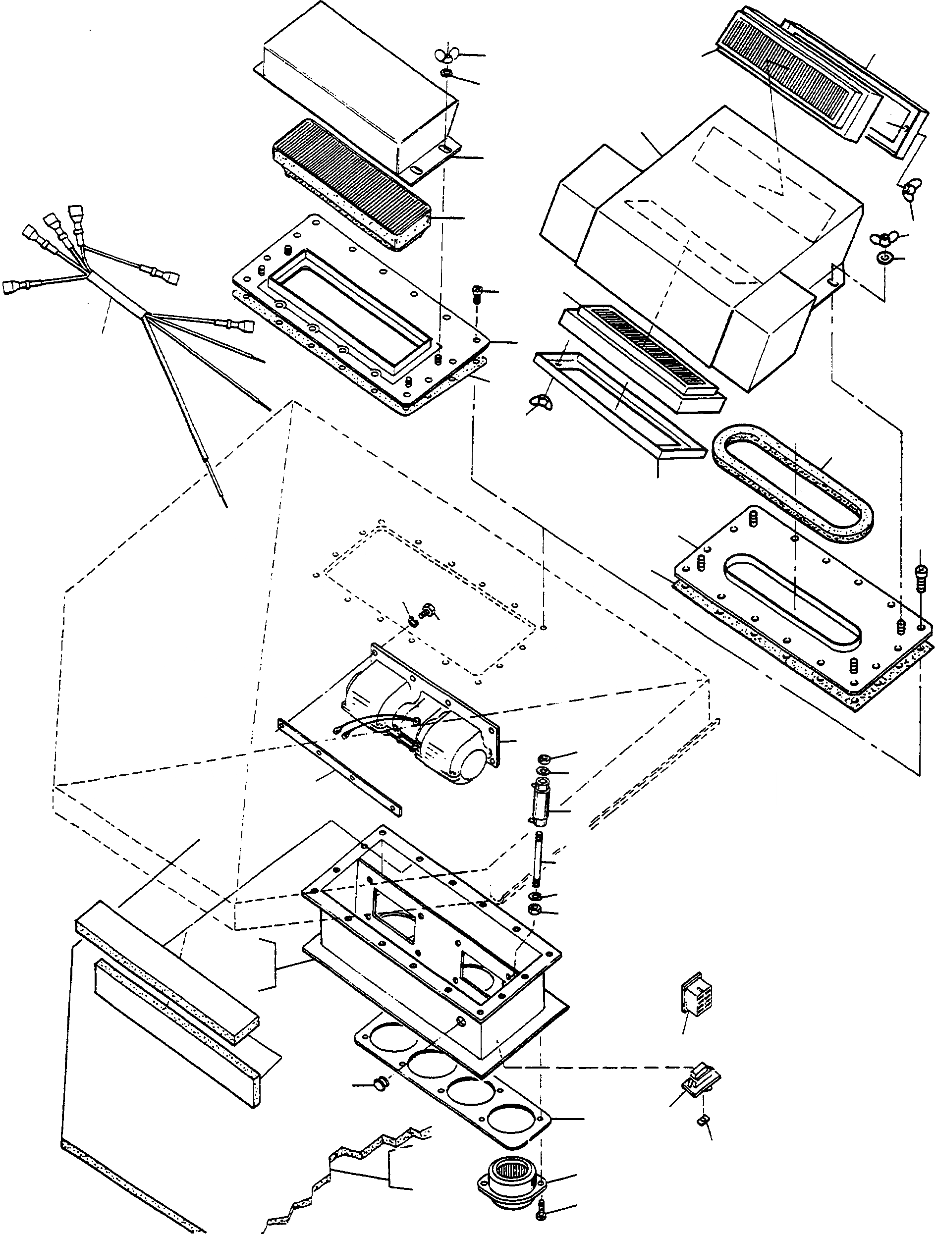
Запчасти Komatsu 66C ВЕНТИЛЯТОР В КРЫШЕ С ФИЛЬТР. ШАССИ И SUPERSTRUCTURE

Схема запчастей Komatsu 66C - ВЕНТИЛЯТОР В КРЫШЕ С ФИЛЬТР. ШАССИ И SUPERSTRUCTURE
7A
5A
5
14
27
1B
3A
6
7B
7B
7A
1A
5A
6A
1
7
4
3
25
2
4
2
13
11
17
18
12
15
16
18
17
8
9
19
10
26
24
28
22
20
23
21
FIT
1:1
100%

Артикул

Название

Примечание

Количество

1

2979088M91

COVERING

EnglischBem: EXECUTION I

1шт.

1A

4002159M91

CLADDING

EnglischBem: EXECUTION II

1шт.

1B

4002151M1

GASKET

EnglischBem: EXECUTION II

1шт.

2

2971788M1

GASKET

EnglischBem: 1600 MM

1шт.

3

2979084M91

PLATE

EnglischBem: EXECUTION I

1шт.

3A

4002150M91

PLATE

EnglischBem: EXECUTION II

1шт.

4

1444204X1

SCREW

DeutschDesc: SCHRAUBE

16шт.

5

3005929X1

WING NUT

EnglischBem: EXECUTION I

4шт.

5A

2995303X1

WING NUT

EnglischBem: EXECUTION II

8шт.

6

1443791X1

SPRING WASHER

DeutschDesc: FEDERRING

8шт.

6A

3001853X1

PLAIN WASHER

EnglischBem: EXECUTION II

4шт.

7

3093543M91

AIR FILTER

EnglischBem: EXECUTION I

1шт.

7A

3093543M91

AIR FILTER

EnglischBem: EXECUTION II

2шт.

7B

4002160M1

FRAME

EnglischBem: EXECUTION II

2шт.

8

2980928M91

CASE

DeutschDesc: KASTEN

1шт.

9

NOT USED

DeutschDesc: NICHT VERWENDET

-1шт.

10

2999999M1

RUBBER SOCKET

DeutschDesc: GUMMITUELLE

1шт.

11

3093542M91

BLOWER

DeutschDesc: GEBLAESE

1шт.

12

2980984M1

SLAT

DeutschDesc: LEISTE

2шт.

13

1443793X1

SPRING WASHER

DeutschDesc: FEDERRING

8шт.

14

390990X1

SCREW

DeutschDesc: SCHRAUBE

8шт.

15

2980933M1

RESISTOR

DeutschDesc: WIDERSTAND

1шт.

16

3097603M1

STUD BOLT

DeutschDesc: STIFTSCHRAUBE

1шт.

17

392290X1

NUT

DeutschDesc: MUTTER

2шт.

18

3006119X1

SPRING PLATE

DeutschDesc: FEDERSCHEIBE

4шт.

19

2980929M1

INSULATING MAT

DeutschDesc: DAEMMATTE

2шт.

20

3093121M1

AIR OUTLET

DeutschDesc: LUFTAUSSTROEMER

1шт.

21

3002033X1

PLOUGH BOLT

DeutschDesc: SENKSCHRAUBE

8шт.

22

2986166M1

ROOF COVERING

DeutschDesc: DACHVERKLEIDUNG

1шт.

23

NOT USED

DeutschDesc: NICHT VERWENDET

-1шт.

24

2980983M1

ORIFICE PLATE

DeutschDesc: BLENDE

1шт.

25

2980985M91

HARNESS

DeutschDesc: KABELBAUM

1шт.

26

2980986M91

SWITCH

DeutschDesc: SCHALTER

1шт.

27

2980989M1

ELECTRICAL PLUG

DeutschDesc: STECKER

1шт.

28

2980988M1

EMBLEM

DeutschDesc: EMBLEM

1шт.

Выбрано товаров: 35