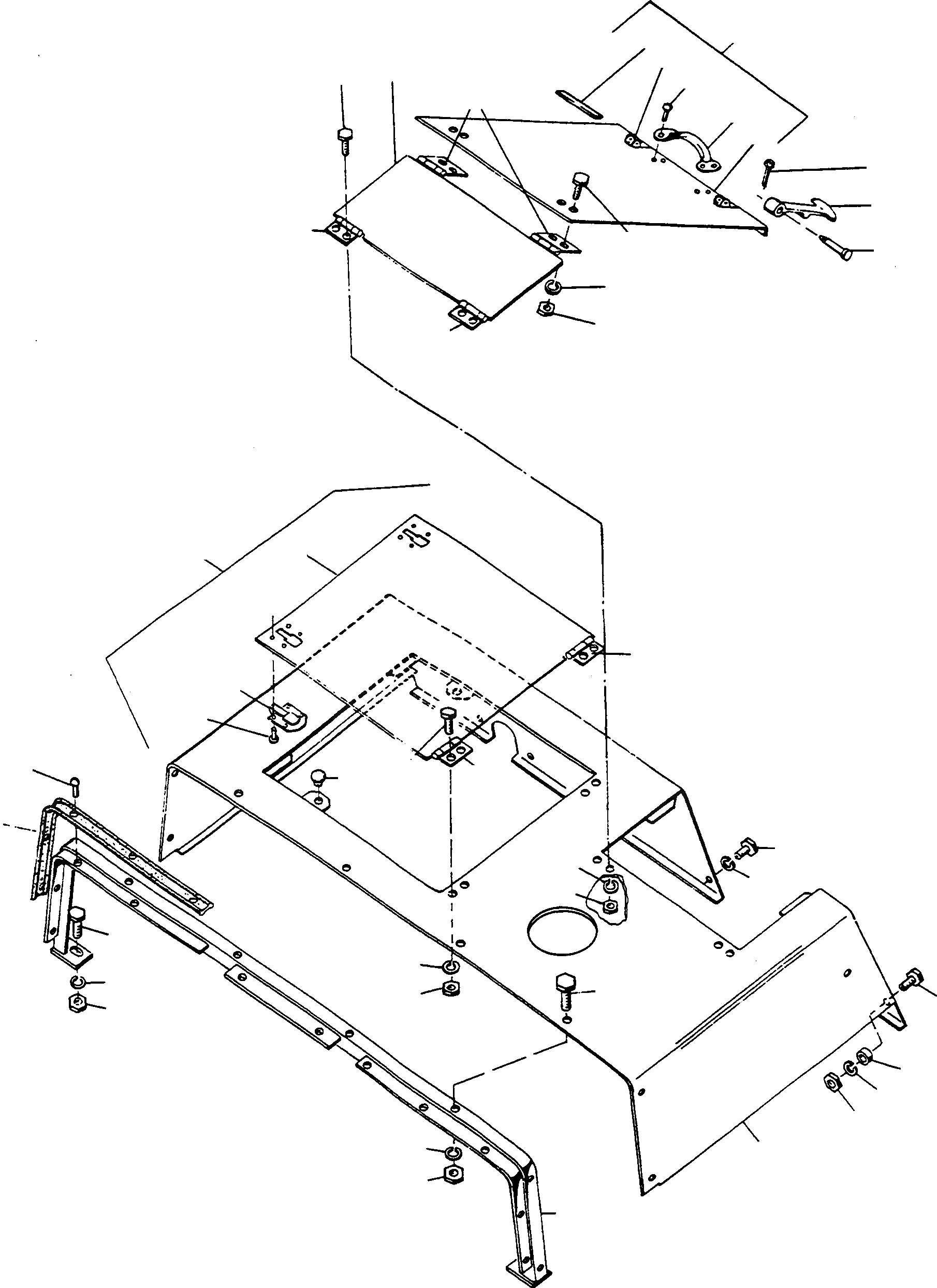
Запчасти Komatsu 77C КРЫШКА, EXECUTION I ШАССИ И SUPERSTRUCTURE

Схема запчастей Komatsu 77C - КРЫШКА, EXECUTION I ШАССИ И SUPERSTRUCTURE
23A
23A
23A
23
12
24
13
29
34
33
32
31
30
35
37
15A
27
15A
8
24
36
25
26
14
15
17
16
7
25
28
26
9
18
10
20
19
2
11
3
4
5
21
1
22
6
FIT
1:1
100%

Артикул

Название

Примечание

Количество

1

2969721M91

HOOD

EnglischBem: FOR AIR FILTER SYSTEM STANDARD

1шт.

2

339761X1

SCREW

DeutschDesc: SCHRAUBE

1шт.

3

2949182M1

TUBE

DeutschDesc: ROHR

1шт.

4

1443789X1

SPRING WASHER

DeutschDesc: FEDERRING

1шт.

5

339169X1

NUT

DeutschDesc: MUTTER

1шт.

6

2946022M91

BRACKET

DeutschDesc: HALTER

1шт.

7

3007708X1

BAND

EnglischBem: GOODS SOLD BY THE METER 1443 940 X1 1400 MM

1шт.

8

2994513M1

RIVET

EnglischBem: REPAIRS AND REPLACES 2999 751 M1

10шт.

9

339139X1

SCREW

DeutschDesc: SCHRAUBE

2шт.

10

1443792X1

SPRING WASHER

DeutschDesc: FEDERRING

2шт.

11

339054X1

NUT

DeutschDesc: MUTTER

2шт.

12

2946021M91

FLAP

DeutschDesc: KLAPPE

1шт.

13

FLAP

EnglischBem: ORDER 2946 021 M91

1шт.

14

2999876M1

LOCKING UNIT

DeutschDesc: VERSCHLUSS

2шт.

15

2994740M1

RIVET

EnglischBem: REPAIRS AND REPLACES 339 431 X1

8шт.

15A

2945941M1

HINGE

DeutschDesc: SCHARNIER

2шт.

16

2885698M1

PLUG

DeutschDesc: VERSCHLUSSSTOPFEN

2шт.

17

391074X1

SCREW

DeutschDesc: SCHRAUBE

4шт.

18

1443791X1

SPRING WASHER

DeutschDesc: FEDERRING

4шт.

19

1444294X1

NUT

DeutschDesc: MUTTER

4шт.

20

339123X1

SCREW

DeutschDesc: SCHRAUBE

8шт.

21

1443789X1

SPRING WASHER

DeutschDesc: FEDERRING

8шт.

22

339169X1

NUT

DeutschDesc: MUTTER

8шт.

23

2949189M91

FLAP

DeutschDesc: KLAPPE

1шт.

23A

2945941M1

HINGE

DeutschDesc: SCHARNIER

4шт.

24

391074X1

SCREW

DeutschDesc: SCHRAUBE

8шт.

25

1443791X1

SPRING WASHER

DeutschDesc: FEDERRING

8шт.

26

1444294X1

NUT

DeutschDesc: MUTTER

8шт.

27

339228X1

SCREW

DeutschDesc: SCHRAUBE

4шт.

28

1443789X1

SPRING WASHER

DeutschDesc: FEDERRING

4шт.

29

2949190M91

FLAP

DeutschDesc: KLAPPE

1шт.

30

FLAP

EnglischBem: ORDER 2949 190 M91

1шт.

31

2860706M1

GRIP

DeutschDesc: GRIFF

1шт.

32

2999754M1

RIVET

DeutschDesc: NIET

4шт.

33

2961469M1

FOOT

DeutschDesc: FUSS

2шт.

34

3071749M1

STOP

EnglischBem: 30 MM

2шт.

35

2877087M1

BONNET FASTENER

DeutschDesc: HAUBENHALTER

2шт.

36

2885689M1

PIN

DeutschDesc: BOLZEN

2шт.

37

1442956X1

COTTER

DeutschDesc: SPLINT

2шт.

Выбрано товаров: 39