Запчасти Komatsu 77C ПРИВОДRS СИДЕНЬЕ, EXECUTION I ШАССИ И SUPERSTRUCTURE

Схема запчастей Komatsu 77C - ПРИВОДRS СИДЕНЬЕ, EXECUTION I ШАССИ И SUPERSTRUCTURE
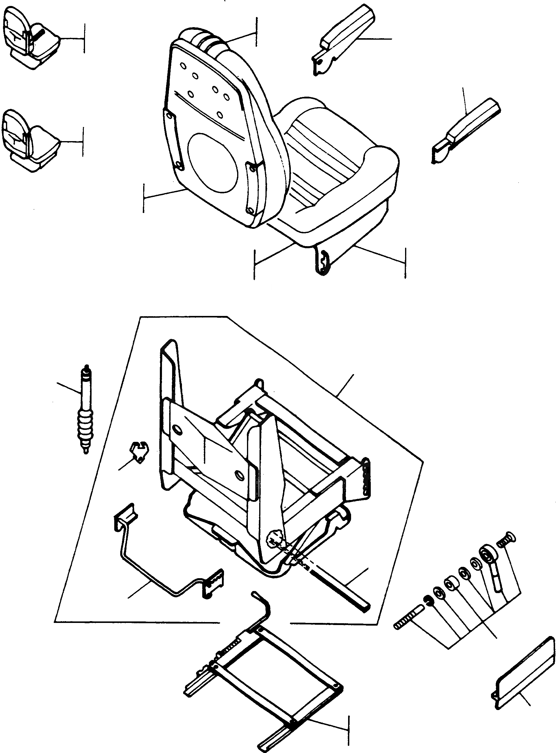
7
1
14
8
2
13
3
4
5
6
9
11
10
12
15
23
22
16
21
17
18
19
20
FIT
1:1
100%

Артикул

Название

Примечание

Количество

1

3093167M91

SEAT

EnglischBem: ORDER 2986 439 M91

1шт.

2

2976525M91

SEAT

EnglischBem: ORDER 2986 440 M91 WATER PROTECTED

1шт.

3

NOT USED

DeutschDesc: NICHT VERWENDET

-1шт.

4

NOT USED

DeutschDesc: NICHT VERWENDET

-1шт.

5

2924355M91

BACK REST

DeutschDesc: RUECKENLEHNE

1шт.

6

3241168M91

BACK REST

EnglischBem: WATER PROTECTED

1шт.

7

3241147M1

BACKREST COVERING

DeutschDesc: LEHNENBEZUG

1шт.

8

3241169M1

BACKREST COVERING

EnglischBem: WATER PROTECTED

1шт.

9

3241188M91

SEAT CUSHION

DeutschDesc: SITZKISSEN

1шт.

10

3241182M91

BOTTOM PART

EnglischBem: WATER PROTECTED

1шт.

11

3241153M1

SEAT COVERING

DeutschDesc: SITZBEZUG

1шт.

12

3241171M1

SEAT COVERING

EnglischBem: WATER PROTECTED

1шт.

13

3077398M1

ARM REST

EnglischBem: NOTE: Pos. (13) included in Pos. (1) and (2) Kit

1шт.

14

3077399M1

ARM REST

EnglischBem: NOTE: Pos. (14) included in Pos. (1) and (2) Kit

1шт.

15

3241183M91

FRAME

EnglischBem: NOTE: Pos. (15) included in Pos. (1) and (2) Kit

1шт.

16

2962652M1

TORSION BAR

DeutschDesc: DREHSTAB

2шт.

17

3241184M91

POSITIONER

EnglischBem: NOTE: Pos. (17) included in Pos. (1) and (2) Kit

1шт.

18

2972743M1

FINGER PROTECTOR

EnglischBem: SPECIAL EQUIPMENT

2шт.

19

3241186M91

SEAT SLIDE

EnglischBem: NOTE: Pos. (19) included in Pos. (1) and (2) Kit

1шт.

20

NOT USED

DeutschDesc: NICHT VERWENDET

-1шт.

21

2962674M1

LOCATOR

DeutschDesc: ARRETIERUNG

1шт.

22

2964100M1

BUFFER

DeutschDesc: PUFFER

2шт.

23

3241206M91

SHOCK ABSORBER

EnglischBem: NOTE: Pos. (23) included in Pos. (1) and (2) Kit

1шт.

Выбрано товаров: 23