Запчасти Komatsu JH60-1 ТОПЛИВН. БАК. (ДЛЯ BACK HOE)(№8-9) ОПЦИОННЫЕ КОМПОНЕНТЫ

Схема запчастей Komatsu JH60-1 - ТОПЛИВН. БАК. (ДЛЯ BACK HOE)(№8-9) ОПЦИОННЫЕ КОМПОНЕНТЫ
FIT
1:1
100%

Артикул

Название

Примечание

Количество

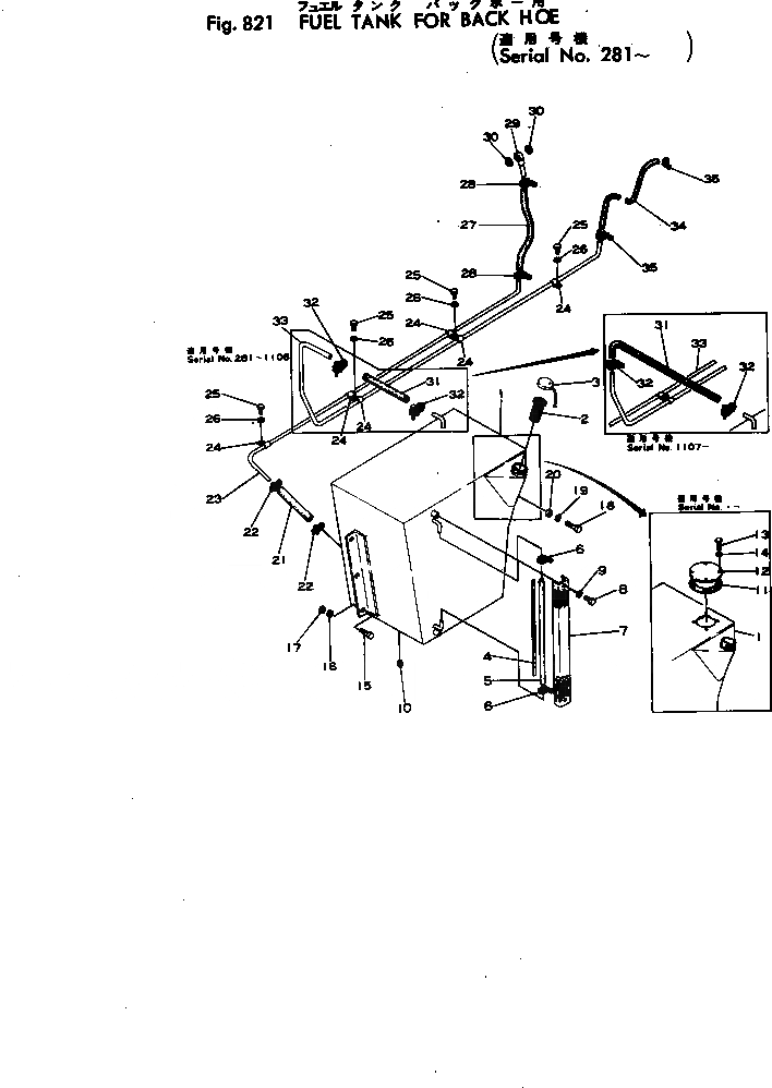
1

380-887316-3

TANK

SN: .-3916

1шт.

|1

0

TANK

SN: 768-.

1шт.

|1

0

TANK

SN: 281-767

1шт.

2

380-885107-1

FILTER

SN: 281-3916

1шт.

3

380-193421-1

CAP

SN: 281-3916

1шт.

4

380-887355-1

GAUGE

SN: 281-3916

1шт.

5

380-887354-1

TUBE

SN: 281-3916

1шт.

6

380-885177-1

CLAMP

SN: 281-3916

2шт.

7

380-887353-2

COVER

SN: 768-3916

1шт.

|7

380-887353-1

COVER

SN: 281-767

1шт.

8

380-S165-000

BOLT

SN: 768-3916

2шт.

|8

380-S144-000

BOLT

SN: 281-767

2шт.

9

380-WL16-000

WASHER

SN: 768-3916

2шт.

|9

380-WL14-000

WASHER

SN: 281-767

2шт.

10

380-888057-1

PLUG

SN: .-3916

1шт.

|10

380-P18-0000

PLUG

SN: 281-.

2шт.

11

380-155932-1

GASKET

SN: .-3916

1шт.

12

380-125751-1

COVER

SN: .-3916

1шт.

13

380-S168-000

BOLT

SN: .-3916

4шт.

14

380-125003-1

WASHER

SN: .-3916

4шт.

15

380-S11010-0

BOLT

SN: 281-3916

3шт.

16

380-WL110-00

WASHER

SN: 281-3916

3шт.

17

380-H110-000

NUT

SN: 281-3916

3шт.

18

380-S1810-00

BOLT

SN: 281-3916

2шт.

19

380-WL18-000

WASHER

SN: 281-3916

2шт.

20

380-H18-0000

NUT

SN: 281-3916

2шт.

21

380-887352-1

HOSE

SN: 281-3916

1шт.

22

380-887075-1

CLAMP

SN: 281-3916

2шт.

23

380-887351-1

TUBE

SN: 281-3916

1шт.

24

380-HL3550-0

CLIP

SN: 281-3916

6шт.

25

380-S164-000

BOLT

SN: 281-3916

4шт.

26

380-WL16-000

WASHER

SN: 281-3916

4шт.

27

380-886444-1

HOSE

SN: 281-3916

1шт.

28

380-887075-1

CLAMP

SN: 281-3916

2шт.

29

380-886442-2

TUBE

SN: 471-3916

1шт.

|29

0

TUBE

SN: 281-470

1шт.

30

07003-01419

GASKET

SN: 281-3916

2шт.

31

380-890447-1

HOSE

SN: 1107-3916

1шт.

|31

380-886720-1

HOSE

SN: 281-1106

1шт.

32

380-885177-1

CLAMP

SN: 1107-3916

2шт.

|32

380-887075-1

CLAMP

SN: 281-1106

2шт.

33

380-890433-1

TUBE

SN: 1107-3916

1шт.

|33

0

TUBE

SN: 281-1106

1шт.

|$$44

(380-890433-1{380-890447-1¤}

-1шт.

|$$45

380-885177-1(2))

-1шт.

34

381-970693-1

HOSE

SN: 2583-3916

1шт.

|34

0

HOSE

SN: 471-2582

1шт.

|$$48

(381-970693-1{380-887075-1(2))}

-1шт.

|34

0

HOSE

SN: 281-470

1шт.

35

380-887075-1

CLAMP

SN: 2583-3916

2шт.

|35

380-885177-1

CLAMP

SN: 281-2582

2шт.

Выбрано товаров: 51