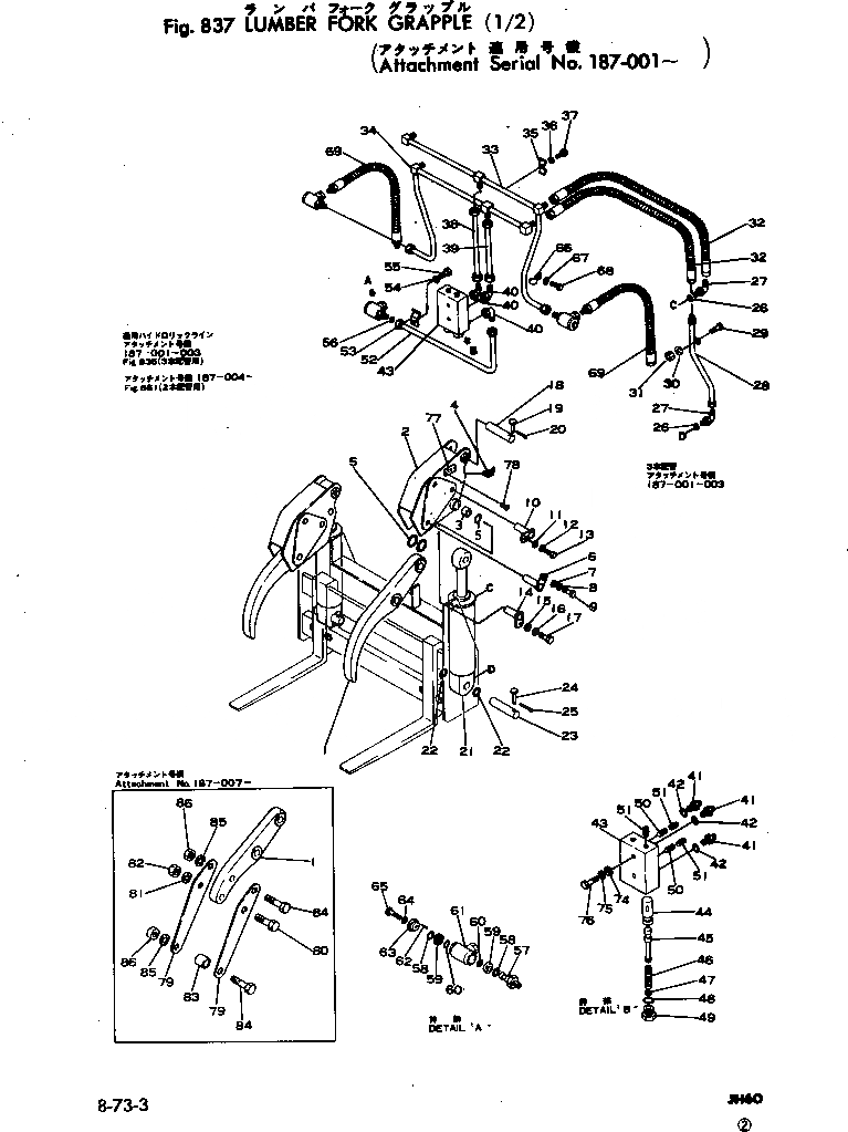
Запчасти Komatsu JH60-1 ЗАХВАТ РУКОЯТЬ (ДЛЯ LUMBER ВИЛЫ) (/) ОПЦИОННЫЕ КОМПОНЕНТЫ

Схема запчастей Komatsu JH60-1 - ЗАХВАТ РУКОЯТЬ (ДЛЯ LUMBER ВИЛЫ) (/) ОПЦИОННЫЕ КОМПОНЕНТЫ
FIT
1:1
100%

Артикул

Название

Примечание

Количество

|1

381-898966-2

GRAPPLE ARM ASS'Y

SN: (007)-UP

1шт.

|1

0

GRAPPLE ARM ASS'Y

SN: (004)-(006)

1шт.

|1

381-898269-1

GRAPPLE ARM ASS'Y

SN: (001)-(003)

1шт.

1

381-898221-2

ARM

SN: (004)-UP

2шт.

|1

0

ARM

SN: (001)-(003)

2шт.

2

381-898222-2

HOLDER

SN: (007)-UP

2шт.

|2

0

HOLDER

SN: (001)-(006)

2шт.

3

380-174037-1

BUSHING

SN: (001)-UP

4шт.

4

380-119692-1

FITTING

SN: (001)-UP

2шт.

5

380-172143-1

RING

SN: (001)-UP

4шт.

6

381-898223-2

PIN

SN: (007)-UP

2шт.

|6

0

PIN

SN: (001)-(006)

2шт.

7

380-WF18-000

WASHER

SN: (001)-UP

2шт.

8

380-WL18-000

WASHER

SN: (001)-UP

2шт.

9

380-S187-000

BOLT

SN: (001)-UP

2шт.

10

381-898224-2

PIN

SN: (007)-UP

2шт.

|10

0

PIN

SN: (001)-(006)

2шт.

11

380-WF18-000

WASHER

SN: (001)-UP

2шт.

12

380-WL18-000

WASHER

SN: (001)-UP

2шт.

13

380-S187-000

BOLT

SN: (001)-UP

2шт.

14

381-898235-1

PIN

SN: (001)-UP

2шт.

15

380-WF18-000

WASHER

SN: (001)-UP

2шт.

16

380-WL18-000

WASHER

SN: (001)-UP

2шт.

17

380-S187-000

BOLT

SN: (001)-UP

2шт.

18

381-898237-2

PIN

SN: (007)-UP

2шт.

|18

0

PIN

SN: (001)-(006)

2шт.

19

380-215860-1

PIN

SN: (001)-UP

2шт.

20

380-CP47-000

PIN

SN: (001)-UP

2шт.

21

380-889620-2

CYLINDER ASS'Y,(SEE FIG.838)

SN: (001)-UP

2шт.

22

380-160529-1

RING

SN: (001)-UP

4шт.

23

381-898237-2

PIN

SN: (007)-UP

2шт.

|23

0

PIN

SN: (001)-(006)

2шт.

24

380-898405-1

PIN

SN: (001)-UP

2шт.

25

380-CP47-000

PIN

SN: (001)-UP

2шт.

26

380-OR210-00

O-RING

SN: (001)-UP

4шт.

27

380-029110-0

ELBOW

SN: (001)-UP

4шт.

28

380-889615-1

TUBE

SN: (001)-UP

2шт.

29

380-S157-000

SCREW

SN: (001)-UP

2шт.

30

380-WL15-000

WASHER

SN: (001)-UP

2шт.

31

380-H15-0000

NUT

SN: (001)-UP

2шт.

32

380-889805-1

HOSE

SN: (004)-UP

4шт.

|32

0

HOSE

SN: (001)-(003)

4шт.

33

381-898992-1

TUBE

SN: (004)-UP

1шт.

|33

380-889603-1

TUBE

SN: (001)-(003)

1шт.

34

381-898995-1

TUBE

SN: (004)-UP

1шт.

|34

380-889601-1

TUBE

SN: (001)-(003)

1шт.

35

380-887504-1

CLAMP

SN: (001)-UP

2шт.

36

380-WL15-000

WASHER

SN: (001)-UP

2шт.

37

380-S158-000

BOLT

SN: (001)-UP

2шт.

38

381-898994-1

TUBE

SN: (004)-UP

1шт.

|38

381-898226-1

TUBE

SN: (001)-(003)

1шт.

39

381-898993-1

TUBE

SN: (004)-UP

1шт.

|39

381-898225-1

TUBE

SN: (001)-(003)

1шт.

40

380-029010-0

ELBOW

SN: (001)-(003)

3шт.

41

380-020510-0

ADAPTER

SN: (004)-UP

4шт.

|41

380-889157-1

ADAPTER

SN: (001)-(003)

3шт.

42

380-OR210-00

O-RING

SN: (004)-UP

4шт.

|42

380-OR214-00

O-RING

SN: (001)-(003)

3шт.

|43

380-889158-1

RELIEF VALVE ASS'Y

SN: (001)-(003)

1шт.

43

0

HOUSING

SN: (001)-(003)

1шт.

44

0

SLEEVE

SN: (001)-(003)

2шт.

45

0

POPPET

SN: (001)-(003)

2шт.

46

380-889163-1

SPRING

SN: (001)-(003)

2шт.

47

380-WF36-000

WASHER

SN: (001)-(003)

6шт.

48

380-OR421-00

O-RING

SN: (001)-(003)

2шт.

49

380-889160-1

CAP

SN: (001)-(003)

2шт.

50

380-889165-1

SCREW

SN: (001)-(003)

2шт.

51

380-P42-0000

PLUG

SN: (001)-(003)

4шт.

52

381-898227-1

TUBE

SN: (001)-(003)

1шт.

53

380-889567-1

CLAMP

SN: (001)-(003)

2шт.

54

380-WL15-000

WASHER

SN: (001)-(003)

2шт.

55

380-S158-000

BOLT

SN: (001)-(003)

2шт.

56

380-OR212-00

O-RING

SN: (001)-(003)

3шт.

|57

380-143685-2

SWIVEL ASS'Y

SN: (001)-(003)

3шт.

57

380-886329-2

STEM

SN: (001)-(003)

1шт.

58

380-OR423-00

O-RING

SN: (001)-(003)

2шт.

59

380-886332-1

RING

SN: (001)-(003)

2шт.

60

380-888974-1

O-RING

SN: (001)-(003)

2шт.

61

380-886328-3

BODY

SN: (001)-(003)

1шт.

62

380-886331-1

PIN

SN: (001)-(003)

1шт.

63

380-886330-1

GUARD

SN: (001)-(003)

1шт.

64

380-WL14-000

WASHER

SN: (001)-(003)

1шт.

65

380-S244-000

BOLT

SN: (001)-(003)

1шт.

66

380-887505-1

CLAMP

SN: (001)-UP

2шт.

67

380-WL15-000

WASHER

SN: (001)-UP

2шт.

68

380-S159-000

BOLT

SN: (001)-UP

2шт.

69

380-889618-1

HOSE

SN: (004)-UP

2шт.

|69

380-889618-1

HOSE

SN: (001)-(003)

3шт.

74

380-WF16-000

WASHER

SN: (001)-(003)

2шт.

75

380-WL16-000

WASHER

SN: (001)-UP

2шт.

76

380-S1618-00

SCREW

SN: (004)-UP

2шт.

|76

380-S268-000

BOLT

SN: (001)-(003)

2шт.

77

381-898523-1

PLATE

SN: (001)-UP

1шт.

78

04418-03060

SCREW

SN: (001)-UP

2шт.

79

381-970874-1

ARM

SN: (007)-UP

4шт.

80

380-S11234-0

BOLT

SN: (007)-UP

2шт.

81

380-WL112-00

WASHER

SN: (007)-UP

2шт.

82

380-H112-000

NUT

SN: (007)-UP

2шт.

83

381-970875-1

SPACER

SN: (007)-UP

2шт.

84

380-S1832-00

SCREW

SN: (007)-UP

4шт.

85

380-WL18-000

WASHER

SN: (007)-UP

4шт.

86

380-H18-0000

NUT

SN: (007)-UP

4шт.

|87

380-219979-1

RELIEF VALVE ASS'Y

SN: (004)-UP

1шт.

87

380-220461-1

HOUSING

SN: (004)-UP

1шт.

88

380-220458-1

SLEEVE

SN: (004)-UP

1шт.

89

380-220459-1

POPPET

SN: (004)-UP

1шт.

90

380-220455-1

SPRING

SN: (004)-UP

1шт.

91

380-220456-1

GUIDE

SN: (004)-UP

1шт.

92

380-OR47-000

O-RING

SN: (004)-UP

1шт.

93

380-OR210-00

O-RING

SN: (004)-UP

1шт.

94

380-220457-1

NUT

SN: (004)-UP

1шт.

95

380-220454-1

NUT

SN: (004)-UP

1шт.

95A

380-220460-1

SCREW

SN: (004)-UP

1шт.

96

380-124529-1

NUT

SN: (004)-UP

1шт.

97

380-215073-1

NUT

SN: (004)-UP

1шт.

98

380-021012-0

PLUG

SN: (004)-UP

2шт.

99

380-OR212-00

O-RING

SN: (004)-UP

2шт.

|100

381-975202-1

SWIVEL ASS'Y

SN: (004)-UP

2шт.

100

381-975203-1

SEAL

SN: (004)-UP

2шт.

101

381-975204-1

RING

SN: (004)-UP

2шт.

102

381-975205-1

O-RING

SN: (004)-UP

2шт.

103

381-975207-1

WASHER

SN: (004)-UP

1шт.

104

381-975206-1

RING

SN: (004)-UP

1шт.

105

0

SHAFT

SN: (004)-UP

1шт.

106

0

ROTAR

SN: (004)-UP

1шт.

Выбрано товаров: 125