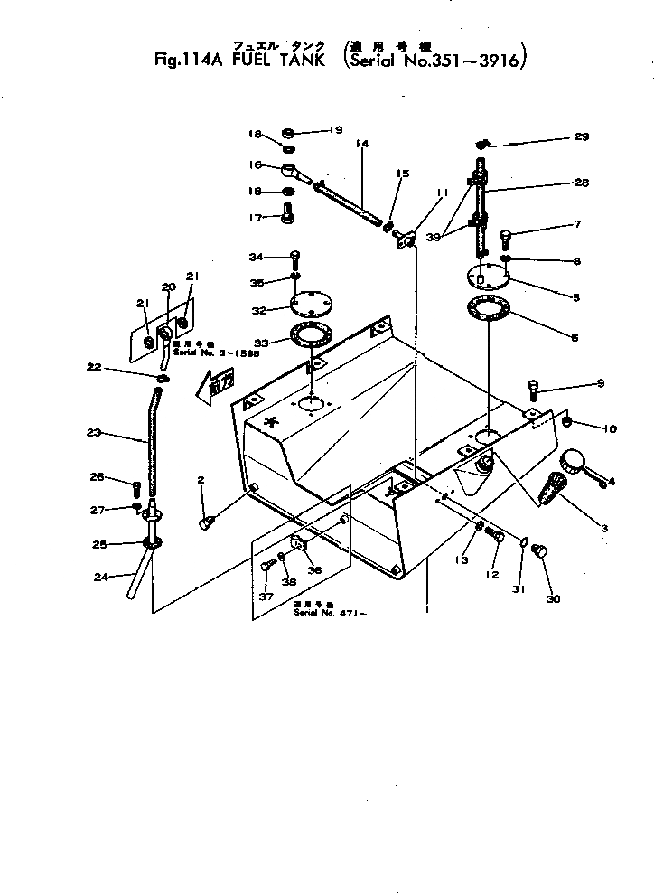
Запчасти Komatsu JH60-1 ТОПЛИВН. БАК.(№-9) КОМПОНЕНТЫ ДВИГАТЕЛЯ И ЭЛЕКТРИКА

Схема запчастей Komatsu JH60-1 - ТОПЛИВН. БАК.(№-9) КОМПОНЕНТЫ ДВИГАТЕЛЯ И ЭЛЕКТРИКА
FIT
1:1
100%

Артикул

Название

Примечание

Количество

1

380-888256-1

TANK

SN: 351-3916

1шт.

2

380-888057-1

PLUG

SN: 351-3916

2шт.

3

380-885107-1

FILTER

SN: 3-3916

1шт.

4

380-193421-1

CAP

SN: 3-3916

1шт.

5

380-885108-1

INLET

SN: 351-3916

1шт.

6

380-155932-1

GASKET

SN: 351-3916

1шт.

7

380-S168-000

BOLT

SN: 351-3916

4шт.

8

380-125003-1

WASHER

SN: 351-3916

4шт.

|8

0

WASHER

SN: (351-1201)

4шт.

9

380-S11018-0

BOLT

SN: 3-3916

6шт.

10

380-E110-000

NUT

SN: 3-3916

6шт.

11

380-886461-1

BOSS

SN: 3-3916

1шт.

12

380-S1610-00

BOLT

SN: 1287-3916

2шт.

|12

0

BOLT

SN: 3-1286

2шт.

13

380-WL16-000

WASHER

SN: 3-3916

2шт.

14

381-898059-1

HOSE

SN: 1239-3916

1шт.

|14

0

HOSE

SN: 3-1238

1шт.

15

380-886987-1

CLAMP

SN: 3-3916

2шт.

16

380-886092-1

TUBE

SN: 1675-3916

1шт.

|16

380-888737-1

TUBE

SN: 471-1674

1шт.

|16

380-886092-1

TUBE

SN: 3-470

1шт.

17

381-898645-1

BOLT

SN: 1899-3916

1шт.

|17

381-897347-1

BOLT

SN: 1880-1898

1шт.

|17

381-898645-1

BOLT

SN: 1675-1879

1шт.

|17

380-888736-1

BOLT

SN: 471-1674

1шт.

|17

380-885226-1

BOLT

SN: 3-470

1шт.

18

07005-02416

GASKET

SN: 1860-3916

2шт.

|18

0

GASKET

SN: 3-1859

2шт.

19

381-897346-1

SEAT

SN: 1880-1898

1шт.

20

380-886442-2

TUBE

SN: 1599-3916

1шт.

|20

0

TUBE

SN: 3-1598

1шт.

21

07003-01419

GASKET

SN: 3-3916

2шт.

22

380-887075-1

CLAMP

SN: 3-3916

2шт.

23

380-886444-1

HOSE

SN: 3-3916

1шт.

24

380-886091-1

TUBE

SN: 3-3916

1шт.

25

380-886094-1

GASKET

SN: 3-3916

1шт.

26

380-S169-000

BOLT

SN: 3-3916

3шт.

27

380-125003-1

WASHER

SN: 3-3916

3шт.

|27

0

WASHER

SN: (3-1201)

3шт.

28

381-970693-1

HOSE

SN: 2583-3916

1шт.

|28

0

HOSE

SN: 471-2582

1шт.

|$$42

(381-970693-1{380-887075-1(2))}

-1шт.

|28

0

HOSE

SN: 3-470

1шт.

29

380-887075-1

CLAMP

SN: 2583-3916

2шт.

|29

380-885177-1

CLAMP

SN: 3-2582

2шт.

30

380-021010-0

PLUG

SN: 3-3916

1шт.

31

380-OR210-00

O-RING

SN: 3-3916

1шт.

32

380-125751-1

COVER

SN: 351-3916

1шт.

33

380-155932-1

GASKET

SN: 3-3916

1шт.

34

380-S168-000

BOLT

SN: 3-3916

4шт.

35

380-125003-1

WASHER

SN: 3-3916

4шт.

|35

0

WASHER

SN: (3-1201)

4шт.

36

380-HL3550-0

CLIP

SN: 471-3916

1шт.

37

380-S144-000

BOLT

SN: 471-3916

1шт.

38

380-WL14-000

WASHER

SN: 471-3916

1шт.

39

380-888579-1

STRAP

SN: 1635-3916

2шт.

Выбрано товаров: 56