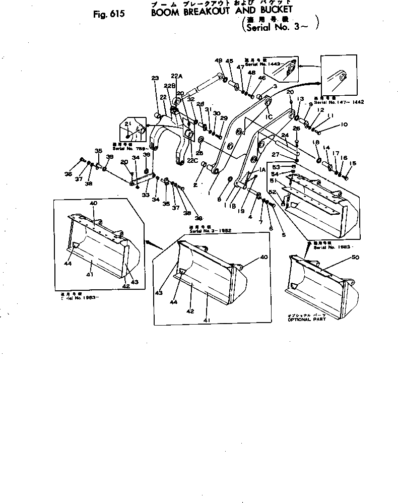
Запчасти Komatsu JH60-1 СТРЕЛА BREAKOUT И КОВШ РАБОЧЕЕ ОБОРУДОВАНИЕ И ITS СИСТЕМА УПРАВЛЕНИЯ

Схема запчастей Komatsu JH60-1 - СТРЕЛА BREAKOUT И КОВШ РАБОЧЕЕ ОБОРУДОВАНИЕ И ITS СИСТЕМА УПРАВЛЕНИЯ
FIT
1:1
100%

Артикул

Название

Примечание

Количество

1

380-174025-1

BOOM,L.H.

SN: 3-3916

1шт.

|1

380-890398-1

BOOM,R.H.

SN: 1443-3916

1шт.

|1

380-218141-1

BOOM,R.H.

SN: 147-1442

1шт.

|1

380-191201-1

BOOM,R.H.

SN: 3-146

1шт.

1A

380-174034-1

GUSSET

SN: 3-3916

2шт.

1B

380-174036-1

BOSS

SN: 3-3916

1шт.

1C

380-172194-1

BOSS

SN: 3-3916

1шт.

2

381-898103-1

BUSHING

SN: 1443-3916

2шт.

|2

0

BUSHING

SN: 3-1442

2шт.

|$$10

(381-898103-1(2){381-898102-2(2))}

-1шт.

3

380-172195-1

BUSHING

SN: 3-3916

2шт.

4

381-898102-2

PIN

SN: .-3916

2шт.

|4

0

PIN

SN: 1443-.

2шт.

|4

0

PIN

SN: 3-1442

2шт.

|$$15

(381-898102-2(2){381-898103-1(2))}

-1шт.

5

380-S187-000

BOLT

SN: 3-3916

2шт.

6

380-WL18-000

WASHER

SN: 3-3916

2шт.

7

380-WF18-000

WASHER

SN: 3-3916

2шт.

8

380-172143-1

RING

SN: 3-3916

4шт.

9

380-179513-1

PIN

SN: 3-3916

2шт.

10

380-S1108-00

SCREW

SN: 3-3916

2шт.

11

380-WL110-00

WASHER

SN: 3-3916

2шт.

12

380-WF110-00

WASHER

SN: 3-3916

2шт.

13

380-181614-1

RING

SN: 3-3916

4шт.

14

380-179517-1

PIN

SN: 3-3916

2шт.

15

380-S187-000

BOLT

SN: 3-3916

2шт.

16

380-WL18-000

WASHER

SN: 3-3916

2шт.

17

380-WF18-000

WASHER

SN: 3-3916

2шт.

18

380-191418-1

RING

SN: 3-3916

4шт.

19

380-119692-1

FITTING

SN: 15-3916

2шт.

20

380-118491-1

FITTING

SN: 759-3916

6шт.

|20

380-118491-1

FITTING

SN: 15-758

8шт.

|20

380-118491-1

FITTING

SN: 3-14

10шт.

21

380-118492-1

FITTING

SN: 759-3916

2шт.

22

380-174665-1

BELLCRANK

SN: 3-3916

1шт.

22A

380-174667-1

BOSS

SN: 3-3916

1шт.

22B

380-190726-1

BOSS

SN: 3-3916

1шт.

22C

380-172080-1

BOSS

SN: 3-3916

2шт.

23

380-172081-1

BUSHING

SN: 3-3916

2шт.

24

380-172090-1

SHAFT

SN: 3-3916

1шт.

25

380-181614-1

RING

SN: 3-3916

2шт.

26

380-S1848-00

SCREW

SN: 3-3916

2шт.

27

380-E18-0000

NUT

SN: 3-3916

2шт.

28

380-179517-1

PIN

SN: 2031-3916

1шт.

|28

380-179610-1

PIN

SN: 3-2030

1шт.

29

380-S187-000

BOLT

SN: 3-3916

1шт.

30

380-WL18-000

WASHER

SN: 3-3916

1шт.

31

380-WF18-000

WASHER

SN: 3-3916

1шт.

32

380-172143-1

RING

SN: 3-3916

2шт.

33

380-211655-2

LINK

SN: 2895-3916

2шт.

|33

0

LINK

SN: 3-2894

2шт.

34

381-898277-1

BUSHING

SN: 1395-3916

4шт.

|34

380-171890-1

BUSHING

SN: 3-1394

4шт.

35

381-898101-2

PIN

SN: .-3916

4шт.

|35

0

PIN

SN: 1443-.

4шт.

|35

0

PIN

SN: 3-1442

4шт.

36

380-S187-000

BOLT

SN: 3-3916

4шт.

37

380-WL18-000

WASHER

SN: 3-3916

4шт.

38

380-WF18-000

WASHER

SN: 3-3916

4шт.

39

380-172143-1

RING

SN: 3-3916

8шт.

40

381-898264-2

BUCKET

SN: .-3916

1шт.

|40

0

BUCKET

SN: 1983-.

1шт.

|40

0

BUCKET

SN: 3-1982

1шт.

|41

380-208716-2

EDGE

SN: .-3916

1шт.

|41

0

EDGE

SN: 3-.

1шт.

41

0

TIP

SN: .-3916

1шт.

|41

0

TIP

SN: 3-.

1шт.

42

0

PLATE

SN: .-3916

1шт.

|42

0

PLATE

SN: 3-.

1шт.

43

381-898275-1

EDGE

SN: 1983-3916

2шт.

|43

380-162251-1

EDGE

SN: 3-1982

2шт.

44

380-174397-1

GUSSET

SN: 3-3916

2шт.

45

380-179678-1

PIN

SN: 3-3916

1шт.

46

380-S1108-00

SCREW

SN: 3-3916

1шт.

47

380-WF110-00

WASHER

SN: 3-3916

1шт.

48

380-WL110-00

WASHER

SN: 3-3916

1шт.

49

380-181614-1

RING

SN: 3-3916

2шт.

50

380-887652-1

GUARD (WELDED)

SN: 3-1982

1шт.

|51

381-897833-1

SPILL GUARD

SN: 1983-3916

1шт.

51

381-897834-1

SPILL GUARD

SN: 1983-3916

1шт.

52

380-S2811-00

BOLT

SN: 1983-3916

7шт.

53

380-H28-0000

NUT

SN: 1983-3916

7шт.

54

380-WL48-000

WASHER

SN: 1983-3916

7шт.

Выбрано товаров: 0