Запчасти Komatsu JH65C-2 ЭЛЕКТРИКА¤ ПЕРЕДН.(№-) КОМПОНЕНТЫ ДВИГАТЕЛЯ И ЭЛЕКТРИКА

Схема запчастей Komatsu JH65C-2 - ЭЛЕКТРИКА¤ ПЕРЕДН.(№-) КОМПОНЕНТЫ ДВИГАТЕЛЯ И ЭЛЕКТРИКА
FIT
1:1
100%

Артикул

Название

Примечание

Количество

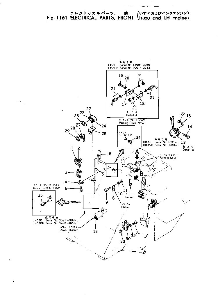
1

381-897072-3

LAMP ASS'Y,FRONT

SN: .-UP

2шт.

2

381-985652-1

BULB

SN: .-UP

2шт.

3

381-897096-1

PROTECTOR

SN: 417-UP

2шт.

4

381-972496-2

SUPPORT

SN: .-UP

2шт.

|4

0

SUPPORT

SN: 763-.

2шт.

5

380-173443-1

SCREW

SN: 763-UP

2шт.

6

08174-13116

MIRROR

SN: 763-UP

2шт.

7

08075-60000

SWITCH,TURN SIGNAL

SN: .-UP

1шт.

8

08077-32400

FLASHER

SN: 3081-UP

1шт.

|8

08077-22400

FLASHER

SN: 919-3080

1шт.

9

380-S155-000

BOLT

SN: 3-UP

1шт.

10

384-0120638

WASHER

SN: .-UP

1шт.

|10

0

WASHER

SN: 3-.

1шт.

11

380-H15-0000

NUT

SN: 3-UP

1шт.

12

381-975189-1

SWITCH,STOP LAMP

SN: 1279-UP

1шт.

13

381-971441-1

BUZZER

SN: 919-UP

1шт.

14

380-S144-000

BOLT

SN: 919-UP

1шт.

15

384-0131098

WASHER

SN: .-UP

1шт.

|15

0

WASHER

SN: 919-.

1шт.

16

380-H14-0000

NUT

SN: 919-UP

1шт.

17

381-976578-1

BRACKET

SN: 1399-3080

1шт.

18

381-976579-1

BRACKET

SN: 1399-3080

1шт.

19

380-S247-000

BOLT

SN: 2325-3080

2шт.

20

380-WL14-000

WASHER

SN: 1399-3080

2шт.

21

381-976620-1

SWITCH

SN: 1399-3080

2шт.

22

381-980948-2

LAMP,TURN SIGNAL¤ L.H.

SN: 3081-UP

1шт.

|22

0

LAMP,TURN SIGNAL¤ L.H.

SN: 1653-3080

1шт.

|22

381-980949-2

LAMP,TURN SIGNAL¤ R.H.

SN: 3081-UP

1шт.

|22

0

LAMP,TURN SIGNAL¤ R.H.

SN: 1653-3080

1шт.

23

08110-12410

BULB¤ 12W

SN: 1653-UP

1шт.

24

08105-12420

BULB¤ 25W

SN: 1653-UP

1шт.

25

381-980950-1

LENS

SN: 1653-UP

2шт.

26

381-981117-1

BRACKET

SN: 1653-UP

2шт.

27

381-981114-2

LAMP,PARKING

SN: 3081-UP

2шт.

|27

0

LAMP,PARKING

SN: 1653-3080

2шт.

28

08111-02430

BULB¤ 3W

SN: 1653-UP

1шт.

29

381-981113-1

LENS

SN: 1653-UP

2шт.

30

381-985772-1

RESISTOR

SN: .-UP

1шт.

31

380-132226-1

BOLT

SN: 3-UP

2шт.

32

01601-00513

WASHER

SN: 3-UP

2шт.

33

380-104466-1

NUT

SN: 3-UP

2шт.

34

385-10000992

SWITCH,LOW PRESSURE

SN: .-UP

1шт.

|34

0

SWITCH,LOW PRESSURE

SN: 3081-.

1шт.

35

381-975189-1

SWITCH,BUZZER

SN: 3081-3082

1шт.

Выбрано товаров: 44