Запчасти Komatsu JH65C-2 КОНЕЧНАЯ ПЕРЕДАЧА (PLANET ПРИВОД)(№-) ВЕДУЩ. ВАЛ¤ ДИФФЕРЕНЦ. И КОЛЕСА

Схема запчастей Komatsu JH65C-2 - КОНЕЧНАЯ ПЕРЕДАЧА (PLANET ПРИВОД)(№-) ВЕДУЩ. ВАЛ¤ ДИФФЕРЕНЦ. И КОЛЕСА
FIT
1:1
100%

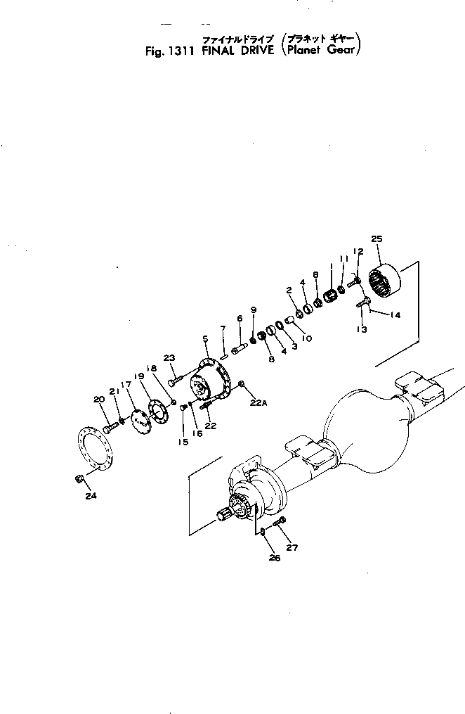
Артикул

Название

Примечание

Количество

|1

381-985066-2

AXLE ASS'Y,FRONT

SN: 2145-UP

1шт.

|1

381-985067-2

AXLE ASS'Y,REAR

SN: 2145-UP

1шт.

|1

380-193278-8

CARRIER ASS'Y

SN: (629)-UP

2шт.

|1

381-898207-1

PINION ASS'Y

SN: 9-UP

3шт.

1

380-193281-1

PINION

SN: 3-UP

1шт.

2

0

SPACER

SN: 3-UP

1шт.

|$$7

(385-10271011{385-11121161)}

-1шт.

3

382-304834-1

RING

SN: 3-UP

1шт.

4

380-890129-1

CUP

SN: 9-UP

2шт.

5

380-193285-4

CARRIER

SN: .-UP

1шт.

6

380-220972-3

SHAFT

SN: .-UP

3шт.

7

380-130019-1

PIN

SN: .-UP

3шт.

8

380-890128-1

CONE

SN: 9-UP

6шт.

9

380-221007-1

SPACER

SN: 3-UP

3шт.

10

380-221006-1

SPACER

SN: 3-UP

3шт.

11

380-221005-1

SPACER

SN: 3-UP

3шт.

12

381-891006-1

BOLT

SN: 517-UP

3шт.

13

380-S264D-00

BOLT

SN: 3-UP

2шт.

14

380-LW1632-0

WIRE

SN: 3-UP

1шт.

15

380-190302-1

PLUG

SN: 3-UP

2шт.

16

380-OR28-000

O-RING

SN: 3-UP

2шт.

17

381-985063-1

COVER

SN: .-UP

2шт.

|17

0

COVER

SN: 2607-.

2шт.

18

380-157045-1

BUTTON

SN: 3-2606

2шт.

19

380-193277-1

GASKET

SN: 3-UP

2шт.

20

380-S268-000

BOLT

SN: 3-UP

16шт.

21

380-125003-1

WASHER

SN: 3-UP

16шт.

22

381-982689-1

STUD

SN: 2217-UP

32шт.

22A

380-101735-1

NUT

SN: .-UP

32шт.

|22A

0

NUT

SN: 2217-.

32шт.

23

380-S2612-00

BOLT

SN: 393-UP

4шт.

24

381-978268-1

NUT

SN: 1641-UP

32шт.

25

380-193290-3

GEAR

SN: 1581-UP

2шт.

26

380-204678-3

PLATE

SN: 3-UP

8шт.

27

380-S255-000

BOLT

SN: .-UP

16шт.

|27

0

BOLT

SN: 3-.

16шт.

Выбрано товаров: 36