Запчасти Komatsu JH65C-2 ВОЗДУХООЧИСТИТЕЛЬ(№-) КОМПОНЕНТЫ ДВИГАТЕЛЯ И ЭЛЕКТРИКА

Схема запчастей Komatsu JH65C-2 - ВОЗДУХООЧИСТИТЕЛЬ(№-) КОМПОНЕНТЫ ДВИГАТЕЛЯ И ЭЛЕКТРИКА
FIT
1:1
100%

Артикул

Название

Примечание

Количество

|1

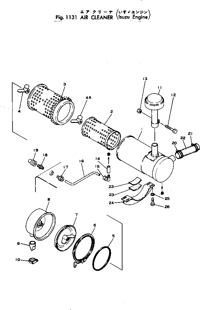
381-980162-3

AIR CLEANER ASS'Y

SN: .-UP

1шт.

|1

0

AIR CLEANER ASS'Y

SN: 3126-.

1шт.

|1

0

AIR CLEANER ASS'Y

SN: 1581-3125

1шт.

1

381-980701-1

BODY ASS'Y

SN: 1581-UP

1шт.

2

381-980702-1

ELEMENT,INNER

SN: 1581-UP

1шт.

3

381-980703-1

ELEMENT,OUTER

SN: 1581-UP

1шт.

4

385-10155521

NUT

SN: 3126-UP

1шт.

|4

0

NUT

SN: 1399-3125

1шт.

4A

385-10155602

NUT

SN: .-UP

1шт.

|4A

0

NUT

SN: 3126-.

1шт.

|4A

0

NUT

SN: 1399-3125

1шт.

5

380-888404-1

O-RING

SN: 3-UP

1шт.

6

380-888403-1

CLAMP ASS'Y

SN: 3-UP

1шт.

7

380-888401-1

BAFFLE ASS'Y

SN: 3-UP

1шт.

8

381-976327-1

CAP ASS'Y

SN: 1399-UP

1шт.

9

380-213773-1

VALVE

SN: 1399-UP

1шт.

10

381-898918-1

CLAMP

SN: 1399-UP

1шт.

11

381-975704-2

CAP ASS'Y

SN: 1399-UP

1шт.

12

380-S2614-00

BOLT

SN: 1399-UP

1шт.

13

380-E26-0000

NUT

SN: 1399-UP

1шт.

14

380-107352-1

COUPLING

SN: 763-UP

1шт.

15

380-175775-1

ELBOW

SN: 1399-UP

1шт.

16

380-888375-2

TUBE

SN: .-UP

1шт.

|16

0

TUBE

SN: 3081-.

1шт.

|16

380-887836-1

TUBE

SN: 1581-3080

1шт.

17

380-175773-1

CONNECTOR

SN: 763-UP

1шт.

18

381-971896-1

NIPPLE

SN: 763-UP

1шт.

19

380-890262-1

INDICATOR

SN: 763-UP

1шт.

20

382-422688-1

CLAMP

SN: 1520-UP

1шт.

21

382-391671-1

CLAMP

SN: 1520-UP

1шт.

22

381-980639-1

HOSE

SN: 1581-UP

1шт.

23

381-898641-1

PAD

SN: 1581-UP

2шт.

24

381-980172-1

CLAMP

SN: 1581-UP

1шт.

25

384-0131100

WASHER

SN: .-UP

4шт.

|25

0

WASHER

SN: 1581-.

4шт.

26

382-205079-1

BOLT

SN: .-UP

4шт.

|26

0

BOLT

SN: 1581-.

4шт.

Выбрано товаров: 37