Запчасти Komatsu JH65C-2 СТОЯНОЧНЫЙ ТОРМОЗ ЛИНИЯ(№8-) ВЕДУЩ. ВАЛ¤ ДИФФЕРЕНЦ. И КОЛЕСА

Схема запчастей Komatsu JH65C-2 - СТОЯНОЧНЫЙ ТОРМОЗ ЛИНИЯ(№8-) ВЕДУЩ. ВАЛ¤ ДИФФЕРЕНЦ. И КОЛЕСА
FIT
1:1
100%

Артикул

Название

Примечание

Количество

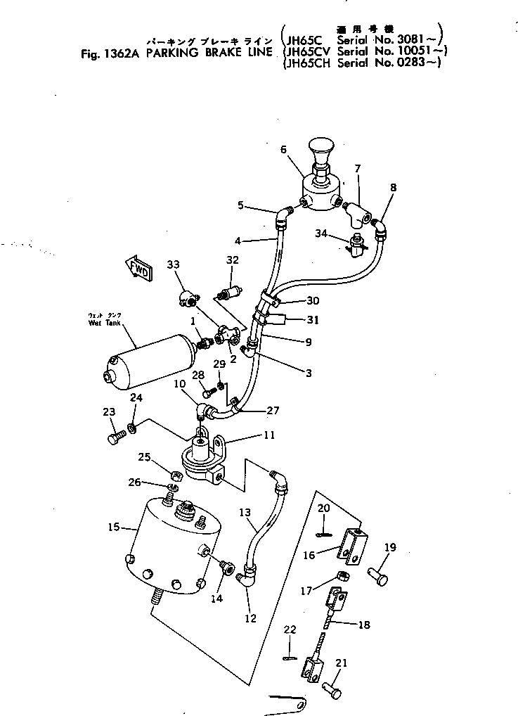
1

381-981871-1

BUSHING

SN: 3081-UP

1шт.

2

381-976072-1

TEE

SN: 3081-UP

1шт.

3

380-164839-1

ELBOW

SN: 3081-UP

1шт.

4

385-10019102

TUBE

SN: .-UP

1шт.

|4

0

TUBE

SN: 3081-.

1шт.

5

380-175775-1

ELBOW

SN: 3081-UP

1шт.

6

381-989122-1

VALVE ASS'Y,PARKING BRAKE

SN: 3081-UP

1шт.

7

380-175779-1

TEE

SN: 3081-UP

1шт.

8

380-182960-1

ELBOW

SN: 3081-UP

1шт.

9

381-897750-2

TUBE

SN: .-UP

1шт.

|9

0

TUBE

SN: 3081-.

1шт.

10

380-188902-1

ELBOW

SN: 3081-UP

1шт.

11

381-989117-1

VALVE,QUICK RELEASE

SN: 3081-UP

1шт.

12

380-175777-1

ELBOW

SN: 3081-UP

2шт.

13

385-10064812

TUBE

SN: .-UP

1шт.

|13

0

TUBE

SN: 3081-.

1шт.

14

380-166304-1

ADAPTER

SN: 3081-UP

1шт.

15

385-10001971

CYLINDER ASS'Y

SN: 3081-UP

1шт.

16

380-102278-1

YOKE

SN: 3081-UP

1шт.

17

380-H310-000

NUT

SN: 3081-UP

1шт.

18

381-899576-1

WIRE

SN: 3081-UP

1шт.

19

380-102279-1

PIN

SN: 3081-UP

1шт.

20

384-0103396

PIN

SN: .-UP

1шт.

|20

0

PIN

SN: 3081-.

1шт.

21

380-HL3486-0

PIN

SN: 3081-UP

1шт.

22

384-0107762

PIN

SN: .-UP

1шт.

|22

0

PIN

SN: 3081-.

1шт.

23

380-S256-000

BOLT

SN: 3081-UP

2шт.

24

380-WL15-000

WASHER

SN: 3081-UP

2шт.

25

382-025528-1

NUT

SN: .-UP

2шт.

|25

0

NUT

SN: 3081-.

2шт.

26

384-0131140

WASHER

SN: .-UP

2шт.

|26

0

WASHER

SN: 3081-.

2шт.

27

381-299400-1

CLAMP

SN: 3081-UP

1шт.

28

380-S265-000

SCREW

SN: 3081-UP

1шт.

29

380-WL16-000

WASHER

SN: 3081-UP

1шт.

30

382-129083-1

CLAMP

SN: 3081-UP

1шт.

31

381-976195-1

STRAP

SN: 3081-UP

3шт.

32

380-139434-1

VALVE

SN: 3-UP

1шт.

33

381-988678-2

SWITCH,LOW PRESSURE

SN: .-UP

1шт.

|33

0

SWITCH,LOW PRESSURE

SN: 2571-.

1шт.

|33

0

INDICATOR,LOW PRESSURE

SN: 1267-2570

1шт.

34

385-10000992

SWITCH,LOW PRESSURE

SN: .-UP

1шт.

|34

0

SWITCH,LOW PRESSURE

SN: 3081-.

1шт.

Выбрано товаров: 44