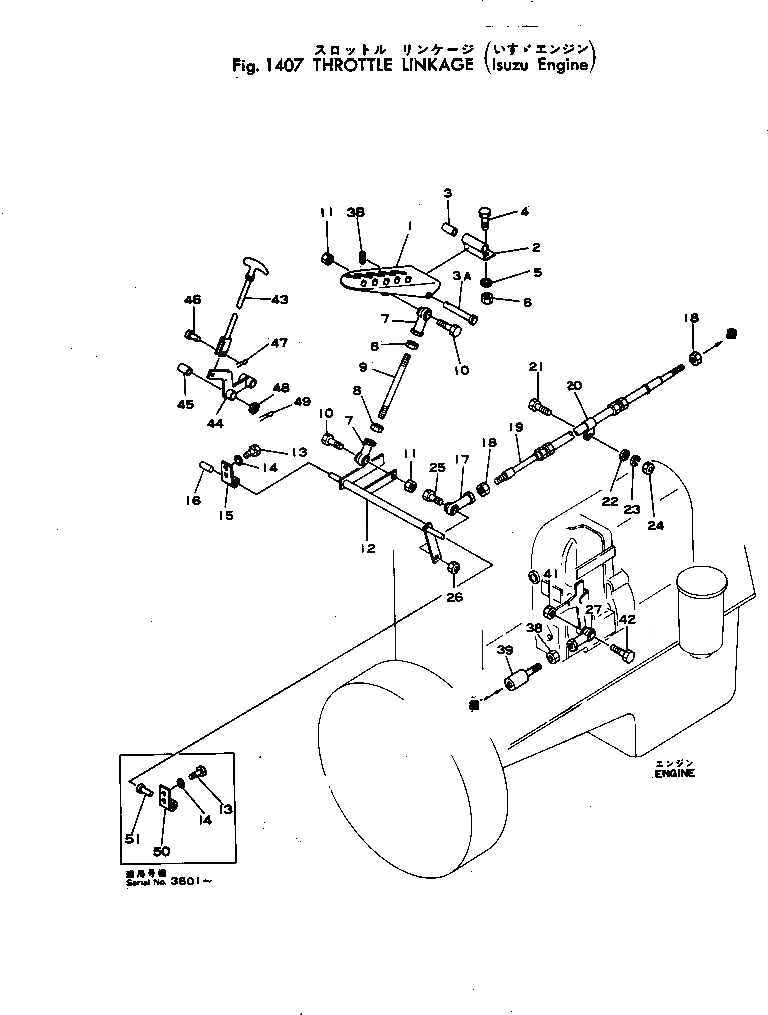
Запчасти Komatsu JH65C-2 THROTTLE МЕХАНИЗМ(№-) РУЛЕВ. УПРАВЛЕНИЕ И СИСТЕМА УПРАВЛЕНИЯ

Схема запчастей Komatsu JH65C-2 - THROTTLE МЕХАНИЗМ(№-) РУЛЕВ. УПРАВЛЕНИЕ И СИСТЕМА УПРАВЛЕНИЯ
FIT
1:1
100%

Артикул

Название

Примечание

Количество

|1

381-986138-1

PEDAL ASS'Y

SN: 2325-UP

1шт.

1

381-986139-1

PEDAL

SN: 2325-UP

1шт.

2

381-975746-1

HINGE

SN: 1399-UP

1шт.

3

382-370686-1

BUSHING

SN: 3-UP

2шт.

3A

380-178171-1

PIN

SN: 3-UP

1шт.

3B

380-143606-1

PIN

SN: 3-UP

1шт.

4

382-025222-1

BOLT

SN: .-UP

2шт.

|4

0

BOLT

SN: 2325-.

2шт.

5

384-0131098

WASHER

SN: .-UP

2шт.

|5

0

WASHER

SN: 3-.

2шт.

6

382-025519-1

NUT

SN: .-UP

2шт.

|6

0

NUT

SN: 2325-.

2шт.

7

385-10170151

END

SN: .-UP

2шт.

|7

0

END

SN: 2325-.

2шт.

8

380-H34-0000

NUT

SN: 2325-UP

2шт.

9

381-986989-1

ROD

SN: 2325-UP

1шт.

10

382-025484-1

BOLT

SN: .-UP

2шт.

|10

0

BOLT

SN: 2325-.

2шт.

11

380-E24-0000

NUT

SN: 2325-UP

2шт.

12

381-988835-1

BELLCRANK

SN: 2325-UP

1шт.

13

382-025222-1

BOLT

SN: .-UP

4шт.

|13

0

BOLT

SN: 2325-.

4шт.

14

384-0131098

WASHER

SN: .-UP

4шт.

|14

0

WASHER

SN: 3-.

4шт.

15

380-887936-1

BEARING ASS'Y

SN: 3081-UP

1шт.

|15

380-885033-1

BEARING

SN: 3-3080

2шт.

16

380-887916-1

BUSHING

SN: 3081-UP

1шт.

|16

380-885064-1

BUSHING

SN: 3-3080

1шт.

17

385-10170151

END

SN: .-UP

1шт.

|17

0

END

SN: 2325-.

1шт.

18

380-H34-0000

NUT

SN: 2325-UP

2шт.

19

381-981052-2

CABLE

SN: 2325-UP

1шт.

20

381-331739-1

CLAMP

SN: .-UP

1шт.

|20

381-977294-1

CLAMP

SN: 3-.

1шт.

21

382-026031-1

BOLT

SN: ..-UP

1шт.

|21

0

SCREW

SN: .-..

1шт.

|21

380-S269-000

BOLT

SN: 2325-.

1шт.

22

382-025552-1

WASHER

SN: ..-UP

2шт.

|22

0

WASHER

SN: .-..

1шт.

|22

380-WF16-000

WASHER

SN: 1399-.

1шт.

23

384-0120638

WASHER

SN: ..-UP

1шт.

|23

0

WASHER

SN: .-..

1шт.

|23

380-WL16-000

WASHER

SN: 1399-.

1шт.

24

382-025520-1

NUT

SN: ..-UP

1шт.

|24

0

NUT

SN: .-..

1шт.

|24

380-H26-0000

NUT

SN: 2325-.

1шт.

25

382-025484-1

BOLT

SN: .-UP

1шт.

|25

0

BOLT

SN: 2325-.

1шт.

26

380-E24-0000

NUT

SN: 2325-UP

1шт.

27

385-10170151

END

SN: .-UP

1шт.

|27

0

END

SN: 2325-.

1шт.

38

380-H34-0000

NUT

SN: 2325-UP

1шт.

39

381-988832-1

ROD

SN: 2325-UP

1шт.

41

380-E24-0000

NUT

SN: 2325-UP

2шт.

42

382-025484-1

BOLT

SN: .-UP

1шт.

|42

0

BOLT

SN: 2325-.

1шт.

43

381-989524-4

CABLE

SN: ...-UP

1шт.

|43

0

CABLE

SN: ..-...

1шт.

|43

0

CABLE

SN: .-..

1шт.

|43

0

CABLE

SN: 2325-.

1шт.

44

381-986143-1

LEVER ASS'Y

SN: 2325-UP

1шт.

45

380-887916-1

BUSHING

SN: 2325-UP

1шт.

46

381-978066-1

PIN

SN: 2325-UP

1шт.

47

384-0103361

PIN

SN: .-UP

1шт.

|47

0

PIN

SN: 2325-.

1шт.

48

382-025553-1

WASHER

SN: .-UP

1шт.

|48

0

WASHER

SN: 2325-.

1шт.

49

384-0107762

PIN

SN: .-UP

1шт.

|49

0

PIN

SN: 2325-.

1шт.

50

380-887935-1

BEARING ASS'Y

SN: 3081-UP

1шт.

51

380-887916-1

BUSHING

SN: 3081-UP

1шт.

Выбрано товаров: 0