Запчасти Komatsu JH65CH-2 КАБИНА¤ С ВСПОМОГ. СИДЕНЬЕ (ВСПОМОГ. СИДЕНЬЕ) ОПЦИОННЫЕ КОМПОНЕНТЫ

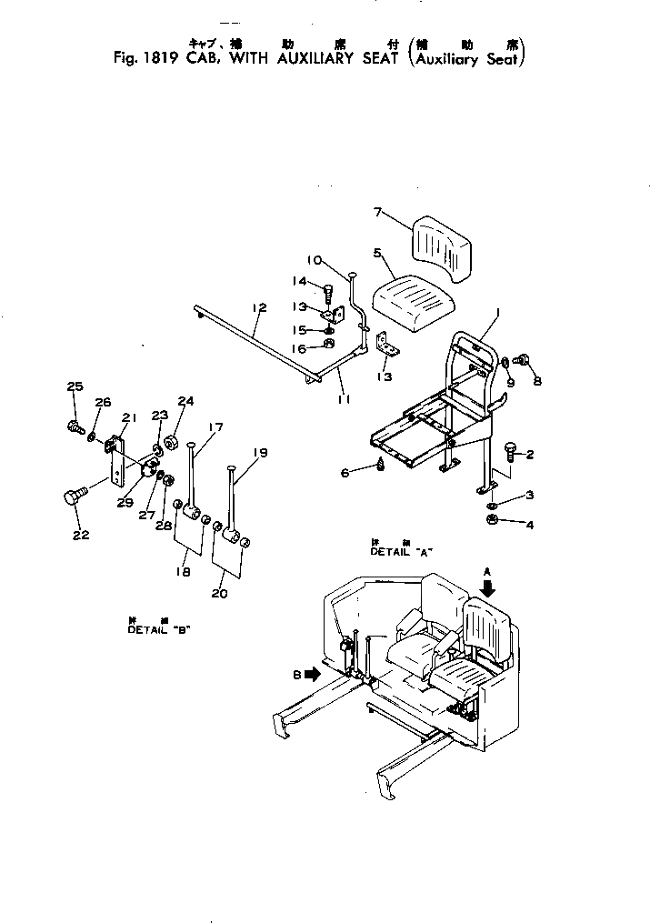
Схема запчастей Komatsu JH65CH-2 - КАБИНА¤ С ВСПОМОГ. СИДЕНЬЕ (ВСПОМОГ. СИДЕНЬЕ) ОПЦИОННЫЕ КОМПОНЕНТЫ
FIT
1:1
100%

Артикул

Название

Примечание

Количество

|1

381-985207-3

CAB ASS'Y

SN: ..-UP

1шт.

|1

0

CAB ASS'Y

SN: .-..

1шт.

1

381-971826-1

FRAME

SN: .-UP

1шт.

2

380-S159-000

BOLT

SN: .-UP

7шт.

3

380-WL15-000

WASHER

SN: .-UP

7шт.

4

380-H15-0000

NUT

SN: .-UP

7шт.

5

381-897838-1

SEAT

SN: .-UP

1шт.

6

01380-00416

SCREW

SN: .-UP

8шт.

7

380-887567-1

SEAT,BACK

SN: .-UP

1шт.

8

380-S146-000

BOLT

SN: .-UP

3шт.

9

380-WL14-000

WASHER

SN: .-UP

3шт.

17

381-971859-1

LEVER,BOOM

SN: .-UP

1шт.

18

380-144243-1

BUSHING

SN: .-UP

2шт.

19

381-971860-1

LEVER,BUCKET

SN: .-UP

1шт.

20

380-144243-1

BUSHING

SN: .-UP

2шт.

21

381-971861-1

BRACKET

SN: .-UP

1шт.

22

380-S168-000

BOLT

SN: .-UP

2шт.

23

380-WL16-000

WASHER

SN: .-UP

2шт.

24

380-H16-0000

NUT

SN: .-UP

2шт.

25

380-S147-000

BOLT

SN: .-UP

2шт.

26

380-WF14-000

WASHER

SN: .-UP

2шт.

27

380-WL14-000

WASHER

SN: .-UP

2шт.

28

380-H14-0000

NUT

SN: .-UP

2шт.

29

381-971862-1

HINGE

SN: .-UP

1шт.

Выбрано товаров: 24