Запчасти Komatsu JH65CH-2 ВОЗДУХООЧИСТИТЕЛЬ КОМПОНЕНТЫ ДВИГАТЕЛЯ И ЭЛЕКТРИКА

Схема запчастей Komatsu JH65CH-2 - ВОЗДУХООЧИСТИТЕЛЬ КОМПОНЕНТЫ ДВИГАТЕЛЯ И ЭЛЕКТРИКА
FIT
1:1
100%

Артикул

Название

Примечание

Количество

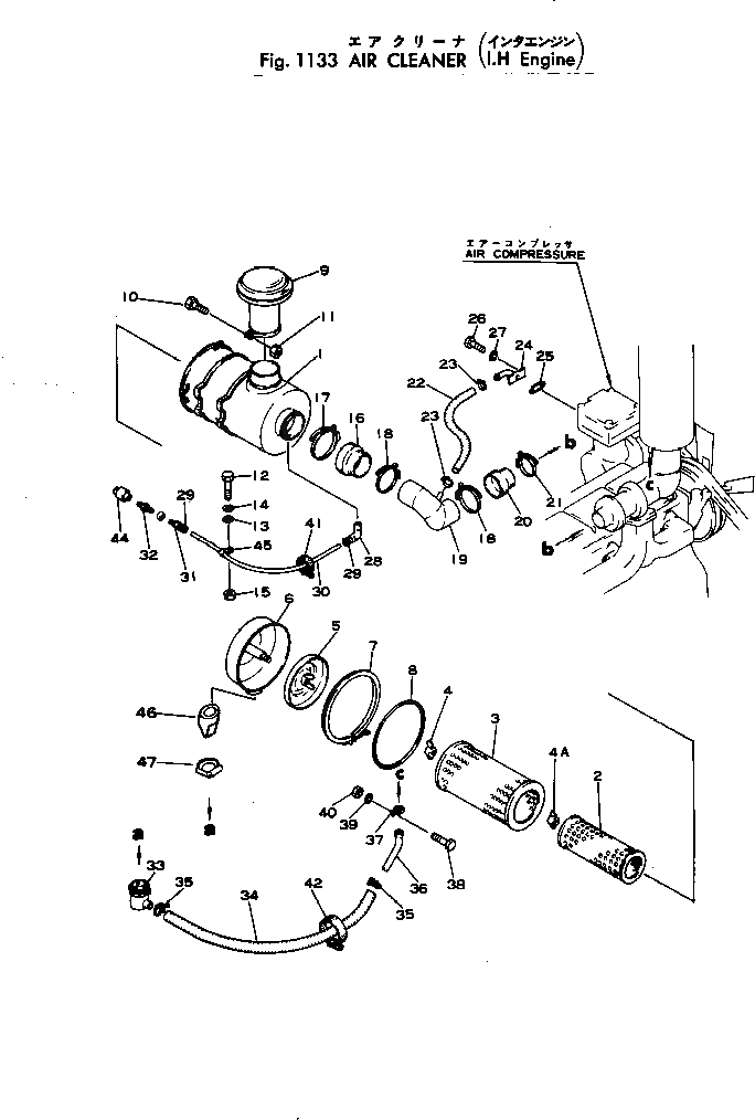
|1

381-982343-3

AIR CLEANER ASS'Y

SN: .-UP

1шт.

|1

0

AIR CLEANER ASS'Y

SN: 1-.

1шт.

1

381-982810-1

BODY ASS'Y

SN: 1-UP

1шт.

2

381-982811-1

ELEMENT,INNER

SN: 1-UP

1шт.

3

381-982812-1

ELEMENT,OUTER

SN: 1-UP

1шт.

4

385-10155521

NUT

SN: .-UP

1шт.

|4

0

NUT

SN: 1-.

1шт.

4A

385-10155602

NUT

SN: ..-UP

1шт.

|4A

0

NUT

SN: .-..

1шт.

|4A

0

NUT

SN: 1-.

1шт.

5

380-888401-1

BAFFLE ASS'Y

SN: 1-UP

1шт.

6

381-976327-1

CAP ASS'Y

SN: 1-UP

1шт.

7

380-888403-1

CLAMP ASS'Y

SN: 1-UP

1шт.

8

380-888404-1

O-RING

SN: 1-UP

1шт.

9

381-982367-1

PRECLEANER

SN: 1-UP

1шт.

10

380-S2614-00

BOLT

SN: 1-UP

1шт.

11

380-E26-0000

NUT

SN: 1-UP

1шт.

12

380-S269-000

BOLT

SN: 1-UP

4шт.

13

382-025553-1

WASHER

SN: .-UP

4шт.

|13

0

WASHER

SN: 1-.

4шт.

14

384-0131099

WASHER

SN: .-UP

4шт.

|14

0

WASHER

SN: 1-.

4шт.

15

382-025522-1

NUT

SN: .-UP

4шт.

|15

0

NUT

SN: 1-.

4шт.

16

381-986537-1

HOSE

SN: 1-UP

1шт.

17

381-982355-1

CLAMP

SN: 1-UP

1шт.

18

382-422688-1

CLAMP

SN: 1-UP

2шт.

19

381-986535-1

DUCT

SN: 1-UP

1шт.

20

381-986559-1

HOSE

SN: 1-UP

1шт.

21

382-122323-1

CLAMP

SN: 1-UP

1шт.

22

385-10084521

HOSE

SN: .-UP

1шт.

|22

0

HOSE

SN: 1-.

1шт.

23

382-333710-1

CLAMP

SN: 1-UP

2шт.

24

381-982346-2

ELBOW

SN: 1-UP

1шт.

|24

381-982346-1

ELBOW

SN: 1-UP

1шт.

25

382-302044-1

GASKET

SN: 1-UP

1шт.

26

382-025493-1

BOLT

SN: .-UP

2шт.

|26

0

SCREW

SN: 1-.

2шт.

27

384-0120638

WASHER

SN: .-UP

2шт.

|27

0

WASHER

SN: 1-.

2шт.

28

380-182866-1

ELBOW

SN: 1-UP

2шт.

29

380-888294-1

NUT

SN: 1-UP

2шт.

30

381-898702-1

TUBE

SN: 1-UP

1шт.

31

380-175773-1

CONNECTOR

SN: 1-UP

1шт.

|31

380-888294-1

NUT

SN: 1-UP

1шт.

32

381-971896-1

NIPPLE

SN: 1-UP

1шт.

33

381-927989-2

ADAPTER

SN: 1-282

1шт.

34

381-931188-1

HOSE

SN: 1-282

1шт.

35

382-279027-1

CLAMP

SN: 1-282

2шт.

36

381-927991-1

TUBE

SN: 1-282

1шт.

37

381-931187-1

CLAMP

SN: 1-282

1шт.

38

380-S269-000

BOLT

SN: 1-282

1шт.

39

380-WL16-000

WASHER

SN: 1-282

1шт.

40

380-H26-0000

NUT

SN: 1-282

1шт.

41

381-976195-1

STRAP

SN: 1-282

1шт.

42

381-976197-1

STRAP

SN: 1-UP

1шт.

44

381-877601-1

INDICATOR

SN: 1-UP

1шт.

45

380-145720-1

BAND

SN: 1-UP

2шт.

46

380-213773-1

VALVE

SN: 283-UP

1шт.

47

381-898918-1

CLAMP

SN: 283-UP

1шт.

Выбрано товаров: 60